GM Service Manual Online
For 1990-2009 cars only
Connector 1: Electronic Suspension Control (ESC) Module
Connector 2: Suspension Damper Solenoid - Left Front
Connector 3: Suspension Damper Solenoid - Left Rear
Connector 4: Suspension Damper Solenoid - Right Front
Connector 5: Suspension Damper Solenoid - Right Rear
Connector 6: Suspension Position Sensor - Left Front
Connector 7: Suspension Position Sensor - Left Rear
Connector 8: Suspension Position Sensor - Right Front
Connector 9: Suspension Position Sensor - Right Rear

Electronic Suspension Control (ESC) Module


Object Number: 1711002  Size: CH

Connector Part Information

  • OEM: 15491307
  • Service: 89047377
  • Description: 47-Way F ASG Series (BK)

Terminal Part Information

  • Pins: 2-15, 17-31, 33-46
  • Terminal/Tray: 7116-3703-02/14
  • Core/Insulation Crimp: 9/9
  • Release Tool/Test Probe: J-38125-215/J-35616-64B (L-BU)
  • Pins: 32, 47
  • Terminal/Tray: 15455571/23
  • Core/Insulation Crimp: F/3
  • Release Tool/Test Probe: 15315247/J-35616-42 (RD)

Electronic Suspension Control (ESC) Module

Pin

Wire Color

Circuit No.

Function

1

--

--

Not Used

2

PU/WH

1205

5-Volt Reference

3

PU

1211

5-Volt Reference

4

OG

1208

5-Volt Reference

5

OG/BK

1214

5-Volt Reference

6

GY

6076

5-Volt Reference

7

--

--

Not Used

8

WH

320

Automatic Level Control Exhaust Solenoid Control

9

L-BU/WH

1112

Damping Relay Coil Control

10

--

--

Not Used

11

L-GN/BK

1215

Low Reference

12

BN

6077

Low Reference

13-16

--

--

Not Used

17

TN/WH

1207

Left Front Suspension Position Sensor Signal

18

TN

1213

Right Front Suspension Position Sensor Signal

19

L-GN/WH

1216

Right Rear Suspension Position Sensor Signal

20-23

--

--

Not Used

24

TN

2501

High Speed GMLAN Serial Data Bus-

25

TN/BK

2500

High Speed GMLAN Serial Data Bus+

26

L-BU/BK

1212

Low Reference

27

L-GN/BK

1209

Low Reference

28

D-GN

1115

Low Reference

29

GY/BK

1117

Low Reference

30

GY

1113

Low Reference

31

L-BU

5986

Serial Data Communication Enable

32

RD/BK

2440

Battery Positive Voltage

33

L-GN/WH

1210

Left Rear Suspension Position Sensor Signal

34

TN

6075

Real Time Damping Air Pressure Sensor Signal

35-38

--

--

Not Used

39

TN

2501

High Speed GMLAN Serial Data Bus-

40

TN/BK

2500

High Speed GMLAN Serial Data Bus+

41

L-BU/BK

1206

Low Reference

42

D-BU/BK

1118

Right Rear Damper Control

43

D-BU/WH

1114

Left Rear Damper Control

44

D-GN

1119

Low Reference

45

L-BU/BK

1116

Right Front Damper Control

46

L-BU/WH

1107

Left Front Damper Control

47

BK

1750

Ground

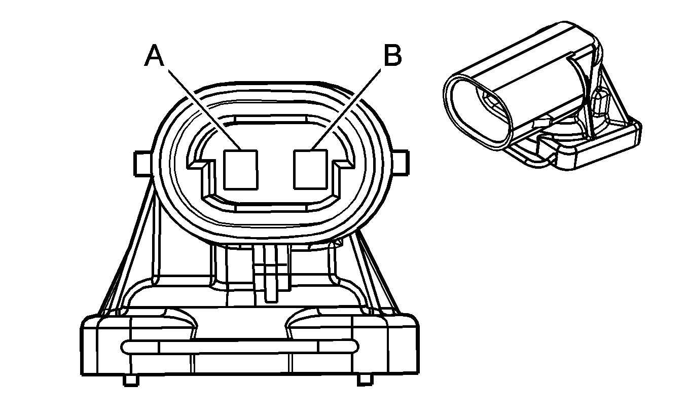
Suspension Damper Solenoid - Left Front


Object Number: 287974  Size: CH

Object Number: 1486322  Size: CH

Connector Part Information

  • OEM: 15305168
  • Service: 88953232
  • Description: 2-Way F Metri-Pack 150 Series (GY)
  • Suspension Damper Adapter
  • OEM: 15359261
  • Service: 88953232
  • Description: 2-Way M Metri-Pack 150 Series (GY)

Terminal Part Information

  • Terminal/Tray: 12048074/2
  • Core/Insulation Crimp: E/1
  • Release Tool/Test Probe: 12094429/J-35616-2A (GY)

Suspension Damper Solenoid - Left Front

Pin

Wire Color

Circuit No.

Function

A

L-BU/WH

1107

Left Front Damper Control

B

GY

1113

Low Reference

Suspension Damper Solenoid - Left Rear


Object Number: 655866  Size: CH

Connector Part Information

  • OEM: 15355009
  • Service: 15306332
  • Description: 2-Way F Metri-Pack 150.2 Series, Sealed, Pull To Seat (BK)

Terminal Part Information

  • Terminal/Tray: 12124075/5
  • Core/Insulation Crimp: E/C
  • Release Tool/Test Probe: 12180559-1/J-35616-2A (GY)

Suspension Damper Solenoid - Left Rear

Pin

Wire Color

Circuit No.

Function

A

D-BU/WH

1114

Left Rear Damper Control

B

D-GN

1115

Low Reference

Suspension Damper Solenoid - Right Front


Object Number: 287974  Size: CH

Object Number: 1486322  Size: CH

Connector Part Information

  • OEM: 15305168
  • Service: 12167117
  • Description: 2-Way F Metri-Pack 150 Series (GY)
  • Suspension Damper Adapter
  • OEM: 15359261
  • Service: 88953232
  • Description: 2-Way M Metri-Pack 150 Series (GY)

Terminal Part Information

  • Terminal/Tray: 12048074/2
  • Core/Insulation Crimp: E/1
  • Release Tool/Test Probe: 12094429/J-35616-2A (GY)

Suspension Damper Solenoid - Right Front

Pin

Wire Color

Circuit No.

Function

A

L-BU/BK

1116

Right Front Damper Control

B

GY/BK

1117

Low Reference

Suspension Damper Solenoid - Right Rear


Object Number: 655866  Size: CH

Connector Part Information

  • OEM: 15355009
  • Service: 15306332
  • Description: 2-Way F Metri-Pack 150.2 Series, Sealed, Pull To Seat (BK)

Terminal Part Information

  • Terminal/Tray: 12124075/5
  • Core/Insulation Crimp: E/C
  • Release Tool/Test Probe: 12180559-1/J-35616-2A (GY)

Suspension Damper Solenoid - Right Rear

Pin

Wire Color

Circuit No.

Function

A

D-BU/BK

1118

Right Rear Damper Control

B

D-GN

1119

Low Reference

Suspension Position Sensor - Left Front


Object Number: 1710996  Size: CH

Connector Part Information

  • OEM: 12162280
  • Service: 12085538
  • Description: 3-Way F Metri-Pack 150.2 Series (GY)

Terminal Part Information

  • Terminal/Tray: 12124075/5
  • Core/Insulation Crimp: E/C
  • Release Tool/Test Probe: 12180559-1/J-35616-2A (GY)

Suspension Position Sensor - Left Front

Pin

Wire Color

Circuit No.

Function

A

PU/WH

1205

5-Volt Reference

B

TN/WH

1207

Left Front Suspension Position Sensor Signal

C

L-BU/BK

1206

Low Reference

Suspension Position Sensor - Left Rear


Object Number: 1710996  Size: CH

Connector Part Information

  • OEM: 12162280
  • Service: 12085538
  • Description: 3-Way F Metri-Pack 150.2 Series (GY)

Terminal Part Information

  • Terminal/Tray: 12124075/5
  • Core/Insulation Crimp: E/C
  • Release Tool/Test Probe: 12180559-1/J-35616-2A (GY)

Suspension Position Sensor - Left Rear

Pin

Wire Color

Circuit No.

Function

A

OG

1208

5-Volt Reference

B

L-GN/WH

1210

Left Rear Suspension Position Sensor Signal

C

L-GN/BK

1209

Low Reference

Suspension Position Sensor - Right Front


Object Number: 1710996  Size: CH

Connector Part Information

  • OEM: 12162280
  • Service: 12085538
  • Description: 3-Way F Metri-Pack 150.2 Series (GY)

Terminal Part Information

  • Terminal/Tray: 12124075/5
  • Core/Insulation Crimp: E/C
  • Release Tool/Test Probe: 12180559-1/J-35616-2A (GY)

Suspension Position Sensor - Right Front

Pin

Wire Color

Circuit No.

Function

A

PU

1211

5-Volt Reference

B

TN

1213

Right Front Suspension Position Sensor Signal

C

L-BU/BK

1212

Low Reference

Suspension Position Sensor - Right Rear


Object Number: 1710996  Size: CH

Connector Part Information

  • OEM: 12162280
  • Service: 12085538
  • Description: 3-Way F Metri-Pack 150.2 Series (GY)

Terminal Part Information

  • Terminal/Tray: 12124075/5
  • Core/Insulation Crimp: E/C
  • Release Tool/Test Probe: 12180559-1/J-35616-2A (GY)

Suspension Position Sensor - Right Rear

Pin

Wire Color

Circuit No.

Function

A

OG/BK

1214

Right Rear Suspension Position Sensor Voltage Reference

B

L-GN/WH

1216

Right Rear Suspension Position Sensor Signal

C

L-GN/BK

1215

Right Rear Suspension Position Sensor Low Reference