GM Service Manual Online
For 1990-2009 cars only
Connector 1: Ambient Light/Sunload Sensor Assembly (CJ2)
Connector 2: Ambient Light Sensor (CJ3)
Connector 3: Backup Lamp - Left Rear (X88/Z88)
Connector 4: Backup Lamp - Left Rear (Z75)
Connector 5: Backup Lamp - Right Rear (X88/Z88)
Connector 6: Backup Lamp - Right Rear (Z75)
Connector 7: Center High Mounted Stop Lamp (CHMSL)
Connector 8: Courtesy/Reading Lamp - Front
Connector 9: Courtesy/Reading Lamps - 2nd Row
Connector 10: Courtesy/Reading Lamps - 3rd Row (E52)
Connector 11: Daytime Running Lamp (DRL) - Left (X88)
Connector 12: Daytime Running Lamp (DRL) - Right (X88)
Connector 13: Dome Lamp (LWB w/E52)
Connector 14: Door Courtesy Lamp - Left Front (Z75)
Connector 15: Door Courtesy Lamp - Right Front (Z75)
Connector 16: Fog Lamp - Left Front (X88/Z88 w/T96)
Connector 17: Fog Lamp - Left Front (Z75)
Connector 18: Fog Lamp - Right Front (X88/Z88 w/T96)
Connector 19: Fog Lamp - Right Front (Z75)
Connector 20: Headlamp - High Beam - Left (X88)
Connector 21: Headlamp - High Beam - Right (X88)
Connector 22: Headlamp - Low Beam - Left (X88)
Connector 23: Headlamp - Low Beam - Right (X88)
Connector 24: Headlamp - Left (Z88)
Connector 25: Headlamp - Right (Z88)
Connector 26: Headlamp and Panel Dimmer Switch
Connector 27: License Lamp - Left
Connector 28: License Lamp - Right
Connector 29: Marker Lamp - Left Front (X88)
Connector 30: Marker Lamp - Left Front (Z88)
Connector 31: Marker Lamp - Right Front (X88)
Connector 32: Marker Lamp - Right Front (Z88)
Connector 33: Marker Lamp - Left Rear (X88)
Connector 34: Marker Lamp - Left Rear (Z88)
Connector 35: Marker Lamp - Right Rear (X88)
Connector 36: Marker Lamp - Right Rear (Z88)
Connector 37: Marker Lamp - Left Rear (X88 Except E52)
Connector 38: Marker Lamp - Right Rear (X88 Except E52)
Connector 39: Park/Turn Signal Lamp - Left Front (X88)
Connector 40: Park/Turn Signal Lamp - Left Front (Z88)
Connector 41: Park/Turn Signal Lamp - Right Front (X88)
Connector 42: Park/Turn Signal Lamp - Right Front (Z88)
Connector 43: Repeater Lamp - Left Front (TR2)
Connector 44: Repeater Lamp - Right Front (TR2)
Connector 45: Stop Lamp Switch
Connector 46: Sunshade - Left
Connector 47: Sunshade - Right
Connector 48: Tail Lamp Circuit Board - Left (Z75 w/E52)
Connector 49: Tail Lamp Circuit Board - Right (Z75 w/E52)
Connector 50: Tail, Stop, and Turn Signal Lamp - Lower Left (X88 Except E52)
Connector 51: Tail, Stop, and Turn Signal Lamp - Lower Right (X88 Except E52)
Connector 52: Tail/Turn Signal Lamp - Left (X88/Z88 w/E52)
Connector 53: Tail/Turn Signal Lamp - Right (X88/Z88 w/E52)
Connector 54: Tail, Stop, and Turn Signal Lamp - Upper Left (X88 Except E52)
Connector 55: Tail, Stop, and Turn Signal Lamp - Upper Right (X88 Except E52)
Connector 56: Tail/Stop Lamp - Left (X88/Z88 w/E52)
Connector 57: Tail/Stop Lamp - Right (X88/Z88 w/E52)
Connector 58: Trailer Connector
Connector 59: Turn Signal Lamp - Left Front (Z75)
Connector 60: Turn Signal Lamp - Right Front (Z75)
Connector 61: Turn Signal/Multifunction Switch C1
Connector 62: Turn Signal/Multifunction Switch C2
Connector 63: Turn Signal/Malfunction Switch C3
Connector 64: Turn Signal/Malfunction Switch C4

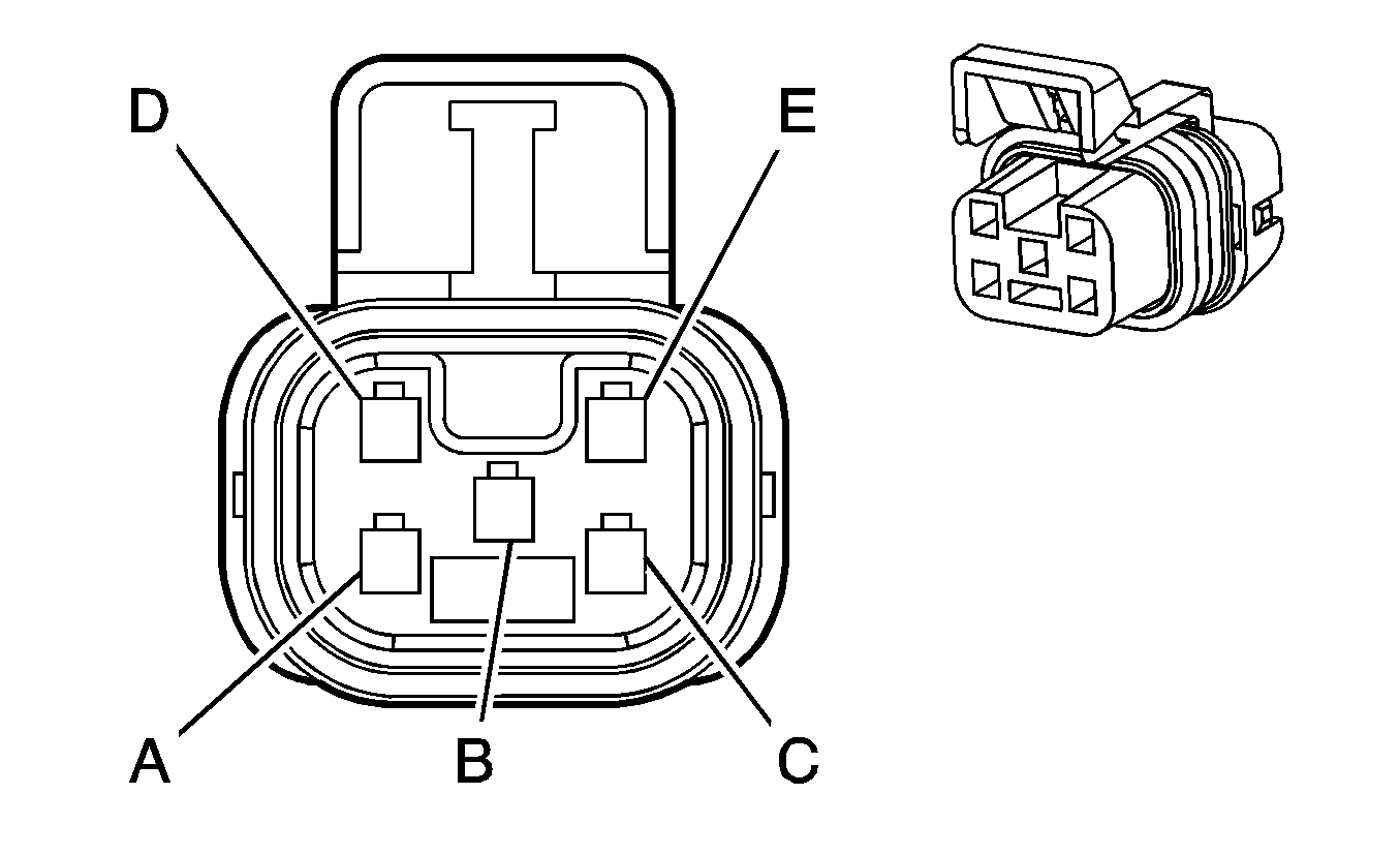
Ambient Light/Sunload Sensor Assembly (CJ2)


Object Number: 130637  Size: CH

Connector Part Information

  • OEM: 12064760
  • Service: 12085208
  • Description: 4-Way F Metri-Pack 150 Series (BK)

Terminal Part Information

  • Terminal/Tray: 12064971/5
  • Core/Insulation Crimp: E/C
  • Release Tool/Test Probe: 12094429/J-35616-2A (GY)

Ambient Light/Sunload Sensor Assembly (CJ2)

Pin

Wire Color

Circuit No.

Function

A

L-BU/BK

590

Driver Sunload Sensor Signal

B

GY

1548

Passenger Sunload Sensor Signal

C

BK/WH

1851

Ground

D

WH

278

Ambient Light Sensor Signal

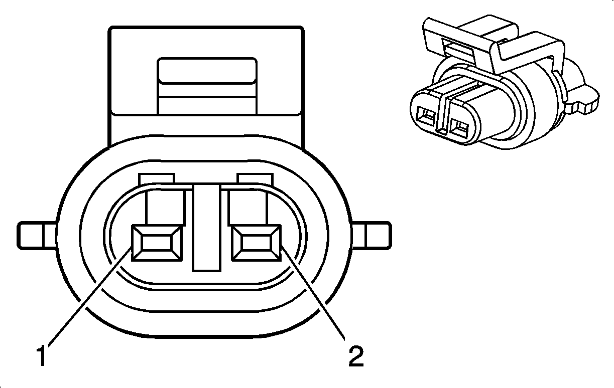
Ambient Light Sensor (CJ3)


Object Number: 82383  Size: CH

Connector Part Information

  • OEM: 12047662
  • Service: 12085535
  • Description: 2-Way F Metri-Pack 150 Series (BK)

Terminal Part Information

  • Terminal/Tray: 12064971/5
  • Core/Insulation Crimp: E/C
  • Release Tool/Test Probe: 12094429/J-35616-2A (GY)

Ambient Light Sensor (CJ3)

Pin

Wire Color

Circuit No.

Function

A

WH

278

Ambient Light Sensor Signal

B

BK/WH

1851

Ground

Backup Lamp - Left Rear (X88/Z88)


Object Number: 1540777  Size: CH

Connector Part Information

  • OEM: 0001072
  • Service: See Catalog
  • Description: 2-Way F Lamp Socket Base WBF (BK)

Terminal Part Information

  • Terminal/Tray: See Terminal Repair Kit
  • Core/Insulation Crimp: See Terminal Repair Kit
  • Release Tool/Test Probe: See Terminal Repair Kit

Backup Lamp - Left Rear (X88/Z88)

Pin

Wire Color

Circuit No.

Function

A

L-GN

24

Backup Lamp Supply Voltage

B

BK

1750

Ground

BK

1750

Ground

Backup Lamp - Left Rear (Z75)


Object Number: 744036  Size: CH

Connector Part Information

  • OEM: 15324946
  • Service: 88986416
  • Description: 2-Way F Lamp Socket Base W2 (GY)

Terminal Part Information

  • Terminal/Tray: See Terminal Repair Kit
  • Core/Insulation Crimp: See Terminal Repair Kit
  • Release Tool/Test Probe: See Terminal Repair Kit

Backup Lamp - Left Rear (Z75)

Pin

Wire Color

Circuit No.

Function

A

L-GN

24

Backup Lamp Supply Voltage

B

BK

1750

Ground

Backup Lamp - Right Rear (X88/Z88)


Object Number: 1540777  Size: CH

Connector Part Information

  • OEM: 0001072
  • Service: See catalog
  • Description: 2-Way F Lamp Socket Base WBF (BK)

Terminal Part Information

  • Terminal/Tray: See Terminal Repair Kit
  • Core/Insulation Crimp: See Terminal Repair Kit
  • Release Tool/Test Probe: See Terminal Repair Kit

Backup Lamp - Right Rear (X88/Z88)

Pin

Wire Color

Circuit No.

Function

A

L-GN

24

Backup Lamp Supply Voltage

B

BK

1750

Ground

BK

1750

Ground

Backup Lamp - Right Rear (Z75)


Object Number: 744036  Size: CH

Connector Part Information

  • OEM: 15324946
  • Service: 88986416
  • Description: 2-Way F Lamp Socket Base W2 (GY)

Terminal Part Information

  • Terminal/Tray: See Terminal Repair Kit
  • Core/Insulation Crimp: See Terminal Repair Kit
  • Release Tool/Test Probe: See Terminal Repair Kit

Backup Lamp - Right Rear (Z75)

Pin

Wire Color

Circuit No.

Function

A

L-GN

24

Backup Lamp Supply Voltage

B

BK

1750

Ground

Center High Mounted Stop Lamp (CHMSL)


Object Number: 1538760  Size: CH

Connector Part Information

  • OEM: 15449028
  • Service: 88987993
  • Description: 2-Way F GT 150 Series, Sealed (BK)

Terminal Part Information

  • Terminal/Tray: 15326267/19
  • Core/Insulation Crimp: E/4
  • Release Tool/Test Probe: 15315247/J-35616-2A (GY)

Center High Mounted Stop Lamp (CHMSL)

Pin

Wire Color

Circuit No.

Function

A

L-BU

1320

CHMSL Supply Voltage

B

BK

1450

Ground

Courtesy/Reading Lamp - Front


Object Number: 333035  Size: CH

Connector Part Information

  • OEM: 12047781
  • Service: 12101864
  • Description: 3-Way F Metri-Pack 150 Series (BK)

Terminal Part Information

  • Terminal/Tray: 12064971/5
  • Core/Insulation Crimp: E/C
  • Release Tool/Test Probe: 12094429/J-35616-2A (GY)

Courtesy/Reading Lamp - Front

Pin

Wire Color

Circuit No.

Function

A

OG

6815

Inadvertent Power Control

B

BK

1050

Ground

C

GY

157

Interior Lamp Control

Courtesy/Reading Lamps - 2nd Row


Object Number: 333035  Size: CH

Connector Part Information

  • OEM: 12047781
  • Service: 12101864
  • Description: 3-Way F Metri-Pack 150 Series (BK)

Terminal Part Information

  • Terminal/Tray: 12064971/5
  • Core/Insulation Crimp: E/C
  • Release Tool/Test Probe: 12094429/J-35616-2A (GY)

Courtesy/Reading Lamps - 2nd Row

Pin

Wire Color

Circuit No.

Function

A

GY

157

Interior Lamp Control

B

BK

1050

Ground

C

OG

6815

Inadvertent Power Control

Courtesy/Reading Lamps - 3rd Row (E52)


Object Number: 333035  Size: CH

Connector Part Information

  • OEM: 12047781
  • Service: 12101864
  • Description: 3-Way F Metri-Pack 150 Series (BK)

Terminal Part Information

  • Terminal/Tray: 12064971/5
  • Core/Insulation Crimp: E/C
  • Release Tool/Test Probe: 12094429/J-35616-2A (GY)

Courtesy/Reading Lamps - 3rd Row (E52)

Pin

Wire Color

Circuit No.

Function

A

GY

157

Interior Lamp Control

B

BK

1050

Ground

C

OG

6815

Inadvertent Power Control

Daytime Running Lamp (DRL) - Left (X88)


Object Number: 1694736  Size: CH

Connector Part Information

  • OEM: 101350G
  • Service: See Catalog
  • Description: 3-Way F CIC W3 Socket (BK)

Terminal Part Information

  • Terminal/Tray: See Terminal Repair Kit
  • Core/Insulation Crimp: See Terminal Repair Kit
  • Release Tool/Test Probe: See Terminal Repair Kit

Daytime Running Lamp (DRL) - Left (X88)

Pin

Wire Color

Circuit No.

Function

A

D-BU

545

DRL Supply Voltage

B

--

--

Not Used

C

BK

150

Ground

BK

150

Ground

Daytime Running Lamp (DRL) - Right (X88)


Object Number: 1694736  Size: CH

Connector Part Information

  • OEM: 101350G
  • Service: See Catalog
  • Description: 3-Way F CIC W3 Socket (BK)

Terminal Part Information

  • Terminal/Tray: See Terminal Repair Kit
  • Core/Insulation Crimp: See Terminal Repair Kit
  • Release Tool/Test Probe: See Terminal Repair Kit

Daytime Running Lamp (DRL) - Right (X88)

Pin

Wire Color

Circuit No.

Function

A

D-BU

545

DRL Supply Voltage

B

--

--

Not Used

C

BK

250

Ground

BK

250

Ground

Dome Lamp (LWB w/E52)


Object Number: 333035  Size: CH

Connector Part Information

  • OEM: 12047781
  • Service: 12101864
  • Description: 3-Way F Metri-Pack 150 Series (BK)

Terminal Part Information

  • Terminal/Tray: 12064971/5
  • Core/Insulation Crimp: E/C
  • Release Tool/Test Probe: 12094429/J-35616-2A (GY)

Dome Lamp (LWB w/E52)

Pin

Wire Color

Circuit No.

Function

A

GY

157

Interior Lamp Control

B

BK

1450

Ground

C

--

--

Not Used

Door Courtesy Lamp - Left Front (Z75)


Object Number: 82383  Size: CH

Connector Part Information

  • OEM: 12047662
  • Service: 12085535
  • Description: 2-Way F Metri-Pack 150 Series (BK)

Terminal Part Information

  • Terminal/Tray: 12064971/5
  • Core/Insulation Crimp: E/C
  • Release Tool/Test Probe: 12094429/J-35616-2A (GY)

Door Courtesy Lamp - Left Front (Z75)

Pin

Wire Color

Circuit No.

Function

A

D-BU

660

Left Courtesy Lamp Control

B

BK

1050

Ground

Door Courtesy Lamp - Right Front (Z75)


Object Number: 82383  Size: CH

Connector Part Information

  • OEM: 12047662
  • Service: 12085535
  • Description: 2-Way F Metri-Pack 150 Series (BK)

Terminal Part Information

  • Terminal/Tray: 12064971/5
  • Core/Insulation Crimp: E/C
  • Release Tool/Test Probe: 12094429/J-35616-2A (GY)

Door Courtesy Lamp - Right Front (Z75)

Pin

Wire Color

Circuit No.

Function

A

L-BU

661

Right Courtesy Lamp Control

B

BK

1050

Ground

Fog Lamp - Left Front (X88/Z88 w/T96)


Object Number: 1711019  Size: CH

Connector Part Information

  • OEM: 15489797
  • Service: 19149215
  • Description: 2-Way F GT Flex Beam 150 Series, Sealed (BK)

Terminal Part Information

  • Terminal/Tray: 15496531/8
  • Core/Insulation Crimp: 2/A
  • Release Tool/Test Probe: J-38125-29/J-35616-2A (GY)

Fog Lamp - Left Front (X88/Z88 w/T96)

Pin

Wire Color

Circuit No.

Function

A

PU

2234

Front Fog Lamp Supply Voltage

B

BK

150

Ground

Fog Lamp - Left Front (Z75)


Object Number: 684797  Size: CH

Connector Part Information

  • OEM: 12059183
  • Service: 12101898
  • Description: 2-Way F Metri-Pack 280 Series, Sealed (BK)

Terminal Part Information

  • Terminal/Tray: 12077411/2
  • Core/Insulation Crimp: 2/5
  • Release Tool/Test Probe: 12094430/J-35616-4A (PU)

Fog Lamp - Left Front (Z75)

Pin

Wire Color

Circuit No.

Function

A

PU

2234

Front Fog Lamp Supply Voltage

B

BK

150

Ground

Fog Lamp - Right Front (X88/Z88 w/T96)


Object Number: 1711019  Size: CH

Connector Part Information

  • OEM: 15489797
  • Service: 19149215
  • Description: 2-Way F GT Flex Beam 150 Series, Sealed (BK)

Terminal Part Information

  • Terminal/Tray: 15496531/8
  • Core/Insulation Crimp: 2/A
  • Release Tool/Test Probe: J-38125-29/J-35616-2A (GY)

Fog Lamp - Right Front (X88/Z88 w/T96)

Pin

Wire Color

Circuit No.

Function

A

PU

2234

Front Fog Lamp Supply Voltage

B

BK

150

Ground

Fog Lamp - Right Front (Z75)


Object Number: 684797  Size: CH

Connector Part Information

  • OEM: 12059183
  • Service: 12101898
  • Description: 2-Way F Metri-Pack 280 Series, Sealed (BK)

Terminal Part Information

  • Terminal/Tray: 12077411/2
  • Core/Insulation Crimp: 2/5
  • Release Tool/Test Probe: 12094430/J-35616-4A (PU)

Fog Lamp - Right Front (Z75)

Pin

Wire Color

Circuit No.

Function

A

PU

2234

Front Fog Lamp Supply Voltage

B

BK

150

Ground

Headlamp - High Beam - Left (X88)


Object Number: 684797  Size: CH

Connector Part Information

  • OEM: 12059183
  • Service: 12101898
  • Description: 2-Way F Metri-Pack 280 Series, Sealed (BK)

Terminal Part Information

  • Terminal/Tray: 12077411/2
  • Core/Insulation Crimp: 2/5
  • Release Tool/Test Probe: 12094430/J-35616-4A (PU)

Headlamp - High Beam - Left (X88)

Pin

Wire Color

Circuit No.

Function

A

BK

150

Ground

B

D-GN/WH

711

Left Headlamp High Beam Supply Voltage

Headlamp - High Beam - Right (X88)


Object Number: 684797  Size: CH

Connector Part Information

  • OEM: 12059183
  • Service: 12101898
  • Description: 2-Way F Metri-Pack 280 Series, Sealed (BK)

Terminal Part Information

  • Terminal/Tray: 12077411/2
  • Core/Insulation Crimp: 2/5
  • Release Tool/Test Probe: 12094430/J-35616-4A (PU)

Headlamp - High Beam - Right (X88)

Pin

Wire Color

Circuit No.

Function

A

BK

150

Ground

B

D-GN/WH

311

Right Headlamp High Beam Supply Voltage

Headlamp - Low Beam - Left (X88)


Object Number: 1413064  Size: CH

Connector Part Information

  • OEM: 12124819
  • Service: 12085498
  • Description: 2-Way F Metri-Pack 280 Series, Sealed (BK)

Terminal Part Information

  • Terminal/Tray: See Terminal Repair Kit
  • Core/Insulation Crimp: See Terminal Repair Kit
  • Release Tool/Test Probe: See Terminal Repair Kit

Headlamp - Low Beam - Left (X88)

Pin

Wire Color

Circuit No.

Function

A

BK

150

Ground

B

YE

712

Left Headlamp Low Beam Supply Voltage

Headlamp - Low Beam - Right (X88)


Object Number: 1413064  Size: CH

Connector Part Information

  • OEM: 12124819
  • Service: 12085498
  • Description: 2-Way F Metri-Pack 280 Series, Sealed (BK)

Terminal Part Information

  • Terminal/Tray: See Terminal Repair Kit
  • Core/Insulation Crimp: See Terminal Repair Kit
  • Release Tool/Test Probe: See Terminal Repair Kit

Headlamp - Low Beam - Right (X88)

Pin

Wire Color

Circuit No.

Function

A

BK

150

Ground

B

YE

312

Right Headlamp Low Beam Supply Voltage

Headlamp - Left (Z88)


Object Number: 1710977  Size: CH

Connector Part Information

  • OEM: 13511996
  • Service: 19149288
  • Description: 3-Way F GT 150 Series, Sealed (GY)

Terminal Part Information

  • Terminal/Tray: 12191819/8
  • Core/Insulation Crimp: 2/A
  • Release Tool/Test Probe: 15315247/J-35616-2A (GY)

Headlamp - Left (Z88)

Pin

Wire Color

Circuit No.

Function

1

YE

712

Left Headlamp Low Beam Supply Voltage

2

BK

150

Ground

3

D-GN/WH

711

Left Headlamp High Beam Supply Voltage

Headlamp - Right (Z88)


Object Number: 1710977  Size: CH

Connector Part Information

  • OEM: 13511996
  • Service: 19149288
  • Description: 3-Way F GT 150 Series Sealed (GY)

Terminal Part Information

  • Terminal/Tray: 12191819/8
  • Core/Insulation Crimp: 2/A
  • Release Tool/Test Probe: 15315247/J-35616-2A (GY)

Headlamp - Right (Z88)

Pin

Wire Color

Circuit No.

Function

1

TN/WH

312

Right Headlamp Low Beam Supply Voltage

2

BK

250

Ground

3

L-GN/BK

311

Right Headlamp High Beam Supply Voltage

Headlamp and Panel Dimmer Switch


Object Number: 850856  Size: CH

Connector Part Information

  • OEM: 15416970
  • Service: 22715969
  • Description: 16-Way F Micro-Pack 64 Series (BK)

Terminal Part Information

  • Terminal/Tray: 15359541/4
  • Core/Insulation Crimp: M/M
  • Release Tool/Test Probe: 15381651-2/J-35616-64B (L-BU)

Headlamp and Panel Dimmer Switch

Pin

Wire Color

Circuit No.

Function

1

WH

103

Headlamp Switch On Signal

2

L-BU

13

Headlamp Switch Park Lamp Signal

3

D-GN

306

Headlamp Switch Headlamps Off Signal

4-5

--

--

Not Used

6

L-BU

187

Rear Fog Lamp Switch Signal (Export)

7

BN/WH

230

Instrument Panel Lamp Dimming Control (X88/Z88)

YE

6817

LED Backlight Dimming Control (Z75)

8

BK

1850

Ground

9

PU

328

Interior Lamp Switch Voltage Supply Voltage

10

OG

192

Front Fog Lamp Switch Signal (T96)

11

--

--

Not Used

12

D-BU/WH

149

Courtesy Lamp Supply Voltage

13

D-GN

44

Instrument Panel Lamps Dimmer Switch Signal

14

--

--

Not Used

15

OG/WH

812

12-Volt Reference or I/P Dimming Voltage Reference

16

--

--

Not Used

License Lamp - Left


Object Number: 744036  Size: CH

Connector Part Information

  • OEM: 12110053
  • Service: 88986416
  • Description: 2-Way F Lamp Socket Wedge Base W2 (D-GY)

Terminal Part Information

  • Terminal/Tray: 12124471/5
  • Core/Insulation Crimp: 2/3
  • Release Tool/Test Probe: 12094430 / J-35616-2A (GY)

License Lamp - Left

Pin

Wire Color

Circuit No.

Function

A

BN

2509

Left Rear Park Lamps Supply Voltage

B

BK

1450

Ground (E52)

BK

1750

Ground (Except E52)

License Lamp - Right


Object Number: 744036  Size: CH

Connector Part Information

  • OEM: 12110053
  • Service: 88986416
  • Description: 2-Way F Lamp Socket Wedge Base W2 (D-GY)

Terminal Part Information

  • Terminal/Tray: 12124471/5
  • Core/Insulation Crimp: 2/3
  • Release Tool/Test Probe: 12094430 /J-35616-2A (GY)

License Lamp - Right

Pin

Wire Color

Circuit No.

Function

A

BN

2509

Left Rear Park Lamps Supply Voltage

B

BK

1450

Ground (E52)

BK

1750

Ground (Except E52)

Marker Lamp - Left Front (X88)


Object Number: 744036  Size: CH

Connector Part Information

  • OEM: 15324946
  • Service: 88986416
  • Description: 2-Way F Lamp Socket Base W2 (BK)

Terminal Part Information

  • Terminal/Tray: See Terminal Repair Kit
  • Core/Insulation Crimp: See Terminal Repair Kit
  • Release Tool/Test Probe: See Terminal Repair Kit

Marker Lamp - Left Front (X88)

Pin

Wire Color

Circuit No.

Function

A

BN

2509

Left Park Lamps Supply Voltage

B

BK

250

Ground

Marker Lamp - Left Front (Z88)


Object Number: 1860844  Size: CH

Connector Part Information

  • OEM: 7112-534-4WB
  • Service: See Catalog
  • Description: 2-Way Lamp Socket (GY)

Terminal Part Information

  • Terminal/Tray: See Terminal Repair Kit
  • Core/Insulation Crimp: See Terminal Repair Kit
  • Release Tool/Test Probe: See Terminal Repair Kit

Marker Lamp - Left Front (Z88)

Pin

Wire Color

Circuit No.

Function

A

BN

2509

Left Rear Park Lamps Supply Voltage

B

BK

1750

Ground

Marker Lamp - Right Front (X88)


Object Number: 744036  Size: CH

Connector Part Information

  • OEM: 15324946
  • Service: 88986416
  • Description: 2-Way F Lamp Socket Base W2 (BK)

Terminal Part Information

  • Terminal/Tray: See Terminal Repair Kit
  • Core/Insulation Crimp: See Terminal Repair Kit
  • Release Tool/Test Probe: See Terminal Repair Kit

Marker Lamp - Right Front (X88)

Pin

Wire Color

Circuit No.

Function

A

BN

2609

Right Park Lamps Supply Voltage

B

BK

250

Ground

Marker Lamp - Right Front (Z88)


Object Number: 1860844  Size: CH

Connector Part Information

  • OEM: 7112-534-4WB
  • Service: See Catalog
  • Description: 2-Way Lamp Socket (GY)

Terminal Part Information

  • Terminal/Tray: See Terminal Repair Kit
  • Core/Insulation Crimp: See Terminal Repair Kit
  • Release Tool/Test Probe: See Terminal Repair Kit

Marker Lamp - Right Front (Z88)

Pin

Wire Color

Circuit No.

Function

A

BN

2609

Right Rear Park Lamps Supply Voltage

B

BK

1750

Ground

Marker Lamp - Left Rear (X88)


Object Number: 744036  Size: CH

Connector Part Information

  • OEM: 15324946
  • Service: 88986416
  • Description: 2-Way F Lamp Socket Base W2 (BK)

Terminal Part Information

  • Terminal/Tray: See Terminal Repair Kit
  • Core/Insulation Crimp: See Terminal Repair Kit
  • Release Tool/Test Probe: See Terminal Repair Kit

Marker Lamp - Left Rear (X88)

Pin

Wire Color

Circuit No.

Function

A

BN

2509

Left Rear Park Lamps Supply Voltage

BN

2509

Left Rear Park Lamps Supply Voltage

B

BK

1750

Ground

BK

1750

Ground

Marker Lamp - Left Rear (Z88)


Object Number: 635009  Size: CH

Connector Part Information

  • OEM: 12052641
  • Service: 12102747
  • Description: 2-Way FMetri-Pack 150 Series, Sealed (BK)

Terminal Part Information

  • Terminal/Tray: See Terminal Repair Kit
  • Core/Insulation Crimp: See Terminal Repair Kit
  • Release Tool/Test Probe: See Terminal Repair Kit

Marker Lamp - Left Rear (Z88)

Pin

Wire Color

Circuit No.

Function

A

BN

2509

Left Rear Park Lamps Supply Voltage

B

BK

1750

Ground

Marker Lamp - Right Rear (X88)


Object Number: 744036  Size: CH

Connector Part Information

  • OEM: 15324946
  • Service: 88986416
  • Description: 2-Way F Lamp Socket Base W2 (BK)

Terminal Part Information

  • Terminal/Tray: See Terminal Repair Kit
  • Core/Insulation Crimp: See Terminal Repair Kit
  • Release Tool/Test Probe: See Terminal Repair Kit

Marker Lamp - Right Rear (X88)

Pin

Wire Color

Circuit No.

Function

A

BN

2609

Right Rear Park Lamps Supply Voltage

BN

2609

Right Rear Park Lamps Supply Voltage

B

BK

1750

Ground

BK

1750

Ground

Marker Lamp - Right Rear (Z88)


Object Number: 635009  Size: CH

Connector Part Information

  • OEM: 12052641
  • Service: 12102747
  • Description: 2-Way F Metri-Pack 150 Series, Sealed (GY)

Terminal Part Information

  • Terminal/Tray: See Terminal Repair Kit
  • Core/Insulation Crimp: See Terminal Repair Kit
  • Release Tool/Test Probe: See Terminal Repair Kit

Marker Lamp - Right Rear (Z88)

Pin

Wire Color

Circuit No.

Function

A

BN

2609

Right Rear Park Lamps Supply Voltage

B

BK

1750

Ground

Marker Lamp - Left Rear (X88 Except E52)


Object Number: 635009  Size: CH

Connector Part Information

  • OEM: 12052641
  • Service: 12102747
  • Description: 2-Way F Metri-Pack 150 Series Sealed (BK)

Terminal Part Information

  • Terminal/Tray: See Terminal Repair Kit
  • Core/Insulation Crimp: See Terminal Repair Kit
  • Release Tool/Test Probe: See Terminal Repair Kit

Marker Lamp - Right Rear (X88 Except E52)

Pin

Wire Color

Circuit No.

Function

A

BN

2609

Right Rear Park Lamps Supply Voltage

BN

2609

Right Rear Park Lamps Supply Voltage

B

BK

1750

Ground

BK

1750

Ground

Marker Lamp - Right Rear (X88 Except E52)


Object Number: 635009  Size: CH

Connector Part Information

  • OEM: 12052641
  • Service: 12102747
  • Description: 2-Way F Metri-Pack 150 Series Sealed (GY)

Terminal Part Information

  • Terminal/Tray: See Terminal Repair Kit
  • Core/Insulation Crimp: See Terminal Repair Kit
  • Release Tool/Test Probe: See Terminal Repair Kit

Marker Lamp - Right Rear (X88 Except E52)

Pin

Wire Color

Circuit No.

Function

A

BN

2609

Right Rear Park Lamps Supply Voltage

BN

2609

Right Rear Park Lamps Supply Voltage

B

BK

1750

Ground

BK

1750

Ground

Park/Turn Signal Lamp - Left Front (X88)


Object Number: 1694736  Size: CH

Connector Part Information

  • OEM: 1013509
  • Service: See Catalog
  • Description: 3-Way F Lamp Socket Base W3 (BK)

Terminal Part Information

  • Terminal/Tray: See Terminal Repair Kit
  • Core/Insulation Crimp: See Terminal Repair Kit
  • Release Tool/Test Probe: See Terminal Repair Kit

Park/Turn Signal Lamp - Left Front (X88)

Pin

Wire Color

Circuit No.

Function

A

L-BU/WH

1314

Left Front Turn Signal Lamp Supply Voltage

B

BN

2509

Left Front Park Lamp Supply Voltage

BN

2509

Left Front Park Lamp Supply Voltage

C

BK

150

Ground

BK

150

Ground

Park/Turn Signal Lamp - Left Front (Z88)


Object Number: 1717007  Size: CH

Connector Part Information

  • OEM: 16530670
  • Service: See Catalog
  • Description: 3-Way F Lamp Socket (BK)

Terminal Part Information

  • Terminal/Tray: See Terminal Repair Kit
  • Core/Insulation Crimp: See Terminal Repair Kit
  • Release Tool/Test Probe: See Terminal Repair Kit

Park/Turn Signal Lamp - Left Front (Z88)

Pin

Wire Color

Circuit No.

Function

A

BN

2509

Left Front Park Lamp Supply Voltage

BN

2509

Left Front Park Lamp Supply Voltage

B

L-BU

1314

Left Front Turn Signal Lamp Supply Voltage

G

BK

150

Ground

BK

150

Ground

Park/Turn Signal Lamp - Right Front (X88)


Object Number: 1694736  Size: CH

Connector Part Information

  • OEM: 1013509
  • Service: See Catalog
  • Description: 3-Way F Lamp Socket Base W3 (L-GY)

Terminal Part Information

  • Terminal/Tray: See Terminal Repair Kit
  • Core/Insulation Crimp: See Terminal Repair Kit
  • Release Tool/Test Probe: See Terminal Repair Kit

Park/Turn Signal Lamp - Right Front (X88)

Pin

Wire Color

Circuit No.

Function

A

L-BU/WH

1315

Right Front Turn Signal Lamp Supply Voltage

B

BN

2509

Right Front Park Lamp Supply Voltage

BN

2509

Right Front Park Lamp Supply Voltage

C

BK

150

Ground

BK

150

Ground

Park/Turn Signal Lamp - Right Front (Z88)


Object Number: 1717007  Size: CH

Connector Part Information

  • OEM: 16530670
  • Service: See Catalog
  • Description: 3-Way F Lamp Socket Base (BK)

Terminal Part Information

  • Terminal/Tray: See Terminal Repair Kit
  • Core/Insulation Crimp: See Terminal Repair Kit
  • Release Tool/Test Probe: See Terminal Repair Kit

Park/Turn Signal Lamp - Right Front (Z88)

Pin

Wire Color

Circuit No.

Function

A

BN

2609

Right Front Park Lamp Supply Voltage

BN

2609

Right Front Park Lamp Supply Voltage

B

L-BU

1315

Right Front Turn Signal Lamp Supply Voltage

G

BK

250

Ground

BK

250

Ground

Repeater Lamp - Left Front (TR2)


Object Number: 1243632  Size: CH

Connector Part Information

  • OEM: 15336195
  • Service: 88988136
  • Description: 2-Way F GT 150 Series, Sealed (BK)

Terminal Part Information

  • Terminal/Tray: 12191819/8
  • Core/Insulation Crimp: 2/A
  • Release Tool/Test Probe: 15315247/J-35616-2A (GY)

Repeater Lamp - Left Front (TR2)

Pin

Wire Color

Circuit No.

Function

1

YE/BK

1334

Left Rear Turn Signal Lamp Supply Voltage

2

BK

150

Ground

Repeater Lamp - Right Front (TR2)


Object Number: 1243632  Size: CH

Connector Part Information

  • OEM: 15336195
  • Service: 88988136
  • Description: 2-Way F GT 150 Series, Sealed (BK)

Terminal Part Information

  • Terminal/Tray: 12191819/8
  • Core/Insulation Crimp: 2/A
  • Release Tool/Test Probe: 15315247/J-35616-2A (GY)

Repeater Lamp - Right Front (TR2)

Pin

Wire Color

Circuit No.

Function

1

YE/BK

1334

Left Rear Turn Signal Lamp Supply Voltage

2

BK

150

Ground

Stop Lamp Switch


Object Number: 1711023  Size: CH

Connector Part Information

  • OEM: 15466671
  • Service: 19149301
  • Description: 4-Way F GT 280 Series (L-GY)

Terminal Part Information

  • Terminal/Tray: 15304711/8
  • Core/Insulation Crimp: E/A
  • Release Tool/Test Probe: 15315247/J-35616-4A (PU)

Stop Lamp Switch

Pin

Wire Color

Circuit No.

Function

A

L-BU/WH

6311

Cruise/ETC/TCC Brake Signal

B

PK

239

Ignition 1 Voltage

C

OG/WH

812

12-Volt Reference or I/P Dimming Voltage Reference

D

PU

7062

Brake Pedal Switch Normally Closed Contact Signal

Sunshade - Left


Object Number: 35441  Size: CH

Connector Part Information

  • OEM: 12047663
  • Service: 12085481
  • Description: 2-Way M Metri-Pack 150 Series (BK)

Terminal Part Information

  • Terminal/Tray: 12047581/2
  • Core/Insulation Crimp: E/C
  • Release Tool/Test Probe: 12094429/J-35616-3 (GY)

Sunshade - Left

Pin

Wire Color

Circuit No.

Function

A

OG

6815

Inadvertent Power Control

B

BK

1050

Ground

Sunshade - Right


Object Number: 35441  Size: CH

Connector Part Information

  • OEM: 12047663
  • Service: 12085481
  • Description: 2-Way M Metri-Pack 150 Series (BK)

Terminal Part Information

  • Terminal/Tray: 12047581/2
  • Core/Insulation Crimp: E/C
  • Release Tool/Test Probe: 12094429/J-35616-3 (GY)

Sunshade - Right

Pin

Wire Color

Circuit No.

Function

A

OG

6815

Inadvertent Power Control

B

BK

1050

Ground

Tail Lamp Circuit Board - Left (Z75 w/E52)


Object Number: 1333935  Size: CH

Connector Part Information

  • OEM: 12077591
  • Service: 12117277
  • Description: 5-Way F Metri-Pack 150 Series, Sealed (BK)

Terminal Part Information

  • Terminal/Tray: See Terminal Repair Kit
  • Core/Insulation Crimp: See Terminal Repair Kit
  • Release Tool/Test Probe: See Terminal Repair Kit

Tail Lamp Circuit Board - Left (Z75 w/E52)

Pin

Wire Color

Circuit No.

Function

A

BN

2509

Left Rear Park Lamps Supply Voltage

B

--

--

Not Used

C

YE

5356

Left Tail Lamp Outage Detection Signal

D

BK

1750

Ground

E

YE

18

Left Rear Stop/Turn Lamp Supply Voltage

Tail Lamp Circuit Board - Right (Z75 w/E52)


Object Number: 1333935  Size: CH

Connector Part Information

  • OEM: 12077591
  • Service: 12117277
  • Description: 5-Way F Metri-Pack 150 Series, Sealed (BK)

Terminal Part Information

  • Terminal/Tray: See Terminal Repair Kit
  • Core/Insulation Crimp: See Terminal Repair Kit
  • Release Tool/Test Probe: See Terminal Repair Kit

Tail Lamp Circuit Board - Right (Z75 w/E52)

Pin

Wire Color

Circuit No.

Function

A

BN

2609

Right Rear Park Lamps Supply Voltage

B

--

--

Not Used

C

PU

5357

Right Tail Lamp Outage Detection Signal

D

BK

1750

Ground

E

D-GN

19

Right Rear Stop/Turn Lamp Supply Voltage

Tail, Stop, and Turn Signal Lamp - Lower Left (X88 Except E52)


Object Number: 1860839  Size: CH

Connector Part Information

  • OEM: 7822-2540-A44
  • Service: See Catalog
  • Description: 3-Way Lamp Socket Wedge Base W3 (BK)

Terminal Part Information

  • Terminal/Tray: See Terminal Repair Kit
  • Core/Insulation Crimp: See Terminal Repair Kit
  • Release Tool/Test Probe: See Terminal Repair Kit

Tail, Stop, and Turn Signal Lamp - Lower Left (X88 Except E52)

Pin

Wire Color

Circuit No.

Function

MAJ

YE

19

Left Rear Stop/Turn Signal Lamp Supply Voltage

YE

19

Left Rear Stop/Turn Signal Lamp Supply Voltage

MIN

BN

2509

Left Rear Park Lamps Supply Voltage

BN

2509

Left Rear Park Lamps Supply Voltage

GND

BK

1750

Ground

BK

1750

Ground

Tail, Stop, and Turn Signal Lamp - Lower Right (X88 Except E52)


Object Number: 1860839  Size: CH

Connector Part Information

  • OEM: 7822-2540-A44
  • Service: See Catalog
  • Description: 3-Way Lamp Socket Wedge Base W3 (BK)

Terminal Part Information

  • Terminal/Tray: See Terminal Repair Kit
  • Core/Insulation Crimp: See Terminal Repair Kit
  • Release Tool/Test Probe: See Terminal Repair Kit

Tail, Stop, and Turn Signal Lamp - Lower Right (X88 Except E52)

Pin

Wire Color

Circuit No.

Function

MAJ

YE

19

Right Rear Stop/Turn Signal Lamp Supply Voltage

YE

19

Right Rear Stop/Turn Signal Lamp Supply Voltage

MIN

BN

2609

Right Rear Park Lamps Supply Voltage

BN

2609

Right Rear Park Lamps Supply Voltage

GND

BK

1750

Ground

BK

1750

Ground

Tail/Turn Signal Lamp - Left (X88/Z88 w/E52)


Object Number: 1860839  Size: CH

Connector Part Information

  • OEM: 7822-2540-A44
  • Service: See Catalog
  • Description: 3-Way Lamp Socket Wedge Base W3 (BK)

Terminal Part Information

  • Terminal/Tray: See Terminal Repair Kit
  • Core/Insulation Crimp: See Terminal Repair Kit
  • Release Tool/Test Probe: See Terminal Repair Kit

Tail/Turn Signal Lamp - Left (X88/Z88 w/E52)

Pin

Wire Color

Circuit No.

Function

MAJ

YE/BK

18

Left Rear Stop/Turn Signal Lamp Supply Voltage

MIN

BN

2509

Left Rear Park Lamps Supply Voltage

BN

2509

Left Rear Park Lamps Supply Voltage

GND

BK

1750

Ground

BK

1750

Ground

Tail/Turn Signal Lamp - Right (X88/Z88 w/E52)


Object Number: 1860839  Size: CH

Connector Part Information

  • OEM: 7822-2540-A44
  • Service: See Catalog
  • Description: 3-Way Lamp Socket Wedge Base W3 (BK)

Terminal Part Information

  • Terminal/Tray: See Terminal Repair Kit
  • Core/Insulation Crimp: See Terminal Repair Kit
  • Release Tool/Test Probe: See Terminal Repair Kit

Tail/Turn Signal Lamp - Right (X88/Z88 w/E52)

Pin

Wire Color

Circuit No.

Function

MAJ

YE/BK

18

Right Rear Stop/Turn Signal Lamp Supply Voltage

MIN

BN

2609

Right Rear Park Lamps Supply Voltage

BN

2609

Right Rear Park Lamps Supply Voltage

GND

BK

1750

Ground

BK

1750

Ground

Tail, Stop, and Turn Signal Lamp - Upper Left (X88 Except E52)


Object Number: 1860839  Size: CH

Connector Part Information

  • OEM: 7822-2540-A44
  • Service: See Catalog
  • Description: 3-Way Lamp Socket Wedge Base W3 (BK)

Terminal Part Information

  • Terminal/Tray: See Terminal Repair Kit
  • Core/Insulation Crimp: See Terminal Repair Kit
  • Release Tool/Test Probe: See Terminal Repair Kit

Tail, Stop, and Turn Signal Lamp - Upper Left (X88 Except E52)

Pin

Wire Color

Circuit No.

Function

MAJ

YE

19

Left Rear Stop/Turn Signal Lamp Supply Voltage

MIN

BN

2509

Left Rear Park Lamps Supply Voltage

GND

BK

1750

Ground

Tail, Stop, and Turn Signal Lamp - Upper Right (X88 Except E52)


Object Number: 1860839  Size: CH

Connector Part Information

  • OEM: 7822-2540-A44
  • Service: See Catalog
  • Description: 3-Way Lamp Socket Wedge Base W3 (BK)

Terminal Part Information

  • Terminal/Tray: See Terminal Repair Kit
  • Core/Insulation Crimp: See Terminal Repair Kit
  • Release Tool/Test Probe: See Terminal Repair Kit

Tail, Stop, and Turn Signal Lamp - Upper Right (X88 Except E52)

Pin

Wire Color

Circuit No.

Function

MAJ

YE

18

Right Rear Stop/Turn Signal Lamp Supply Voltage

MIN

BN

2609

Right Rear Park Lamps Supply Voltage

GND

BK

1750

Ground

Tail/Stop Lamp - Left (X88/Z88 w/E52)


Object Number: 1860839  Size: CH

Connector Part Information

  • OEM: 7822-2540-A44
  • Service: See Catalog
  • Description: 3-Way Lamp Socket Wedge Base W3 (BK)

Terminal Part Information

  • Terminal/Tray: See Terminal Repair Kit
  • Core/Insulation Crimp: See Terminal Repair Kit
  • Release Tool/Test Probe: See Terminal Repair Kit

Tail/Stop Lamp - Left (X88/Z88 w/E52)

Pin

Wire Color

Circuit No.

Function

MAJ

L-BU

20

Stop Lamp Supply Voltage

MIN

BN

2509

Left Rear Park Lamps Supply Voltage

GND

BK

1750

Ground

Tail/Stop Lamp - Right (X88/Z88 w/E52)


Object Number: 1860839  Size: CH

Connector Part Information

  • OEM: 7822-2540-A44
  • Service: See Catalog
  • Description: 3-Way Lamp Socket Wedge Base W3 (BK)

Terminal Part Information

  • Terminal/Tray: See Terminal Repair Kit
  • Core/Insulation Crimp: See Terminal Repair Kit
  • Release Tool/Test Probe: See Terminal Repair Kit

Tail/Stop Lamp - Right (X88/Z88 w/E52)

Pin

Wire Color

Circuit No.

Function

MAJ

L-BU

20

Stop Lamp Supply Voltage

MIN

BN

2609

Right Rear Park Lamps Supply Voltage

GND

BK

1750

Ground

Trailer Connector


Object Number: 525095  Size: CH

Connector Part Information

  • OEM: 15354653
  • Service: 15306164
  • Description: 7-Way F Metri-Pack 280, Sealed (BK)

Terminal Part Information

  • Pins: A, D, F, G
  • Terminal/Tray: 12110847/4
  • Core/Insulation Crimp: C/5
  • Release Tool/Test Probe: 15315247/J-35616-4A (PU)
  • Pins: B
  • Terminal/Tray: 15305232/23
  • Core/Insulation Crimp: B/3
  • Release Tool/Test Probe: J-38125-11A/J-35616-42 (RD)
  • Pins: C, E
  • Terminal/Tray: 12110845/4
  • Core/Insulation Crimp: F/5
  • Release Tool/Test Probe: 15315247/J-35616-4A (PU)

Trailer Connector

Pin

Wire Color

Circuit No.

Function

A

L-GN

1624

Trailer Backup Lamp Supply Voltage

B

WH

22

Ground

C

D-BU

47

Trailer Auxiliary Supply Voltage

D

D-GN

1619

Trailer Right Rear Turn/Stop Lamp Supply Voltage

E

RD/BK

742

Battery Positive Voltage

F

BN

2109

Trailer Park Lamp Supply Voltage

G

YE

1618

Trailer Left Rear Turn/Stop Lamp Supply Voltage

Turn Signal Lamp - Left Front (Z75)


Object Number: 1711018  Size: CH

Connector Part Information

  • OEM: 15454375
  • Service: 88988117
  • Description: 3-Way F Axial Series (BN)

Terminal Part Information

  • Terminal/Tray: 7116-4102-08/9
  • Core/Insulation Crimp: E/1
  • Release Tool/Test Probe: 12094430/J-35616-2A (GY)

Turn Signal Lamp - Left Front (Z75)

Pin

Wire Color

Circuit No.

Function

1

L-BU/WH

1314

Left Front Turn Signal Lamp Supply Voltage

2

--

--

Not Used

3

BK

150

Ground

Turn Signal Lamp - Right Front (Z75)


Object Number: 1711018  Size: CH

Connector Part Information

  • OEM: 15454375
  • Service: 88988117
  • Description: 3-Way F Axial Series (BN)

Terminal Part Information

  • Terminal/Tray: 7116-4102-08/9
  • Core/Insulation Crimp: E/1
  • Release Tool/Test Probe: 12094430/J-35616-2A (GY)

Turn Signal Lamp - Right Front (Z75)

Pin

Wire Color

Circuit No.

Function

1

L-BU/WH

1314

Left Front Turn Signal Lamp Supply Voltage

2

--

--

Not Used

3

BK

150

Ground

Turn Signal/Multifunction Switch C1


Object Number: 39746  Size: CH

Connector Part Information

  • OEM: 12064862
  • Service: 12126438
  • Description: 8-Way F Metri-Pack 150 Series (L-GY)

Terminal Part Information

  • Terminal/Tray: See Terminal Repair Kit
  • Core/Insulation Crimp: See Terminal Repair Kit
  • Release Tool/Test Probe: See Terminal Repair Kit

Turn Signal/Multifunction Switch C1

Pin

Wire Color

Circuit No.

Function

A-B

--

--

Not Used

C

0.35 BK/WH

1851

Ground

D

0.35 TN

664

Hazard Switch Turn Right Signal

E

0.35 D-GN

663

Hazard Switch Left Turn Signal

F

0.35 BK/WH

1851

Ground

G

0.35 WH

111

Hazard Switch Signal

H

--

--

Not Used

Turn Signal/Multifunction Switch C2


Object Number: 130718  Size: CH

Connector Part Information

  • OEM: 12059800
  • Service: 15306169
  • Description: 5-Way F Metri-Pack 150 Series (WH)

Terminal Part Information

  • Terminal/Tray: See Terminal Repair Kit
  • Core/Insulation Crimp: See Terminal Repair Kit
  • Release Tool/Test Probe: See Terminal Repair Kit

Turn Signal/Multifunction Switch C2

Pin

Wire Color

Circuit No.

Function

A

0.35 YE/BK

307

Headlamp Switch Flash to Pass Signal

B-C

--

--

Not Used

D

0.35 BK/WH

1851

Ground

E

0.35 YE

525

Headlamp Dimmer Switch Low Beam Signal

Turn Signal/Malfunction Switch C3


Object Number: 811190  Size: CH

Connector Part Information

  • OEM: 15339058
  • Service: See Catalog
  • Description: 7-Way F Metri-Pack 150 Series (GY)

Terminal Part Information

  • Terminal/Tray: See Terminal Repair Kit
  • Core/Insulation Crimp: See Terminal Repair Kit
  • Release Tool/Test Probe: See Terminal Repair Kit

Turn Signal/Malfunction Switch C3

Pin

Wire Color

Circuit No.

Function

G-J

--

--

Not Used

K

0.35 L-GN

1715

Windshield Wiper Switch High Signal

L

0.35 PK

94

Windshield Washer Switch Signal

M

0.35 TN/BK

6009

Low Reference

N

0.35 L-BU

1714

Windshield Wiper Switch Low Signal

Turn Signal/Malfunction Switch C4


Object Number: 1739962  Size: CH

Connector Part Information

  • OEM: HCMWSB-05-K
  • Service: See Catalog
  • Description: 5-Way M (BK)

Terminal Part Information

  • Terminal/Tray: See Terminal Repair Kit
  • Core/Insulation Crimp: See Terminal Repair Kit
  • Release Tool/Test Probe: See Terminal Repair Kit

Turn Signal/Malfunction Switch C4

Pin

Wire Color

Circuit No.

Function

1

WH

2283

Rear Wiper/Washer Switch Supply Voltage

2

GY

391

Rear Window Wiper Switch Signal

3

L-GN

2270

Rear Wash PCB Relay Control

4

--

--

Not Used

5

--

--

Not Used