GM Service Manual Online
For 1990-2009 cars only

Brake Pressure Modulator Valve Replacement With JL4

Removal Procedure

    Caution: Refer to Brake Fluid Irritant Caution in the Preface section.

    Notice: Refer to Brake Fluid Effects on Paint and Electrical Components Notice in the Preface section.

    Important: Cap the brake pipes to prevent brake fluid loss and contamination.

  1. Raise and support the vehicle. Refer to Lifting and Jacking the Vehicle .
  2. Clean all dirt and debris from the BPMV assembly and the brake pipe fittings.
  3. Disconnect the electronic brake control module (EBCM) electrical connector.
  4. Important: Note the location of the brake pipes to the BPMV for proper installation.


    Object Number: 1702773  Size: SH
  5. Release the brake pipe retaining clip (1) from the frame.
  6. Disconnect the rear brake pipe fittings (2) and (4) from the BPMV (6).
  7. Remove the rear brake pipes (3) and (5) from the BPMV (6).

  8. Object Number: 1702775  Size: SH
  9. Disconnect the front brake pipe fitting (7) from the BPMV (6).
  10. Remove the front brake pipe (8) from the BPMV (6) and the retaining clip (9).

  11. Object Number: 1702778  Size: SH
  12. Disconnect the front brake pipe fittings (10) from the BPMV (6).
  13. Remove the front brake pipes (11) from the BPMV (6).

  14. Object Number: 1702794  Size: SH

    Important: It is not necessary to remove the BPMV bracket bolts.

  15. Loosen the BPMV bracket bolts.
  16. Slide the BPMV and bracket assembly toward the front of the vehicle and remove the assembly from the vehicle frame.
  17. If necessary, remove the EBCM from the BPMV. Refer to Electronic Brake Control Module Replacement .
  18. Important: DO NOT pry against the accumulator piston caps on the bottom of the BPMV.


    Object Number: 1702889  Size: SH
  19. If removing the BPMV bracket (4) from the BPMV (5), loosen the BPMV mounting nuts (1).
  20. Carefully lift the BPMV from the bracket to release the front grommets (2).
  21. Release the BPMV from the lower grommet (3).

Installation Procedure

  1. If removed, install the EBCM. Refer to Electronic Brake Control Module Replacement .

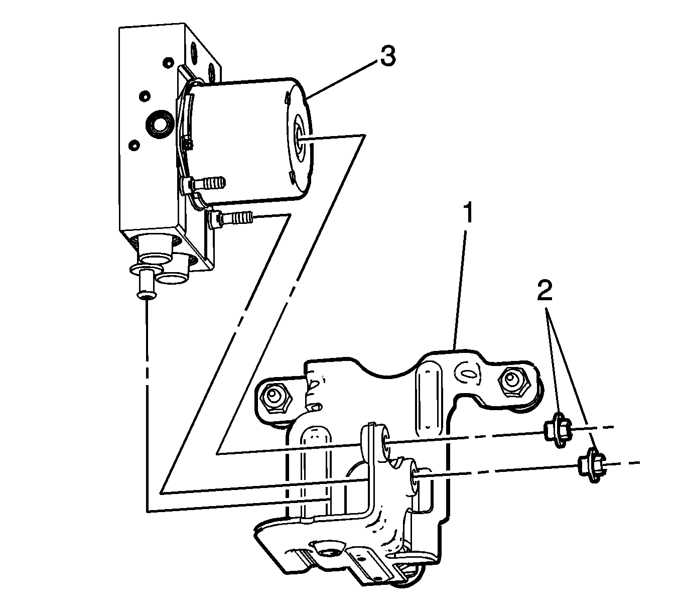
  2. Object Number: 1703020  Size: SH
  3. Position the BPMV (3) to the mounting bracket (1).
  4. Notice: Refer to Fastener Notice in the Preface section.

  5. Install the retaining nuts (2) to the BPMV (3).
  6. Tighten
    Tighten to 9 N·m (80 lb in).


    Object Number: 1702794  Size: SH
  7. Position the BPMV and bracket assembly (13) to the frame.
  8. Slide the BPMV assembly toward the rear of the vehicle.
  9. Install the BPMV bracket bolts (12).
  10. Tighten
    Tighten the bolts to 22 N·m (16 lb in).


    Object Number: 1702778  Size: SH
  11. Position the front brake pipes (11) to the BPMV (6).
  12. Install the front brake pipe fittings (10).
  13. Tighten
    Tighten the fittings to 18 N·m (13 lb ft).


    Object Number: 1702775  Size: SH
  14. Position the front brake pipe (8) to the BPMV.
  15. Install the front brake pipe fitting (7).
  16. Tighten
    Tighten the fitting to 18 N·m (13 lb ft).

  17. Position the retaining clip (9) to the frame.

  18. Object Number: 1702773  Size: SH
  19. Position the rear brake pipes (3) and (5) to the BPMV (6).
  20. Install the rear brake pipe fittings (2) and (4).
  21. Tighten
    Tighten the fittings to 18 N·m (13 lb ft).

  22. Position the retaining clip (1) to the frame.
  23. Connect the EBCM electrical connector.
  24. Bleed the BPMV. Refer to Antilock Brake System Automated Bleed Procedure .
  25. Calibrate the brake pressure sensor. Refer to Electronic Brake Control Module Programming and Setup .

Brake Pressure Modulator Valve Replacement Without JL4

Removal Procedure

Caution: Refer to Brake Fluid Irritant Caution in the Preface section.

Notice: Refer to Brake Fluid Effects on Paint and Electrical Components Notice in the Preface section.

Important: Cap the brake pipe fittings to prevent brake fluid loss and contamination.

  1. Raise and support the vehicle. Refer to Lifting and Jacking the Vehicle .
  2. Clean all dirt and debris from the brake pressure modulator valve (BPMV) assembly and the brake pipe fittings.
  3. Disconnect the electronic brake control module (EBCM) electrical connector.
  4. Important: Note the location of the brake pipes to the BPMV for proper installation.


    Object Number: 1702805  Size: SH
  5. Release the brake pipe retaining clip (1) from the frame.
  6. Disconnect the rear brake pipe fitting (2) from the BPMV (4).
  7. Remove the rear brake pipe  (3) from the BPMV (4).

  8. Object Number: 1702807  Size: SH
  9. Disconnect the front brake pipe fitting (5) and remove the front brake pipe (6).

  10. Object Number: 1702809  Size: SH
  11. Disconnect the front brake pipe fittings (7).
  12. Remove the front brake pipes (8) and the frame retainer (9).

  13. Object Number: 1702813  Size: SH
  14. Remove the BPMV bracket bolts (1).
  15. Remove the BPMV.
  16. If necessary, remove the EBCM. Refer to Electronic Brake Control Module Replacement .

  17. Object Number: 1703731  Size: SH
  18. If removing the BPMV bracket from the BPMV, remove the BPMV mounting bolt (1).
  19. Lift the BPMV from the mounting bracket.
  20. Remove the grommets from the BPMV and the bracket.

Installation Procedure

  1. If removed, install the EBCM. Refer to Electronic Brake Control Module Replacement .

  2. Object Number: 1703731  Size: SH
  3. If removed, install the bottom grommets (3) to the BPMV (2).
  4. Install the side grommet (5) to the BPMV bracket.
  5. Install the BPMV (2) on the mounting bracket.
  6. Notice: Refer to Fastener Notice in the Preface section.

  7. Install the retaining bolt (1) to the BPMV (4).
  8. Tighten
    Tighten the bolt to 10 N·m (89 lb in).


    Object Number: 1702813  Size: SH
  9. Position the BPMV (2) to the frame.
  10. Install the BPMV bracket bolts (1).
  11. Tighten
    Tighten the bolts (1) to 22 N·m (16 lb ft).


    Object Number: 1702809  Size: SH
  12. Position the brake pipes (8) to the BPMV (4) and secure the retaining clip (9).
  13. Install the brake pipe fittings (7).
  14. Tighten
    Tighten the fittings to 18 N·m (13 lb ft).


    Object Number: 1702807  Size: SH
  15. Position the front brake pipe (6) to the BPMV (4).
  16. Install the brake pipe fitting (5).
  17. Tighten
    Tighten the fitting to 18 N·m (13 lb ft).


    Object Number: 1702805  Size: SH
  18. Position the rear brake pipe (3) to the BPMV (4) and secure the clip (1).
  19. Install the brake pipe fitting (2).
  20. Tighten
    Tighten the fitting to 18 N·m (13 lb ft).

  21. Connect the EBCM electrical connector.
  22. Bleed the BPMV. Refer to Antilock Brake System Automated Bleed Procedure .
  23. Calibrate the brake pressure sensor. Refer to Electronic Brake Control Module Programming and Setup .