GM Service Manual Online
For 1990-2009 cars only

Object Number: 1671013  Size: MF

Callout

Component Name

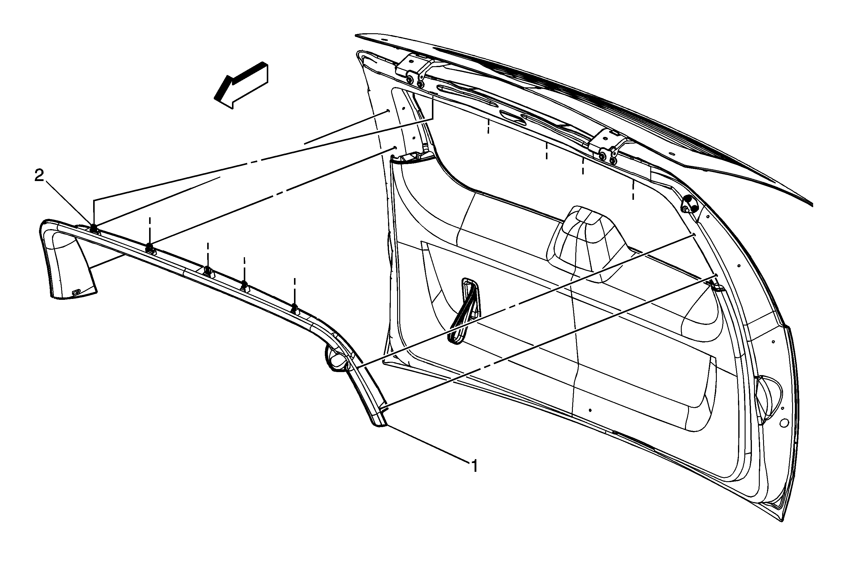
Caution:  When a hood hold open device is being removed or installed, provide alternate support to avoid the possibility of damage to the vehicle or personal injury.

Preliminary Procedure

  1. Remove the liftgate strut. Refer to Liftgate Strut Replacement .
  2. Disconnect the power liftgate actuator rod. Refer to Liftgate Actuator Rod Replacement .

1

Liftgate Window Upper Garnish Molding Assembly

Tip
Pull down and out to disengage retainers.

2

Liftgate Window Upper Garnish Molding Retainer (Qty: 9)