GM Service Manual Online
For 1990-2009 cars only

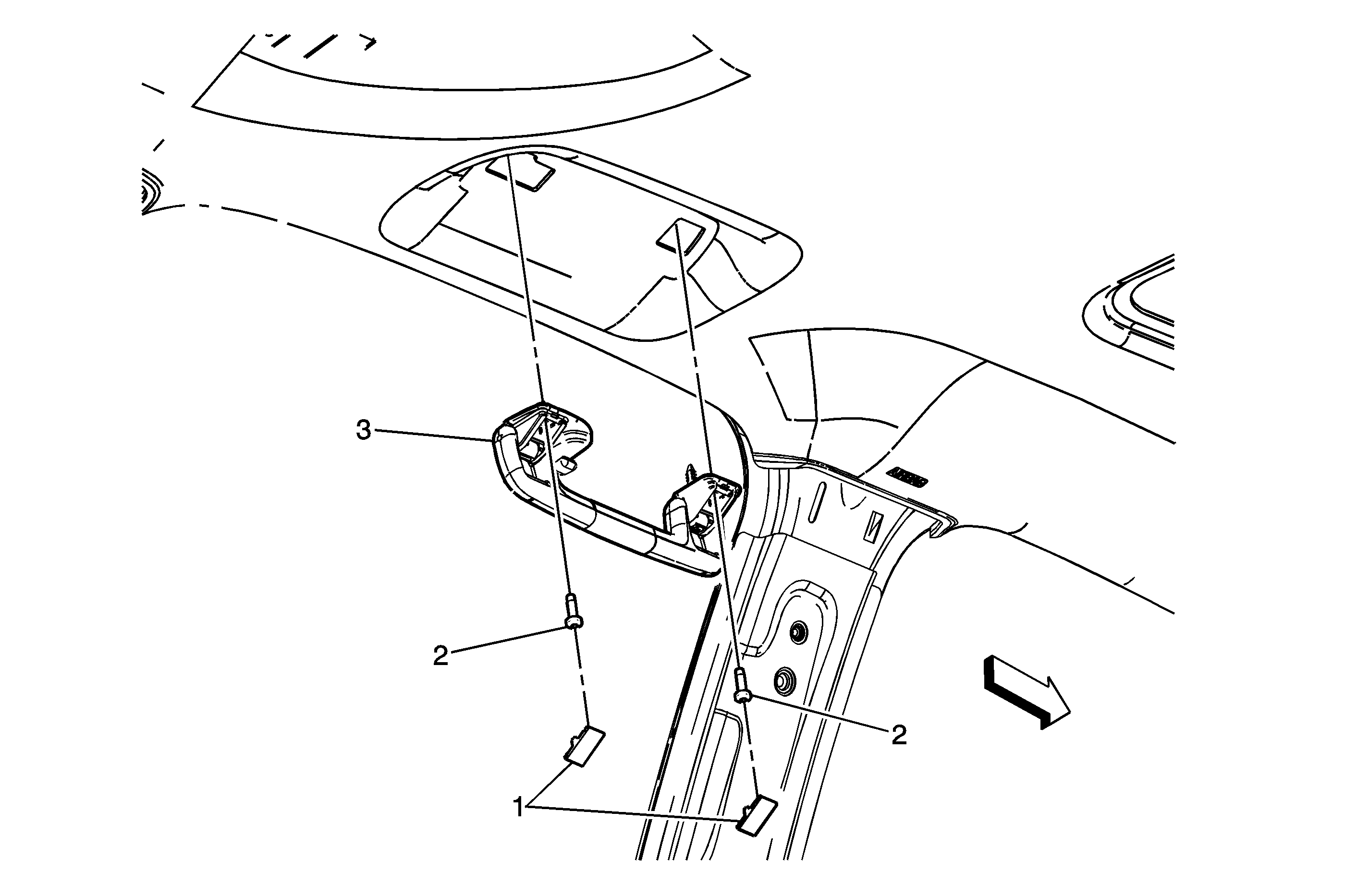
Object Number: 1673833  Size: MF

Callout

Component Name

1

Roof Rail Rear Assist Handle Cover (Qty: 2)

2

Roof Rail Rear Assist Handle Screw (Qty: 2)

Notice: Refer to Fastener Notice in the Preface section.

Tighten
6 N·m (53 lb in)

3

Roof Rail Rear Assist Handle Assembly

Tip
Pull assist handle downward to access covers and fasteners.