GM Service Manual Online
For 1990-2009 cars only

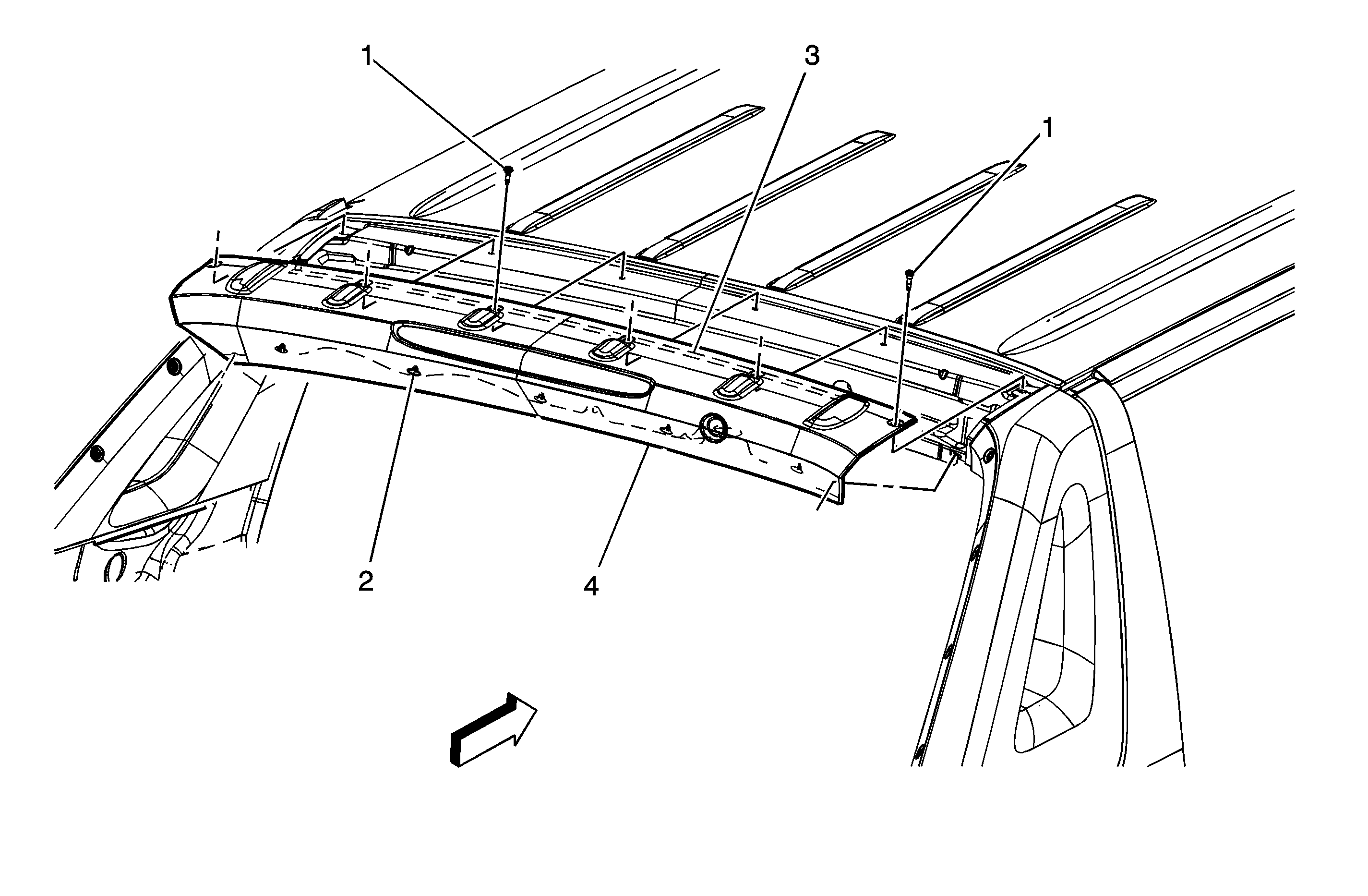
Cargo Box Bridge Cross Bar Replacement Avalanche


Object Number: 1711705  Size: MF

Callout

Component Name

Preliminary Procedures

  1. Ensure the headlamp switch is in the OFF position.
  2. Remove the rear compartment cover assembly. Refer to Cargo Box Front Cover, Center Cover, and Rear Cover Replacement .

1

Cargo Box Bridge Center Panel Screw (Qty: 8)

Notice: Refer to Fastener Notice in the Preface section.

Tighten
7 N·m (62 lb in)

2

Cargo Box Bridge Center Panel Retainer (Qty: 5)

3

Cargo Box Bridge Center Panel Adhesive Strip

Tip

  1. The part and surface should be 21°C (70°F) prior to installation. The vehicle should remain 21°C (70°F) for one hour after assembly to allow adhesive to develop sufficient bond strength.
  2. Use a J 25070 or equivalent to loosen/remove the adhesive strip. Clean all adhesive residue from the door opening and wipe the surface dry with a clean lint-free towel prior to installing the new adhesive strip.
  3. When removing protective liners from the adhesive backed adhesive strip, be careful not to touch the tape with hands. Do not allow the tape to come in contact with dirt or any foreign matter prior to adhesion.

Special Tools

J 25070 Heat Gun

4

Cargo Box Bridge Center Panel Assembly

Tip

  1. Disconnect the 2 electrical connectors.
  2. When re-installing the panel assembly, lubricate the panel grommet prior to seating.
  3. If replacing the panel assembly, transfer the high mount stop lamp. Refer to High Mount Stop Lamp Replacement .

Cargo Box Bridge Cross Bar Replacement Escalade EXT


Object Number: 1711711  Size: MF

Callout

Component Name

Preliminary Procedures

  1. Ensure headlamp switch is in the OFF position.
  2. Remove rear compartment cover assembly. Refer to Cargo Box Front Cover, Center Cover, and Rear Cover Replacement .

1

Cargo Box Bridge Center Panel Screw (Qty: 6)

Notice: Refer to Fastener Notice in the Preface section.

Tighten
7 N·m (62 lb in)

2

Cargo Box Bridge Center Panel Assembly

Tip

  1. Disconnect electrical connector.
  2. When re-installing panel assembly, lubricate panel grommet prior to seating.
  3. If replacing panel assembly, transfer high mounted stop lamp. Refer to High Mount Stop Lamp Replacement .