GM Service Manual Online
For 1990-2009 cars only

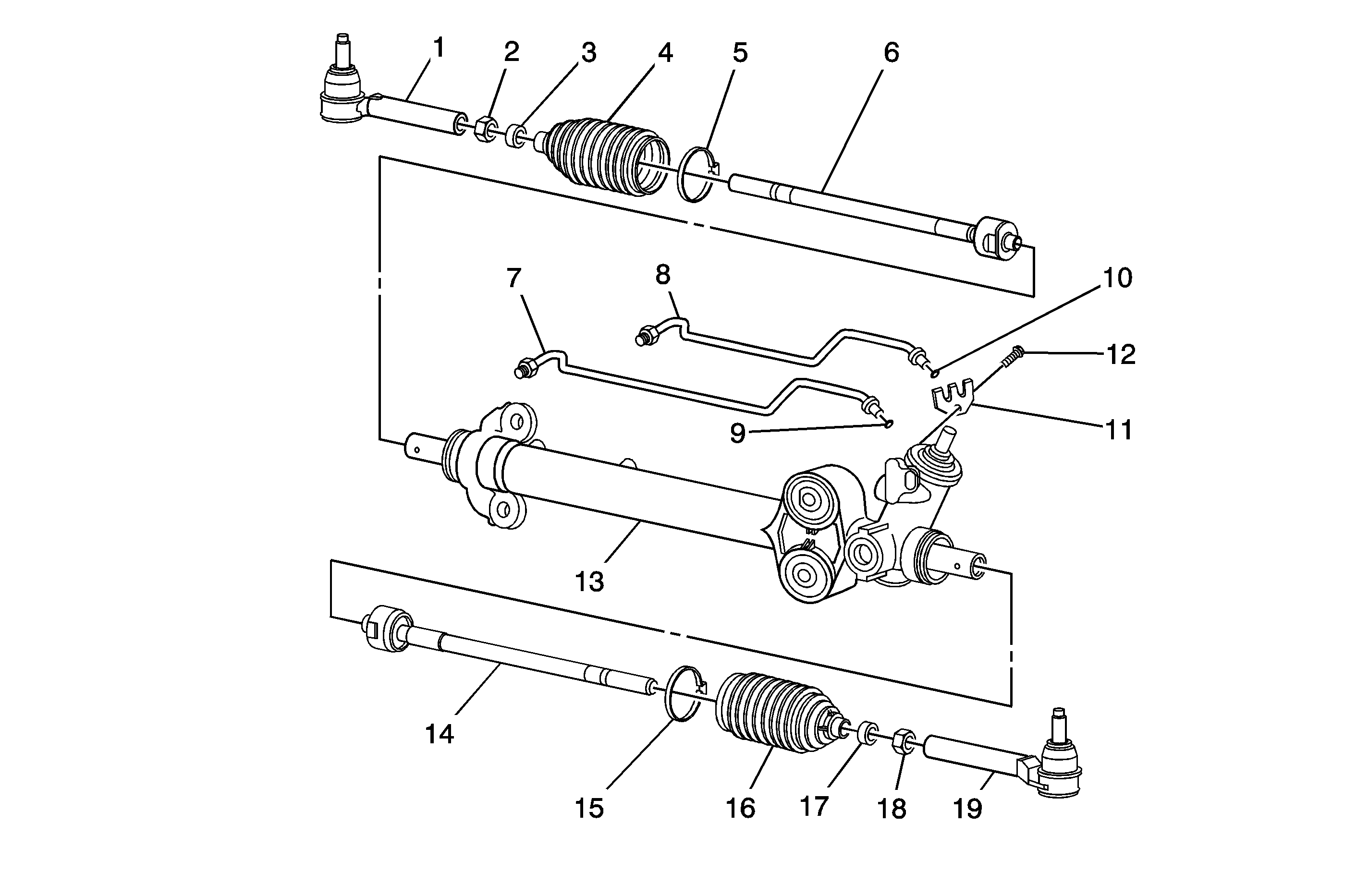
Power Steering Gear Disassembled View Rack and Pinion


Object Number: 1744472  Size: MF
(1)Steering Linkage Outer Tie Rod
(2)Steering Linkage Inner Tie Rod Nut
(3)Steering Gear Boot Clamp
(4)Steering Gear Boot
(5)Steering Gear Boot Clamp
(6)Steering Linkage Inner Tie Rod
(7)Steering Gear Cylinder Pipe
(8)Steering Gear Cylinder Pipe
(9)Steering Gear Cylinder Pipe Seal
(10)Steering Gear Cylinder Pipe Seal
(11)Power Steering Gear Inlet Hose Retaining Plate
(12)Power Steering Gear Inlet Hose Retaining Plate Bolt
(13)Steering Gear
(14)Steering Linkage Inner Tie Rod
(15)Steering Gear Boot Clamp
(16)Steering Gear Boot
(17)Steering Gear Boot Clamp
(18)Steering Linkage Inner Tie Rod Nut
(19)Steering Linkage Outer Tie Rod

Power Steering Gear Disassembled View 680 Gear


Object Number: 1833446  Size: LF
(1)Stub Shaft Housing Bolt
(2)Stub Shaft Housing
(3)Stub Shaft Housing O-Ring
(4)Stub Shaft Housing O-Ring
(5)Steering Gear Pitman Shaft Housing Cover O-Ring
(6)Steering Gear Pitman Shaft and Housing Cover
(7)Steering Gear Pitman Shaft Lash Adjuster Nut
(8)Steering Gear Pitman Shaft Housing Cover Bolt
(9)Steering Gear Pitman Shaft Bearing
(10)Steering Gear Pitman Shaft Seal
(11)Steering Gear Pitman Shaft Washer
(12)Steering Gear Pitman Shaft Seal Retaining Ring
(13)Dust Seal
(14)Pitman Arm Boot
(15)Pitman Arm
(16)Pitman Arm Washer
(17)Pitman Arm Nut
(18)Steering Gear Housing