GM Service Manual Online
For 1990-2009 cars only

Object Number: 1693793  Size: SF

Callout

Component Name

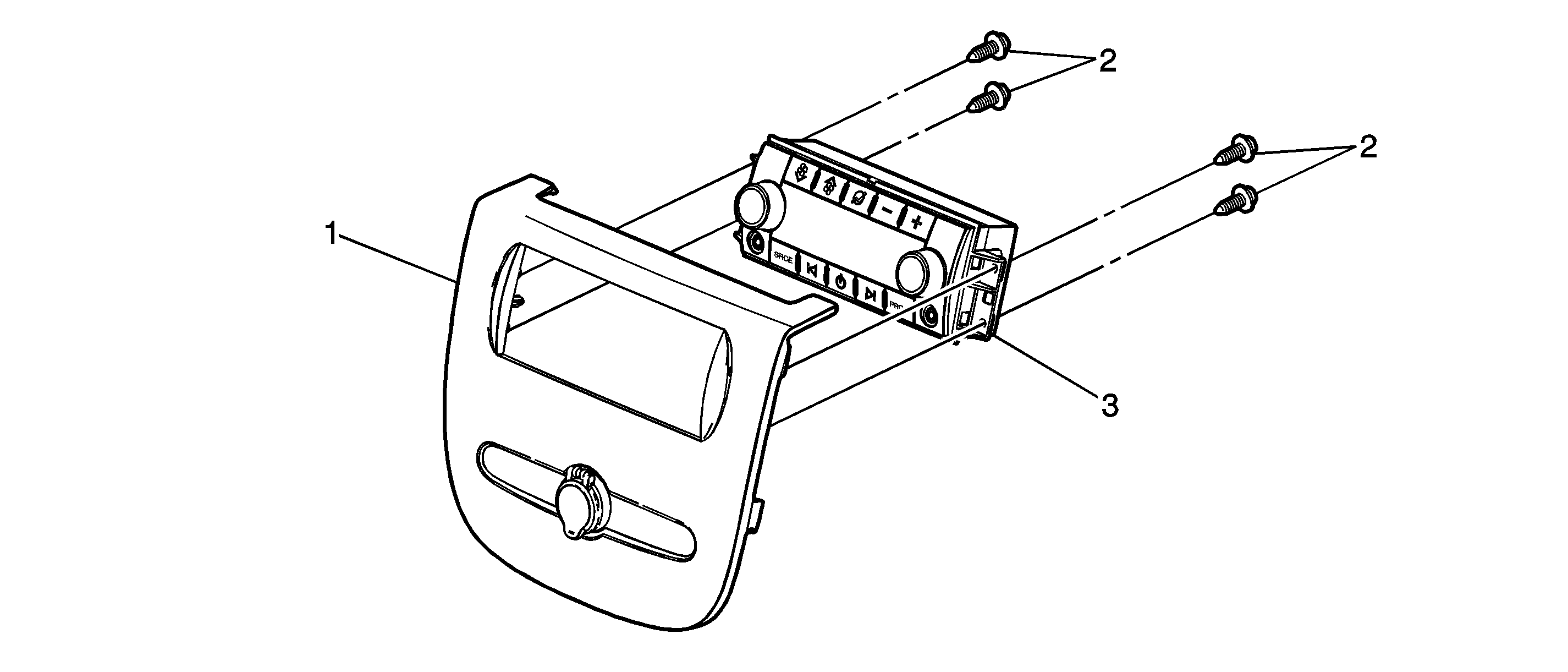
1

Front Floor Console Compartment Bezel

Refer to Front Floor Console Compartment Bezel Replacement .

2

Auxiliary HVAC Control Assembly Screw (Qty: 4)

Notice: Refer to Fastener Notice in the Preface section.

Tighten
1.5 N·m (13 lb in)

3

Auxiliary HVAC Control Assembly

Procedure

    • Disconnect the electrical connectors from the auxiliary HVAC control module.
    • The HVAC control module must be reprogrammed. Refer to Control Module References .