GM Service Manual Online
For 1990-2009 cars only
Connector 1: A/C Compressor Clutch
Connector 2: A/C Low Pressure Switch
Connector 3: A/C Refrigerant Pressure Sensor
Connector 4: Air Temperature Actuator - Auxiliary (LWB)
Connector 5: Air Temperature Actuator - Auxiliary (SWB)
Connector 6: Air Temperature Actuator - Left
Connector 7: Air Temperature Actuator - Right
Connector 8: Blower Motor
Connector 9: Blower Motor - Auxiliary (LWB)
Connector 10: Blower Motor - Auxiliary (SWB)
Connector 11: Blower Motor Control Module C1
Connector 12: Blower Motor Control Module C2
Connector 13: Blower Motor Control Module - Auxiliary C1 (LWB)
Connector 14: Blower Motor Control Module - Auxiliary C1 (SWB)
Connector 15: Blower Motor Control Module - Auxiliary C2 (LWB)
Connector 16: Blower Motor Control Module - Auxiliary C2 (SWB)
Connector 17: HVAC Control Module - Auxiliary (CJ3)
Connector 18: HVAC Control Module C1
Connector 19: HVAC Control Module C2
Connector 20: HVAC Control Module C3
Connector 21: HVAC Control Module C4
Connector 22: Mode Actuator
Connector 23: Mode Actuator - Auxiliary (LWB)
Connector 24: Mode Actuator - Auxiliary (SWB)
Connector 25: Recirculation Actuator

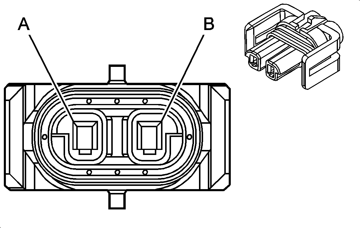
A/C Compressor Clutch


Object Number: 1334534  Size: CH

Connector Part Information

  • OEM: 12162017
  • Service: 12101937
  • Description: 2-Way F Metri-Pack 150 Series Sealed (GY)

Terminal Part Information

  • Terminal/Tray: 12048074/2
  • Core/Insulation Crimp: E/1
  • Release Tool/Test Probe:12094429/J-35616-2A (GY)

A/C Compressor Clutch

Pin

Wire Color

Circuit No.

Function

A

BK

550

Ground

B

D-GN

59

A/C Compressor Clutch Supply Voltage

A/C Low Pressure Switch


Object Number: 537107  Size: CH

Connector Part Information

  • OEM: 12052644
  • Service: 15306302
  • Description: 2-Way F Metri-Pack 150 Series Sealed (GY)

Terminal Part Information

  • Terminal/Tray: 15326267/19
  • Core/Insulation Crimp: E/4
  • Release Tool/Test Probe: 15315247/J-35616-2A (GY)

A/C Low Pressure Switch

Pin

Wire Color

Circuit No.

Function

A

D-BU

204

A/C Low Pressure Sensor Signal

B

BK/WH

451

Ground

A/C Refrigerant Pressure Sensor


Object Number: 1567085  Size: CH

Connector Part Information

  • OEM: 15397275
  • Service: 88988301
  • Description: 3-Way F 150 Series Sealed (BK)

Terminal Part Information

  • Terminal/Tray: 15326267/19
  • Core/Insulation Crimp: E/4
  • Release Tool/Test Probe: 15315247/J-35616-2A (GY)

A/C Refrigerant Pressure Sensor

Pin

Wire Color

Circuit No.

Function

1

TN

5514

Low Reference

2

GY/WH

2700

A/C Pressure Sensor 5-Volt Reference

3

OG/BK

380

A/C Refrigerant Pressure Sensor Signal

Air Temperature Actuator - Auxiliary (LWB)


Object Number: 280764  Size: CH

Connector Part Information

  • OEM: 12064993
  • Service: 12102485
  • Description: 6-Way F Micro-Pack 100 Series (BK)

Terminal Part Information

  • Terminal/Tray: See Terminal Repair Kit
  • Core/Insulation Crimp: See Terminal Repair Kit
  • Release Tool/Test Probe: See Terminal Repair Kit

Air Temperature Actuator - Auxiliary (LWB)

Pin

Wire Color

Circuit No.

Function

5

BN

1639

Ignition Voltage

6

WH/BK

2614

Auxiliary Air Temperature Door Control

7

YE

1798

Low Reference

8

--

--

Not Used

9

D-BU

2145

Auxiliary Air Temperature Door Position Signal

10

GY

596

5-Volt Reference

Air Temperature Actuator - Auxiliary (SWB)


Object Number: 280764  Size: CH

Connector Part Information

  • OEM: 12064993
  • Service: 12102485
  • Description: 6-Way F Micro-Pack 100 Series (BK)

Terminal Part Information

  • Terminal/Tray: See Terminal Repair Kit
  • Core/Insulation Crimp: See Terminal Repair Kit
  • Release Tool/Test Probe: See Terminal Repair Kit

Air Temperature Actuator - Auxiliary (SWB)

Pin

Wire Color

Circuit No.

Function

5

PK

1639

Ignition Voltage

6

GY

2614

Auxiliary Air Temperature Door Control

7

GY/BK

1798

Low Reference

8

--

--

Not Used

9

PK

2145

Auxiliary Air Temperature Door Position Signal

10

GY

596

5-Volt Reference

Air Temperature Actuator - Left


Object Number: 280764  Size: CH

Connector Part Information

  • OEM: 12064993
  • Service: 12102485
  • Description: 6-Way F Micro-Pack 100 Series (BK)

Terminal Part Information

  • Terminal/Tray: See Terminal Repair Kit
  • Core/Insulation Crimp: See Terminal Repair Kit
  • Release Tool/Test Probe: See Terminal Repair Kit

Air Temperature Actuator - Left

Pin

Wire Color

Circuit No.

Function

5

BN

839

Ignition Voltage

6

D-BU

1199

Left Air Temperature Door Control

7

YE

1791

Low Reference

8

--

--

Not Used

9

L-BU

733

Left Air Temperature Door Position Signal

10

L-BU/BK

598

5-Volt Reference

Air Temperature Actuator - Right


Object Number: 280764  Size: CH

Connector Part Information

  • OEM: 12064993
  • Service: 12102485
  • Description: 6-Way F Micro-Pack 100 Series (BK)

Terminal Part Information

  • Pins: 5-7, 9, 10
  • Terminal/Tray: 12146447/3
  • Core/Insulation Crimp: E/C
  • Release Tool/Test Probe: 12031876-1/J-35616-6 (BN)

Air Temperature Actuator - Right

Pin

Wire Color

Circuit No.

Function

5

BN

839

Ignition Voltage

6

WH/BK

1236

Right Air Temperature Door Control

7

YE

1791

Low Reference

8

--

--

Not Used

9

D-BU

1646

Right Air Temperature Door Position Signal

10

L-BU/BK

598

5-Volt Reference

Blower Motor


Object Number: 62488  Size: CH

Connector Part Information

  • OEM: 12084957
  • Service: 12126461
  • Description: 2-Way F Metri-Pack 280 Series (BK)

Terminal Part Information

  • Terminal/Tray: See Terminal Repair Kit
  • Core/Insulation Crimp: See Terminal Repair Kit
  • Release Tool/Test Probe: See Terminal Repair Kit

Blower Motor

Pin

Wire Color

Circuit No.

Function

A

PU

65

Battery Positive Voltage

B

BK

2150

Ground

Blower Motor - Auxiliary (LWB)


Object Number: 62488  Size: CH

Connector Part Information

  • OEM: 12084957
  • Service: 12126461
  • Description: 2-Way F Metri-Pack 280 Series (BK)

Terminal Part Information

  • Terminal/Tray: See Terminal Repair Kit
  • Core/Insulation Crimp: See Terminal Repair Kit
  • Release Tool/Test Probe: See Terminal Repair Kit

Blower Motor - Auxiliary (LWB)

Pin

Wire Color

Circuit No.

Function

A

PU

1740

Battery Positive Voltage

B

BK

5988

Low Reference

Blower Motor - Auxiliary (SWB)


Object Number: 62488  Size: CH

Connector Part Information

  • OEM: 12084957
  • Service: 12126461
  • Description: 2-Way F Metri-Pack 280 Series (BK)

Terminal Part Information

  • Terminal/Tray: See Terminal Repair Kit
  • Core/Insulation Crimp: See Terminal Repair Kit
  • Release Tool/Test Probe: See Terminal Repair Kit

Blower Motor - Auxiliary (SWB)

Pin

Wire Color

Circuit No.

Function

A

RD/WH

1740

Battery Positive Voltage

B

OG

5988

Low Reference

Blower Motor Control Module C1


Object Number: 1837857  Size: CH

Connector Part Information

  • OEM: 10846816
  • Service: 88988507
  • Description: 2-Way F 6.3 Series (GY)

Terminal Part Information

  • Terminal/Tray: See Terminal Repair Kit
  • Core/Insulation Crimp: See Terminal Repair Kit
  • Release Tool/Test Probe: See Terminal Repair Kit

Blower Motor Control Module C1

Pin

Wire Color

Circuit No.

Function

1

PU

65

Battery Positive Voltage

2

BK

2150

Low Reference

Blower Motor Control Module C2


Object Number: 1837860  Size: CH

Connector Part Information

  • OEM: 13520671
  • Service: 88988512
  • Description: 6-Way F GT 150 6.3 Series (BK)

Terminal Part Information

  • Terminal/Tray: See Terminal Repair Kit
  • Core/Insulation Crimp: See Terminal Repair Kit
  • Release Tool/Test Probe: See Terminal Repair Kit

Blower Motor Control Module C2

Pin

Wire Color

Circuit No.

Function

1-2

--

--

Not Used

3

PU/WH

754

Blower Motor Speed Control

4

--

--

Not Used

5

BK

1050

Ground

6

RD

542

Battery Positive Voltage

Blower Motor Control Module - Auxiliary C1 (LWB)


Object Number: 1837857  Size: CH

Connector Part Information

  • OEM: 10846816
  • Service: 88988507
  • Description: 2-Way F 6.3 Series (GY)

Terminal Part Information

  • Terminal/Tray: See Terminal Repair Kit
  • Core/Insulation Crimp: See Terminal Repair Kit
  • Release Tool/Test Probe: See Terminal Repair Kit

Blower Motor Control Module - Auxiliary C1 (LWB)

Pin

Wire Color

Circuit No.

Function

1

PU

1740

Battery Positive Voltage

2

BK

5988

Low Reference

Blower Motor Control Module - Auxiliary C1 (SWB)


Object Number: 1837857  Size: CH

Connector Part Information

  • OEM: 10846816
  • Service: 88988507
  • Description: 2-Way F 6.3 Series (GY)

Terminal Part Information

  • Terminal/Tray: See Terminal Repair Kit
  • Core/Insulation Crimp: See Terminal Repair Kit
  • Release Tool/Test Probe: See Terminal Repair Kit

Blower Motor Control Module - Auxiliary C1 (SWB)

Pin

Wire Color

Circuit No.

Function

1

RD/WH

1740

Battery Positive Voltage

2

OG

5988

Low Reference

Blower Motor Control Module - Auxiliary C2 (LWB)


Object Number: 1837860  Size: CH

Connector Part Information

  • OEM: 13520671
  • Service: 88988512
  • Description: 6-Way F GT 150 6.3 Series (BK)

Terminal Part Information

  • Terminal/Tray: See Terminal Repair Kit
  • Core/Insulation Crimp: See Terminal Repair Kit
  • Release Tool/Test Probe: See Terminal Repair Kit

Blower Motor Control Module - Auxiliary C2 (LWB)

Pin

Wire Color

Circuit No.

Function

1-2

--

--

Not Used

3

PU

2211

Auxiliary Blower Motor Speed Control

4

--

--

Not Used

5

OG

1450

Ground

6

BK

1740

Battery Positive Voltage

Blower Motor Control Module - Auxiliary C2 (SWB)


Object Number: 1837860  Size: CH

Connector Part Information

  • OEM: 13520671
  • Service: 88988512
  • Description: 6-Way F GT 150 6.3 Series (BK)

Terminal Part Information

  • Terminal/Tray: See Terminal Repair Kit
  • Core/Insulation Crimp: See Terminal Repair Kit
  • Release Tool/Test Probe: See Terminal Repair Kit

Blower Motor Control Module - Auxiliary C2 (SWB)

Pin

Wire Color

Circuit No.

Function

1-2

--

--

Not Used

3

D-GN

2211

Auxiliary Blower Motor Speed Control

4

--

--

Not Used

5

BK

1450

Ground

6

RD/WH

1740

Battery Positive Voltage

HVAC Control Module - Auxiliary (CJ3)


Object Number: 1711011  Size: CH

Connector Part Information

  • OEM: 15490628
  • Service: 89047355
  • Description: 10-Way F Kaizen 0.64 Series (BK)

Terminal Part Information

  • Terminal/Tray: SAITS-A03T-M064/14
  • Core/Insulation Crimp: P/P
  • Release Tool/Test Probe: J-38125-215/J-35616-64B (L-BU)

HVAC Control Module - Auxiliary (CJ3)

Pin

Wire Color

Circuit No.

Function

1

BN/WH

230

Instrument Panel Lamp Dimming Control

2

BK

1050

Ground

3

GY

597

5-Volt Reference

4

D-GN

6101

Low Reference

5-6

--

--

Not Used

7

PU/WH

760

Auxiliary Blower Motor Speed Signal

8

YE

2214

Auxiliary Air Temperature Signal

9

--

--

Not Used

10

OG

2615

Auxiliary Mode Door Signal

HVAC Control Module C1


Object Number: 1715226  Size: CH

Connector Part Information

  • OEM: 15491305
  • Service: 15126709
  • Description: 20-Way F USCAR 0.64 Series (BN)

Terminal Part Information

  • Terminal/Tray: SAITS-A03T-M064/14
  • Core/Insulation Crimp: P/P
  • Release Tool/Test Probe: J-38125-215/J-35616-64B (L-BU)

HVAC Control Module C1

Pin

Wire Color

Circuit No.

Function

1-7

--

--

Not Used

8

PK

2145

Air Temperature Switch Signal - Right

9

OG

2615

Auxiliary Mode Door Signal

10

YE

2214

Auxiliary Air Temperature Door Signal

11-17

--

--

Not Used

18

GY

2599

Auxiliary Mode Door Position Signal

19

PU/WH

760

Auxiliary Blower Motor Speed Signal

20

--

--

Not Used

HVAC Control Module C2


Object Number: 1715229  Size: CH

Connector Part Information

  • OEM: 15483873
  • Service: 21997402
  • Description: 16-Way F USCAR 0.64 Series (BU)

Terminal Part Information

  • Terminal/Tray: SAITS-A03T-M064/14
  • Core/Insulation Crimp: P/P
  • Release Tool/Test Probe: J-38125-215/J-35616-64B (L-BU)

HVAC Control Module C2

Pin

Wire Color

Circuit No.

Function

1

YE

6817

LED Backlight Dimming Control

2

OG

300

Ignition 3 Voltage

3

BK/WH

1851

Ground

4

RD/WH

3340

Battery Positive Voltage

5

D-GN

5060

Low Speed GMLAN Serial Data

6

D-BU

204

A/C Low Pressure Sensor Signal

7

--

--

Not Used

8

WH

193

Rear Defog Relay Control

9

--

--

Not Used

10

BK

1050

Ground

11

GY

597

5-Volt Reference

12

D-GN

6101

Low Reference

13-16

--

--

Not Used

HVAC Control Module C3


Object Number: 1715228  Size: CH

Connector Part Information

  • OEM: 15491304
  • Service: 15126710
  • Description: 20-Way F USCAR 0.64 Series (GY)

Terminal Part Information

  • Terminal/Tray: SAITS-A03T-M064/14
  • Core/Insulation Crimp: P/P
  • Release Tool/Test Probe: J-38125-215/J-35616-64B (L-BU)

HVAC Control Module C3

Pin

Wire Color

Circuit No.

Function

1

--

--

Not Used

2

YE/BK

713

Defrost/Heater Mode Valve Position Sensor Signal

3

--

--

Not Used

4

GY/BK

754

Blower Motor Speed Control

5-9

--

--

Not Used

10

GY

598

5-Volt Reference

11

--

--

Not Used

12

L-BU

733

Air Temperature Door Position Signal

13

D-BU

1646

Auxiliary Air Temperature Door Position Signal

14

--

--

Not Used

15

TN

2273

Mode Door Control

16

D-BU

1199

Air Temperature Door Control

17

D-GN

1614

Recirculation Door Control

18

WH/BK

1236

Auxiliary Air Temperature Door Control

19

--

--

Not Used

20

YE

1791

Low Reference

HVAC Control Module C4


Object Number: 1715225  Size: CH

Connector Part Information

  • OEM: 15483874
  • Service: 21997401
  • Description: 16-Way F Kaizen 0.64 Series (GN)

Terminal Part Information

  • Terminal/Tray: SAITS-A03T-M064/14
  • Core/Insulation Crimp: P/P
  • Release Tool/Test Probe: J-38125-215/J-35616-64B (L-BU)

HVAC Control Module C4

Pin

Wire Color

Circuit No.

Function

1

--

--

Not Used

2

GY

596

5-Volt Reference

3

OG

2215

Auxiliary Mode Door Control

4

GY

2614

Auxiliary Air Temperature Door Control

5

GY/BK

1798

Low Reference

6-9

--

--

Not Used

10

D-GN

2211

Auxiliary Blower Motor Speed Control

11-16

--

--

Not Used

Mode Actuator


Object Number: 280764  Size: CH

Connector Part Information

  • OEM: 12064993
  • Service: 12102485
  • Description: 6-Way F Micro-Pack 100 Series (BK)

Terminal Part Information

  • Pins: 5- 7, 9, 10
  • Terminal/Tray: 12146447/3
  • Core/Insulation Crimp: E/C
  • Release Tool/Test Probe: 12031876-1/J-35616-6 (BN)

Mode Actuator

Pin

Wire Color

Circuit No.

Function

5

BN

839

Ignition Voltage

6

TN

2273

Mode Door Control

7

YE

1791

Low Reference

8

--

--

Not Used

9

L-GN

713

Mode Door Position Signal

10

L-BU/BK

598

5-Volt Reference

Mode Actuator - Auxiliary (LWB)


Object Number: 280764  Size: CH

Connector Part Information

  • OEM: 12064993
  • Service: 12102485
  • Description: 6-Way F Micro-Pack 100 Series (BK)

Terminal Part Information

  • Pins: 5- 7, 9, 10
  • Terminal/Tray: 12146447/3
  • Core/Insulation Crimp: E/C
  • Release Tool/Test Probe: 12031876-1/J-35616-6 (BN)

Mode Actuator - Auxiliary (LWB)

Pin

Wire Color

Circuit No.

Function

5

BN

1639

Ignition Voltage

6

WH

2215

Auxiliary Mode Door Control

7

GY/BK

1798

Low Reference

8

--

--

Not Used

9

YE/BK

2599

Auxiliary Mode Door Position Signal

10

GY

596

5-Volt Reference

Mode Actuator - Auxiliary (SWB)


Object Number: 280764  Size: CH

Connector Part Information

  • OEM: 12064993
  • Service: 12102485
  • Description: 6-Way F Micro-Pack 100 Series (BK)

Terminal Part Information

  • Pins: 5- 7, 9, 10
  • Terminal/Tray: 12146447/3
  • Core/Insulation Crimp: E/C
  • Release Tool/Test Probe: 12031876-1/J-35616-6 (BN)

Mode Actuator - Auxiliary (SWB)

Pin

Wire Color

Circuit No.

Function

5

PK

1639

Ignition Voltage

6

OG

2215

Auxiliary Mode Door Control

7

GY/BK

1798

Low Reference

8

--

--

Not Used

9

GY

2599

Auxiliary Mode Door Position Signal

10

GY

596

5-Volt Reference

Recirculation Actuator


Object Number: 280764  Size: CH

Connector Part Information

  • OEM: 12064993
  • Service: 12102485
  • Description: 6-Way F Micro-Pack 100 Series (BK)

Terminal Part Information

  • Pins: 5- 7
  • Terminal/Tray: 12146447/3
  • Core/Insulation Crimp: E/C
  • Release Tool/Test Probe: 12031876-1/J-35616-6 (BN)

Recirculation Actuator

Pin

Wire Color

Circuit No.

Function

5

BN

839

Ignition Voltage

6

D-GN

1614

Recirculation Door Control

7

YE

1791

Low Reference

8-10

--

--

Not Used