GM Service Manual Online
For 1990-2009 cars only
Makes
🢒
Cadillac
🢒
2007
🢒
Escalade EXT
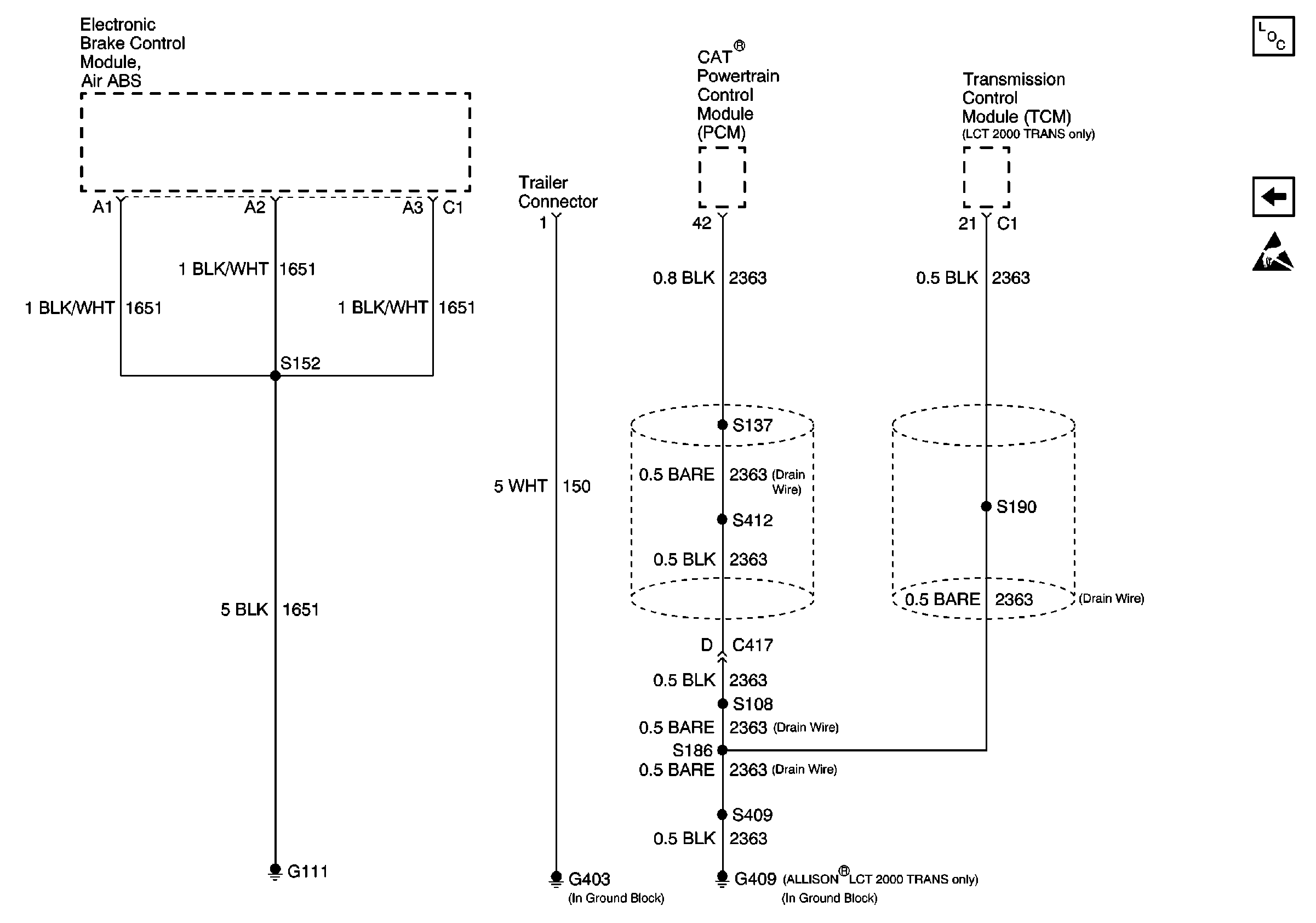
🢒 G111, G403, G409
G111, G403, G409
G111, G403, G409
Power and Grounding Components
Ground Block, G404, G405, G406
Handling ESD Sensitive Parts Notice