GM Service Manual Online
For 1990-2009 cars only
Makes
🢒
Cadillac
🢒
2007
🢒
Escalade EXT
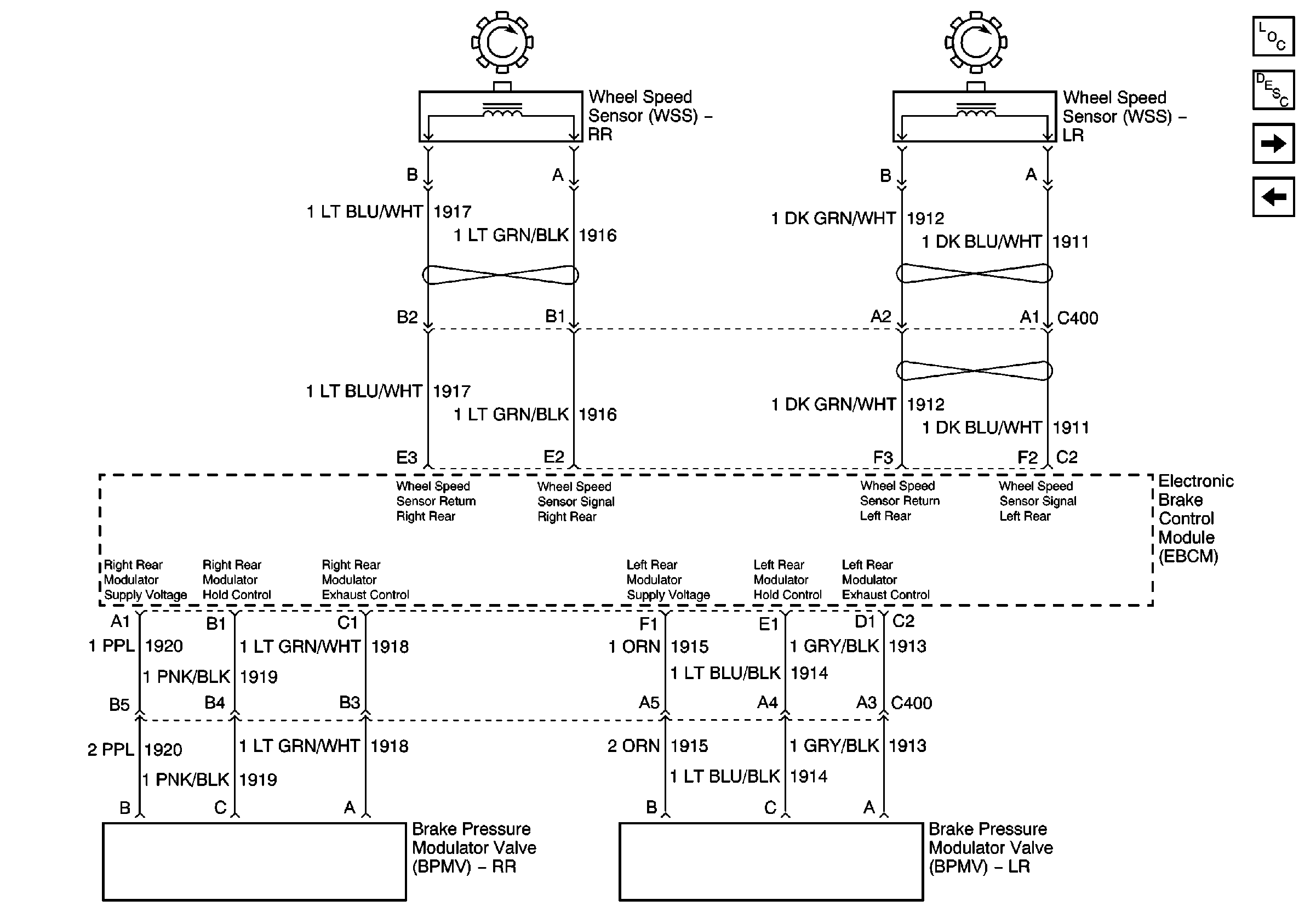
🢒 Rear Wheel Speed Sensors
Rear Wheel Speed Sensors
Rear Wheel Speed Sensors
Master Electrical Component List
Air ABS Description and Operation
Front Wheel Speed Sensors
ABS Indicator Relay, EBCM