GM Service Manual Online
For 1990-2009 cars only
Makes
🢒
Cadillac
🢒
2007
🢒
Escalade EXT
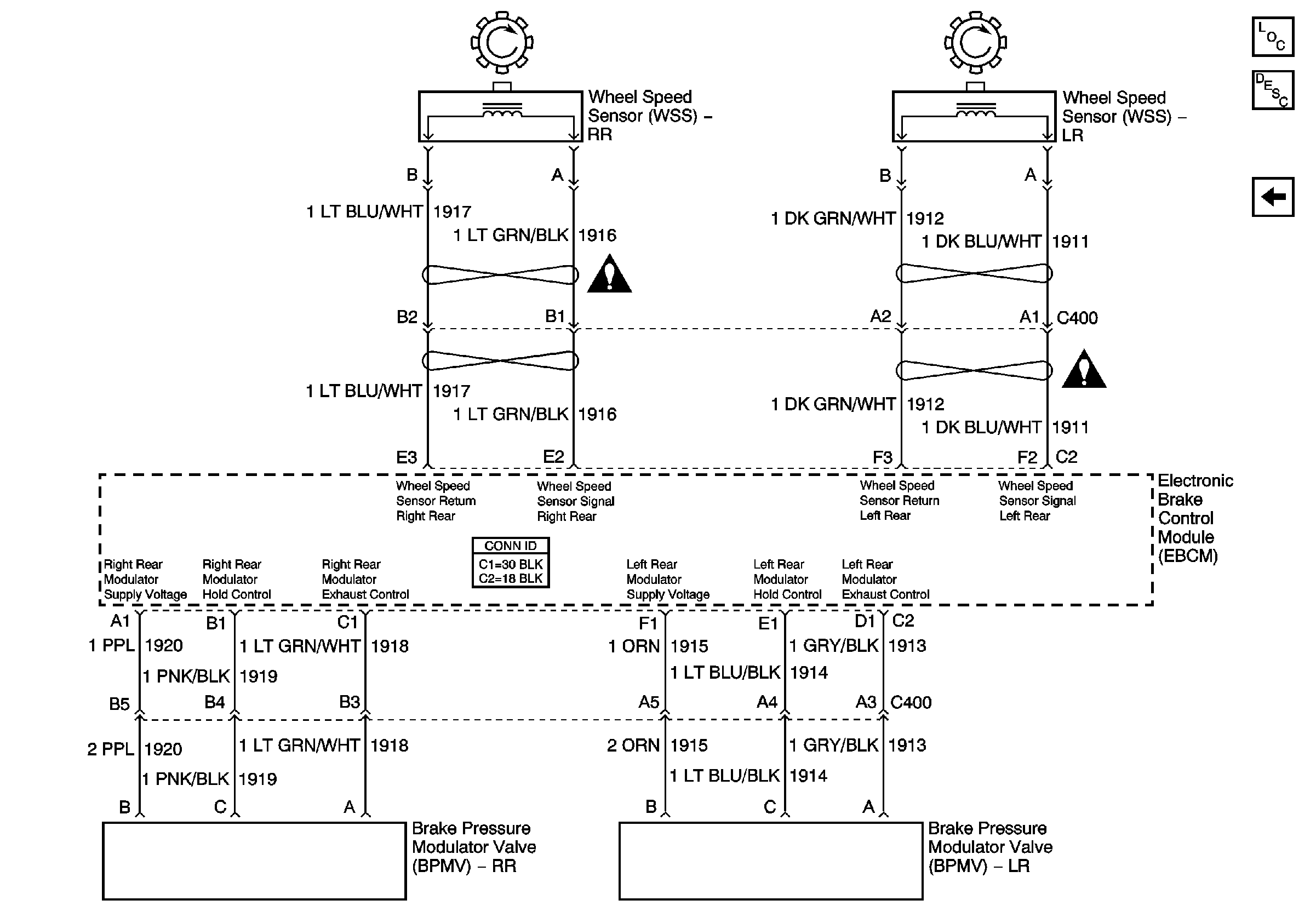
🢒 Air ABS System - Wheel Speed Sensors, EBCM and BPMV
Air ABS System - Wheel Speed Sensors, EBCM and BPMV
Rear Wheel Speed Sensors
Master Electrical Component List
ABS Description and Operation
Air ABS System - Wheel Speed Sensors, EBCM and BPMV
02 MD-540 Air ABS Schematics - ABS Ind Rly, Stop Lamp SW Interface Module, IPC, PCM
Air Antilock Brake System Schematic Icons
Air Antilock Brake System Schematic Icons