GM Service Manual Online
For 1990-2009 cars only
Makes
🢒
Cadillac
🢒
2007
🢒
Escalade EXT
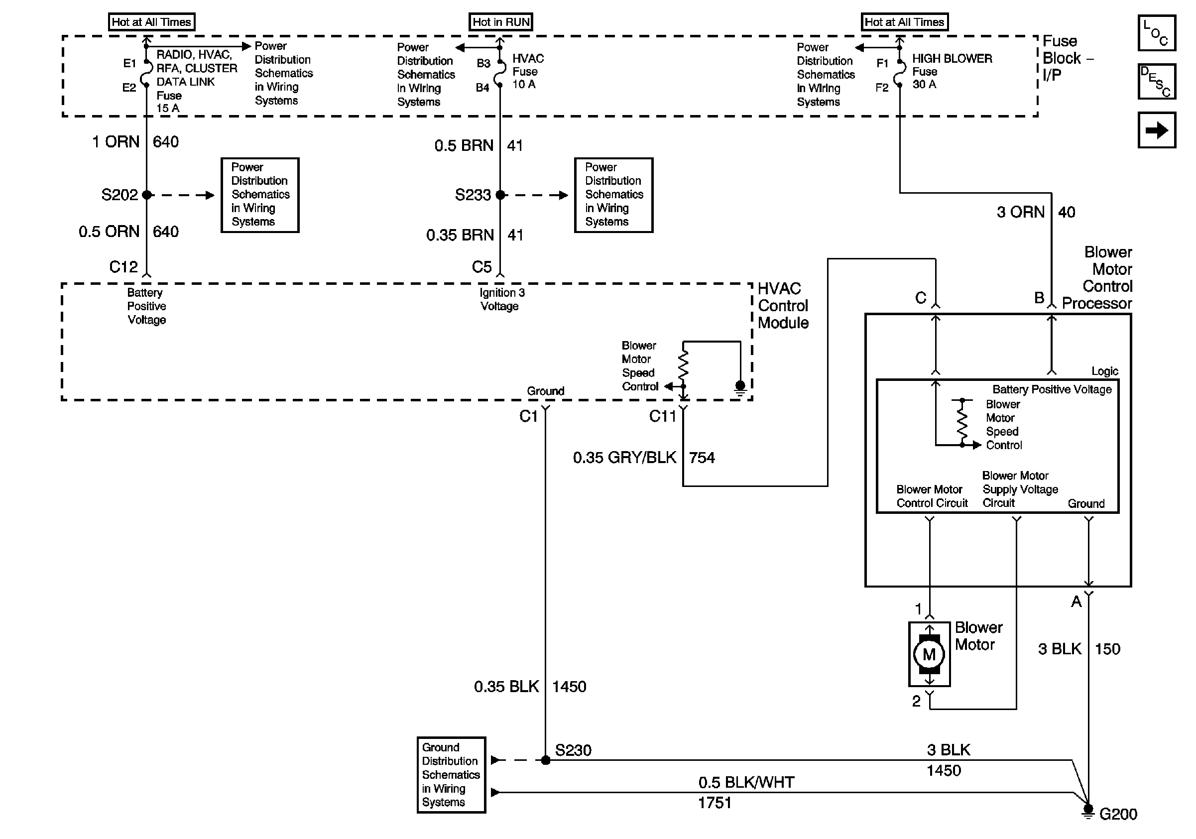
🢒 Blower Controls
Blower Controls
Blower Controls
Master Electrical Component List
Air Delivery Description and Operation
Compressor Controls
Batt 1 Fuse
Blower, Cruise, HVAC
Batt 2
Batt 1 Fuse
Blower, Cruise, HVAC
G200 (Page 1 of 2)