GM Service Manual Online
For 1990-2009 cars only
Makes
🢒
Cadillac
🢒
2007
🢒
Escalade EXT
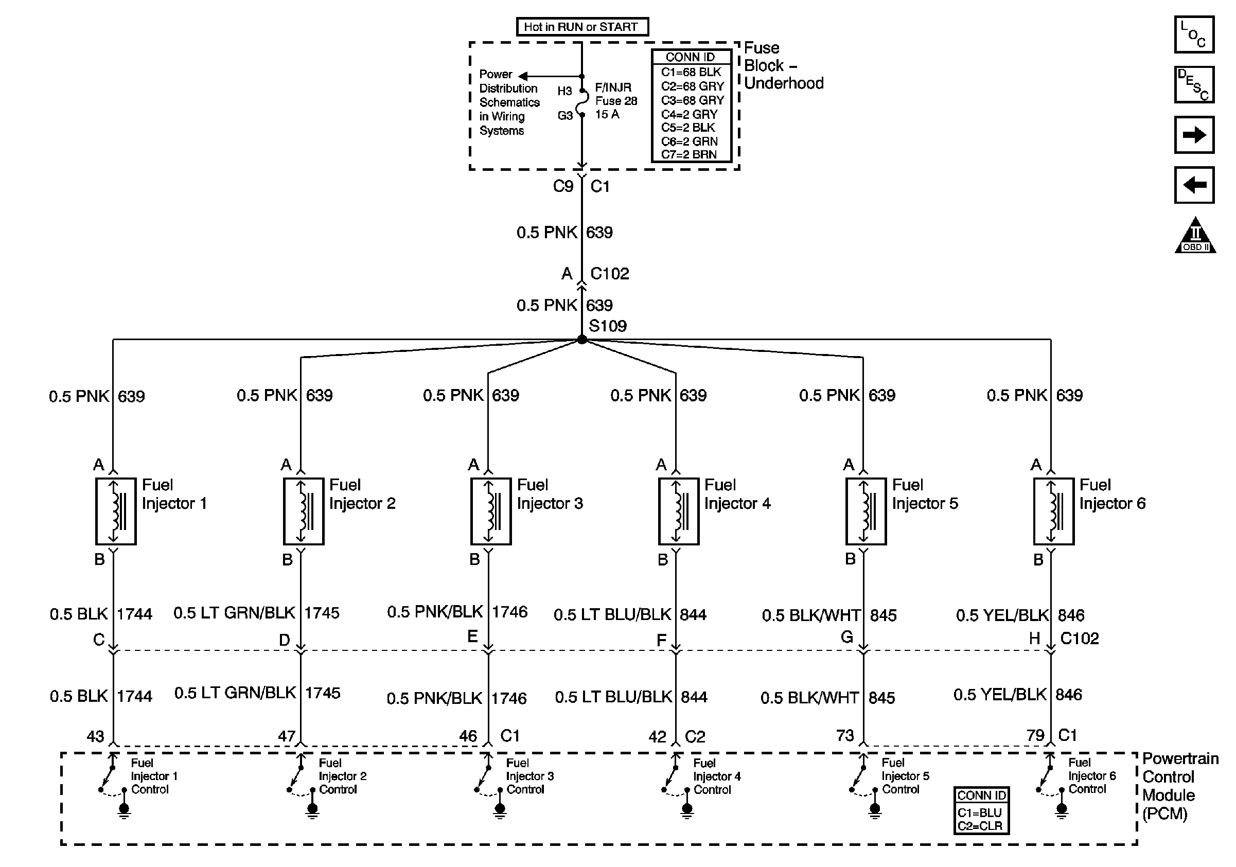
🢒 Fuel Injectors
Fuel Injectors
Fuel Injectors
Master Electrical Component List
Fuel System Description
EVAP Controls and FTP Sensor
Fuel Pump Controls
OBD II Symbol Description Notice
Fuse Block Underhood Power Bussing (Page 1 of 2)