GM Service Manual Online
For 1990-2009 cars only
Makes
🢒
Cadillac
🢒
2007
🢒
Escalade EXT
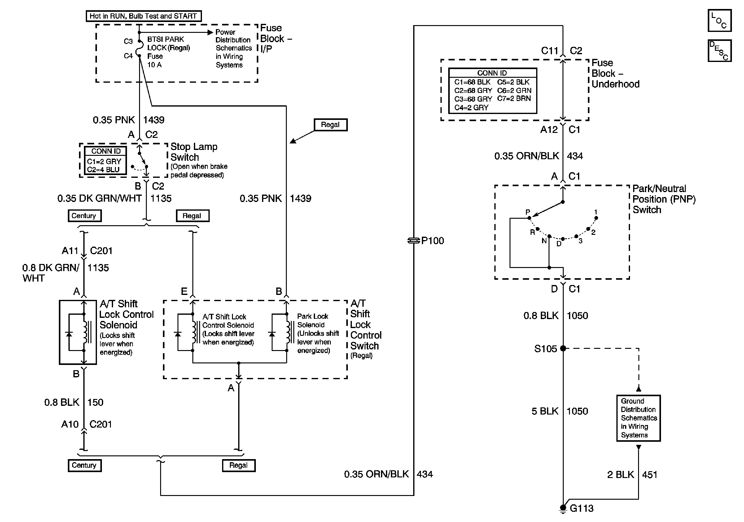
🢒 Shift Lock Control
Shift Lock Control
Master Electrical Component List
Automatic Transmission Shift Lock Control Description and Operation
ABS, BTSI
G113