GM Service Manual Online
For 1990-2009 cars only
Makes
🢒
Cadillac
🢒
2007
🢒
Escalade EXT
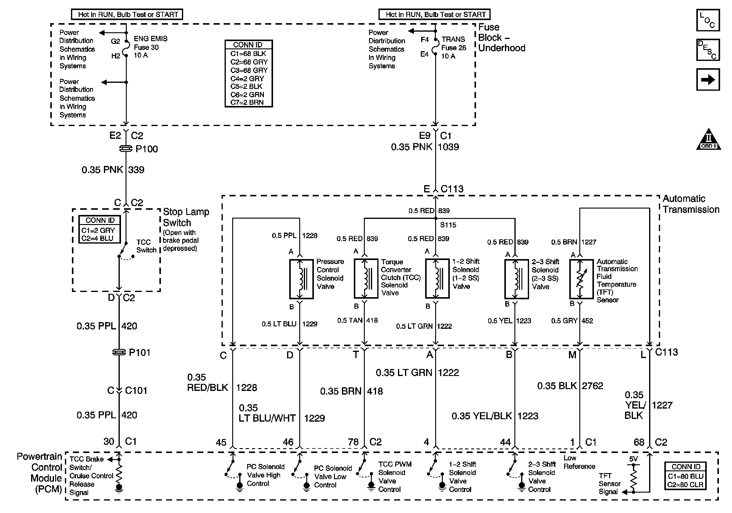
🢒 Solenoid Controls and TFT Sensor
Solenoid Controls and TFT Sensor
Solenoid Controls and TFT Sensor
Master Electrical Component List
Transmission Component and System Description
Fluid Pressure Manual Valve Position Switch and ISS Sensor
OBD II Symbol Description Notice
Fuse Block Underhood Power Bussing (Page 1 of 2)
Stop, EVAP, MAF
Fuse Block Underhood Power Bussing (Page 1 of 2)