GM Service Manual Online
For 1990-2009 cars only
Makes
🢒
Cadillac
🢒
2007
🢒
Escalade EXT
🢒 Keyless Entry
Keyless Entry
Master Electrical Component List
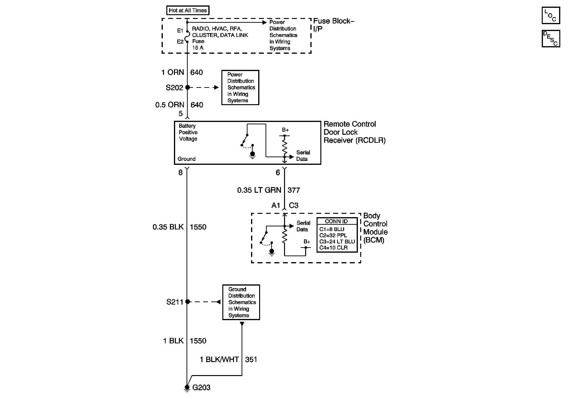
Keyless Entry System Description and Operation
Batt 1 Fuse
Batt 1 Fuse
G203 (Page 1 of 2)