GM Service Manual Online
For 1990-2009 cars only
Makes
🢒
Cadillac
🢒
2007
🢒
Escalade EXT
🢒 Power Distribution System Schematics - Feed From Circuit Breaker 6
Power Distribution System Schematics - Feed From Circuit Breaker 6
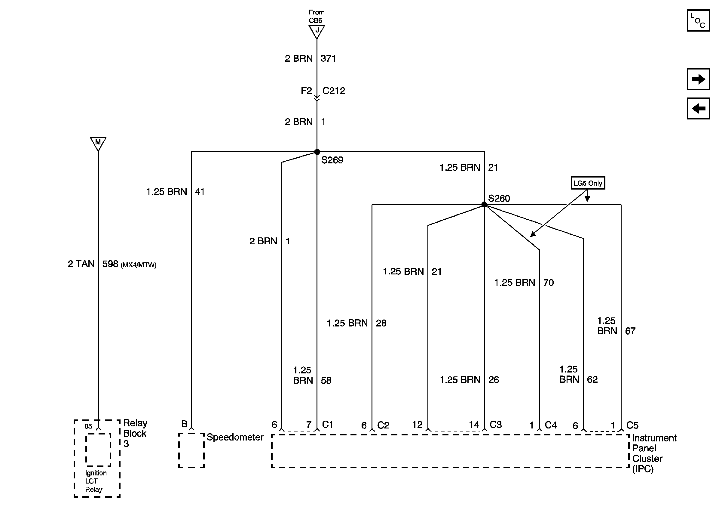
Circuit Breaker 6 (2 of 3)
Master Electrical Component List
Power Distribution System Schematics - Feed From Circuit Breaker 6
Power Distribution System Schematics - Fuse Block I/P, C.B. 6
Power Distribution System Schematics - Fuse Block I/P, C.B. 6
Power Distribution System Schematics - Fuse Block I/P, C.B. 6