GM Service Manual Online
For 1990-2009 cars only
Makes
🢒
Cadillac
🢒
2007
🢒
Escalade EXT
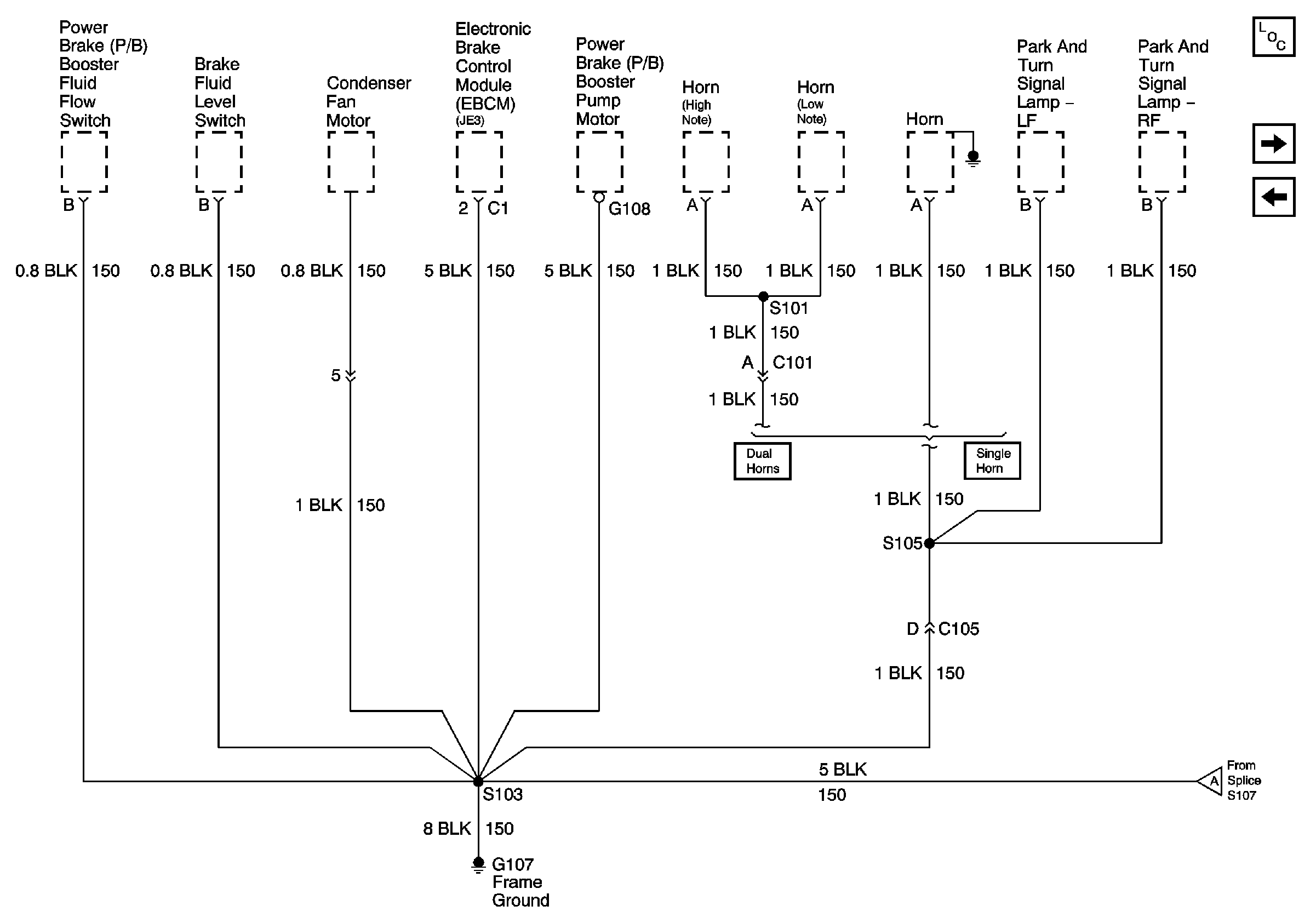
🢒 Ground Distribution Schematics - G107, G108, S101, S103 and S105
Ground Distribution Schematics - G107, G108, S101, S103 and S105
G107, S103
Master Electrical Component List
Ground Distribution Schematics - S107
Ground Distribution Schematics - Batt, Cab, ENG, GEN and STRT GND
Ground Distribution Schematics - S107