GM Service Manual Online
For 1990-2009 cars only

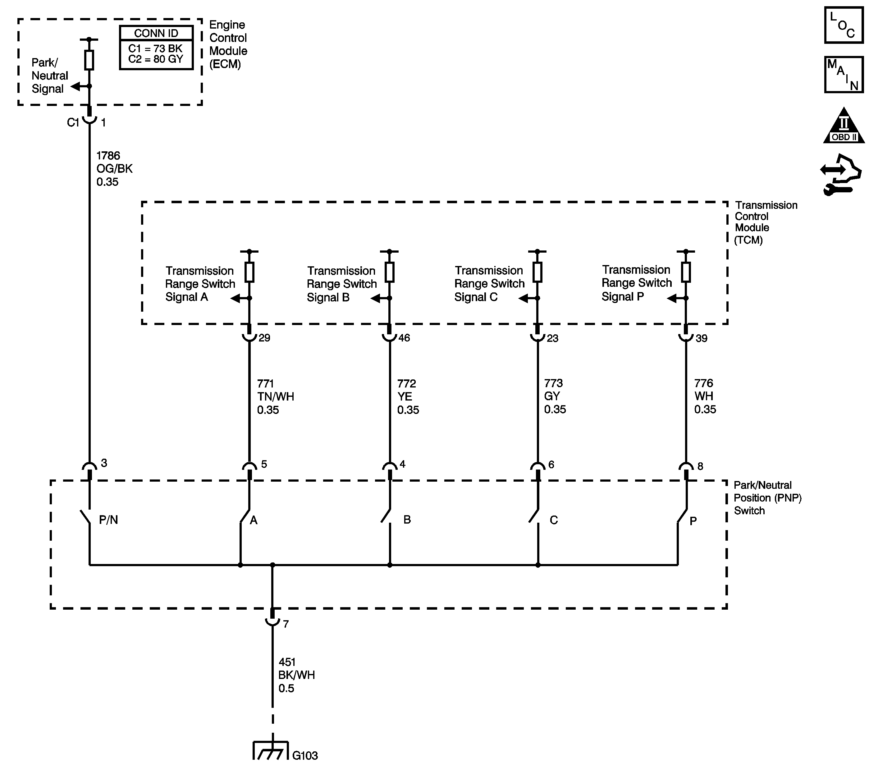
Object Number: 1746376  Size: LF
Master Electrical Component List
Automatic Transmission Controls Schematics
OBD II Symbol Description Notice
Control Module References

Circuit Description

The Park/Neutral Position (PNP) Switch is externally mounted on the transmission manual shaft. As the gear range selector lever is moved, the state of the P/N switch may change, causing the Park/Neutral Signal circuit to open or close. An open circuit or switch indicates a drive range and a high voltage signal at the engine control module (ECM). A closed circuit or switch indicates PARK or NEUTRAL and a low voltage, 0 volts, signal at the ECM.

The ECM uses the PNP Switch status in order to enable starter operation.

If the PNP switch signal indicates low when the vehicle is in motion for a specified length of time, DTC P0852 sets. DTC P0852 is a type C DTC.

DTC Descriptor

This Diagnostic procedure supports the following DTC:

DTC P0852 Park/Neutral Position (PNP) Switch Circuit High Voltage

Conditions for Running the DTC

    • No transmission serial data DTC U0100.
    • No vehicle speed DTC P0722 or P0723.
    • No engine torque DTC P0101, P0102, P0103, P0106, P0107, or P0108.
    • No throttle position DTC P0120-P0123, P0220, P0222, P0223, or P2135.
    • The ignition voltage is 9-18 volts.
    • The transmission gear selector serial data message has been received and is valid.
    • The engine speed is greater than 400 RPM.

Conditions for Setting the DTC

The following conditions are met for at least 3 seconds:

    • The park/neutral switch circuit is low, 0 volts
    • The TCM is reporting the gear selector is in PARK or NEUTRAL
    • The throttle position sensor indicates greater than 10 percent.
    • The engine torque is greater than 75 N·m (55 lb ft).
    • The vehicle speed is greater than 10 km/h (6 MPH).

Action Taken When the DTC Sets

    • The ECM does not illuminate the malfunction indicator lamp (MIL).
    • The ECM uses Park/Neutral Switch data to enable engine cranking.
    • The ECM stores the operating conditions when the Conditions for Setting the DTC are met. This information is stored as a Failure Record.
    • The ECM stores DTC P0852 in ECM history.

Conditions for Clearing the MIL/DTC

    • The ECM clears the DTC from ECM history if the vehicle completes 40 warm-up cycles without a non emission diagnostic fault occurring.
    • The ECM cancels the default action when the ignition is OFF long enough in order to power down the ECM.
    • A scan tool can clear the DTC.

DTC P0852

Step

Action

Value(s)

Yes

No

1

Did you perform the Diagnostic System Check - Vehicle?

--

Go to Step 2

Go to Diagnostic System Check - Vehicle

2

  1. Install a scan tool.
  2. Turn ON the ignition with the engine OFF.
  3. Important: Before clearing the DTC, use the scan tool in order to record the Freeze Frame and Failure Records. Using the Clear Info function erases the Freeze Frame and Failure Records from the ECM and TCM.

  4. Record the DTC Freeze Frame and Failure Records.
  5. Clear the DTC.
  6. Select PNP Switch on the scan tool.
  7. With the scan tool, observe the PNP Switch parameter while selecting each transmission range: P, R, N, D4, D3, D2 and D1.

Does each selected transmission range correspond to the correct scan tool PNP Switch parameter displayed?

--

Go to Testing for Intermittent Conditions and Poor Connections

Go to Step 3

3

  1. Turn OFF the ignition.
  2. Disconnect the PNP switch connector at the switch.
  3. Turn ON the ignition, with the engine OFF.

Does the scan tool PNP Switch parameter indicate Drive?

--

Go to Step 4

Go to Step 5

4

Connect a fused jumper wire between the PNP switch connector, P/N signal circuit, and ground while monitoring the scan tool PNP Switch parameter.

When the P/N signal is grounded, does the PNP Switch parameter indicate PARK?

--

Go to Step 7

Go to Step 6

5

Test the signal circuit of the PNP switch for a short to ground between the ECM and PNP Switch connector. Refer to Testing for Continuity and Wiring Repairs .

Did you find and correct the condition?

--

Go to Step 10

Go to Step 9

6

Test the signal circuit of the PNP switch for an open. Refer to Testing for Continuity and Wiring Repairs .

Did you find and correct the condition?

--

Go to Step 10

Go to Step 9

7

Test the PNP ground circuit of the PNP switch for an open condition. Refer to Circuit Testing and Wiring Repairs .

Did you find and correct the condition?

--

Go to Step 10

Go to Step 8

8

Replace the PNP switch. Refer to Park/Neutral Position Switch Replacement .

Did you complete the replacement?

--

Go to Step 10

--

9

Replace the ECM.

Refer to Control Module References for replacement, setup and programming.

Did you complete the replacement?

--

Go to Step 10

--

10

Perform the following procedure to verify the repair:

  1. Select DTC.
  2. Select Clear Info.
  3. Drive the vehicle in the conditions recorded in the Failure Records.
  4. Select Specific DTC.
  5. Enter DTC P0852.

Has the test run and passed?

--

Go to Step 11

Go to Step 2

11

With the scan tool, observe the stored information, capture info and DTC info.

Does the scan tool display any DTCs that you have not diagnosed?

--

Go to Diagnostic Trouble Code (DTC) List - Vehicle

System OK