GM Service Manual Online
For 1990-2009 cars only

Object Number: 1747814  Size: MF
Master Electrical Component List
Automatic Transmission Controls Schematics
OBD II Symbol Description Notice
Control Module References

Circuit Description

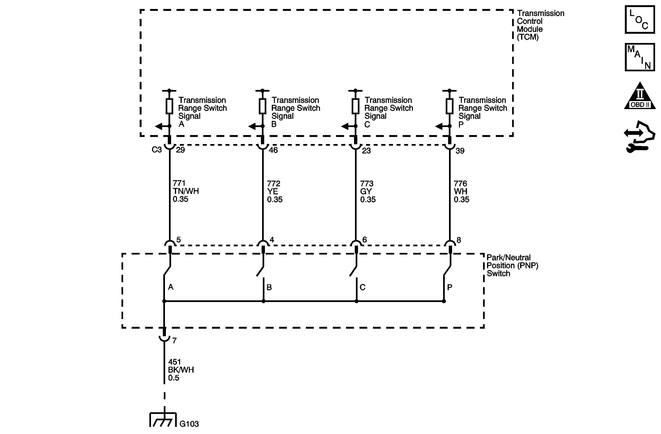
The transmission range (TR) switch is part of the park/neutral position and back-up lamp switch assembly and is externally mounted on the transmission manual shaft. The TR switch is a multi-signal switch. The transmission control module (TCM) supplies ignition voltage to the TR switch on 4 signal circuits, A, B, C, and P. Each gear selector lever position grounds one or more of the switch circuits. In order to determine the gear range selected by the driver, the TCM compares the voltage combinations on the signal circuits to a look up table stored in the TCM memory. TCM detects the selected gear range by the state change of the switch input. Refer to Transmission Range Switch Logic table.

Switch input to the TCM is represented on the scan tool as HI and LOW. HI indicates an ignition voltage signal. LOW indicates a zero voltage signal. The 4 parameters represent transmission range switch signal A, B, C and Parity.

When the TCM detects an invalid TR switch signal combination, then DTC P0705 sets. DTC P0705 is a type C DTC.

DTC Descriptor

This diagnostic procedure supports the following DTC:

DTC P0705 Transmission Range (TR) Switch Circuit

Conditions for Running the DTC

    • The system voltage is 8-18 volts.
    • The engine run time is greater than 5 seconds.

Conditions for Setting the DTC

The combination of TR switch signals are invalid for 60 seconds. Refer to the Transmission Range Switch Logic table.

Action Taken When the DTC Sets

    • The TCM does not illuminate the malfunction indicator lamp (MIL).
    • The TCM records the operating conditions when the Conditions for Setting the DTC are met. The TCM stores this information as Failure Records.
    • The TCM stores DTC P0705 in TCM memory.

Conditions for Clearing the DTC

    • A scan tool can clear the DTC.
    • The TCM clears the DTC from TCM history if the vehicle completes 40 warm-up cycles without a non-emission-related diagnostic fault occurring.
    • The TCM cancels the DTC default actions when the fault no longer exists and the DTC passes.

Test Description

The numbers below refer to the step numbers on the diagnostic table.

  1. By disconnecting the TR switch, the ground path of all TR switch circuits would be removed and the TCM would recognize all circuits as open. The scan tool will display HI for all range signals.

  2. This step tests TR switch wiring for an open or the lack of the signal voltage from the TCM.

  3. This step tests TR switch wiring and the TCM by providing a ground path through a fused jumper wire. When grounded, the scan tool range signal A should change to LOW.

  4. This step tests TR switch wiring and the TCM by providing a ground path through a fused jumper wire. When grounded, the scan tool range signal B should change to LOW.

  5. This step tests TR switch wiring and the TCM by providing a ground path through a fused jumper wire. When grounded, the scan tool range signal C should change to LOW.

DTC P0705

Step

Action

Values

Yes

No

1

Did you perform the Diagnostic System Check - Vehicle?

--

Go to Step 2

Go to Diagnostic System Check - Vehicle

2

  1. Install a scan tool.
  2. Turn ON the ignition, with the engine OFF.
  3. Select TR Sw. on the scan tool.
  4. With the scan tool, observe the TR Sw. display while selecting each transmission range: P, R, N, D3, D2 and D1.

Does each selected transmission range match the scan tool TR Sw. display?

--

Go to Testing for Intermittent Conditions and Poor Connections

Go to Step 3

3

  1. Inspect the park/neutral position (PNP) switch assembly for the following:
  2. • Damage
    • Loose or missing mounting hardware
    • Proper adjustment
  3. Inspect the shift cable for the following:
  4. • Damaged or stretched cable
    • Proper adjustment

Did you find and correct a condition?

--

Go to Step 16

Go to Step 4

4

With the scan tool, observe the TR Sw. A/B/C/P display.

Does the scan tool TR Sw. A/B/C/P parameter indicate HI for all range signal states?

--

Go to Step 13

Go to Step 5

5

  1. Turn OFF the ignition.
  2. Disconnect the transmission range (TR) switch connector.
  3. Turn ON the ignition, with the engine OFF.

Does the scan tool TR Sw. A/B/C/P parameter indicate HI for all range signal states?

--

Go to Step 6

Go to Step 10

6

  1. Using the DMM and the J 35616 GM Terminal Test Kit, measure the voltage from the signal A circuit of the TR switch connector to ground.
  2. Measure the voltage from the signal B circuit of the TR switch connector to ground.
  3. Measure the voltage from the signal C circuit of the TR switch connector to ground.
  4. Measure the voltage from the signal P circuit of the TR switch connector to ground.

Does the voltage measure within the specified value at all 4 terminals?

10-12 V

Go to Step 7

Go to Step 11

7

Connect a fused jumper wire from the TR switch connector, signal A circuit, to ground while monitoring the scan tool TR Sw. A/B/C/P parameter.

When the signal A circuit is grounded, do any other signal circuits indicate LOW?

--

Go to Step 12

Go to Step 8

8

Connect a fused jumper wire from the TR switch connector, signal B circuit, to ground while monitoring the scan tool TR Sw. A/B/C/P parameter.

When the signal B circuit is grounded, do any other signal circuits indicate LOW?

--

Go to Step 12

Go to Step 9

9

Connect a fused jumper wire from the TR switch connector, signal C circuit, to ground while monitoring the scan tool TR Sw. A/B/C/P parameter.

When the signal C circuit is grounded, do any other signal circuits indicate LOW?

--

Go to Step 12

Go to Step 14

10

Test the signal circuit or circuits of the TR switch that did not indicate HI for a short to ground.

Refer to Testing for Short to Ground and Wiring Repairs .

Did you find and correct the condition?

--

Go to Step 16

Go to Step 15

11

Test the signal circuit or circuits of the TR switch that did not indicate proper voltage for an open.

Refer to Testing for Continuity and Wiring Repairs .

Did you find and correct the condition?

--

Go to Step 16

Go to Step 15

12

Test the affected signal circuits of the TR switch for a shorted together condition.

Refer to Circuit Testing and Wiring Repairs .

Did you find and correct the condition?

--

Go to Step 16

Go to Step 15

13

Test the ground circuit of the TR switch for an open.

Refer to Testing for Continuity and Wiring Repairs .

Did you find and correct the condition?

--

Go to Step 16

Go to Step 14

14

Replace the TR switch, this switch is part of the park/neutral position (PNP) switch.

Refer to Park/Neutral Position Switch Replacement .

Did you complete the replacement?

--

Go to Step 16

--

15

Replace the TCM.

Refer to Control Module References for replacement, setup, and programming.

Did you complete the replacement?

--

Go to Step 16

--

16

Perform the following procedures in order to verify the repair:

  1. Select DTC.
  2. Select Clear Info.
  3. Drive the vehicle greater than 8 km/h (5 mph) for a short distance, then stop the vehicle.
  4. Select each transmission range: P, R, N, D3, D2 and D1.
  5. Place the transmission in PARK.
  6. Select Specific DTC. Enter DTC P0705.

Has the test run and passed?

--

Go to Step 17

Go to Step 2

17

With the scan tool, observe the stored information, capture info, and DTC Info.

Does the scan tool display any DTCs that you have not diagnosed?

--

Go to Diagnostic Trouble Code (DTC) List - Vehicle

System OK