GM Service Manual Online
For 1990-2009 cars only

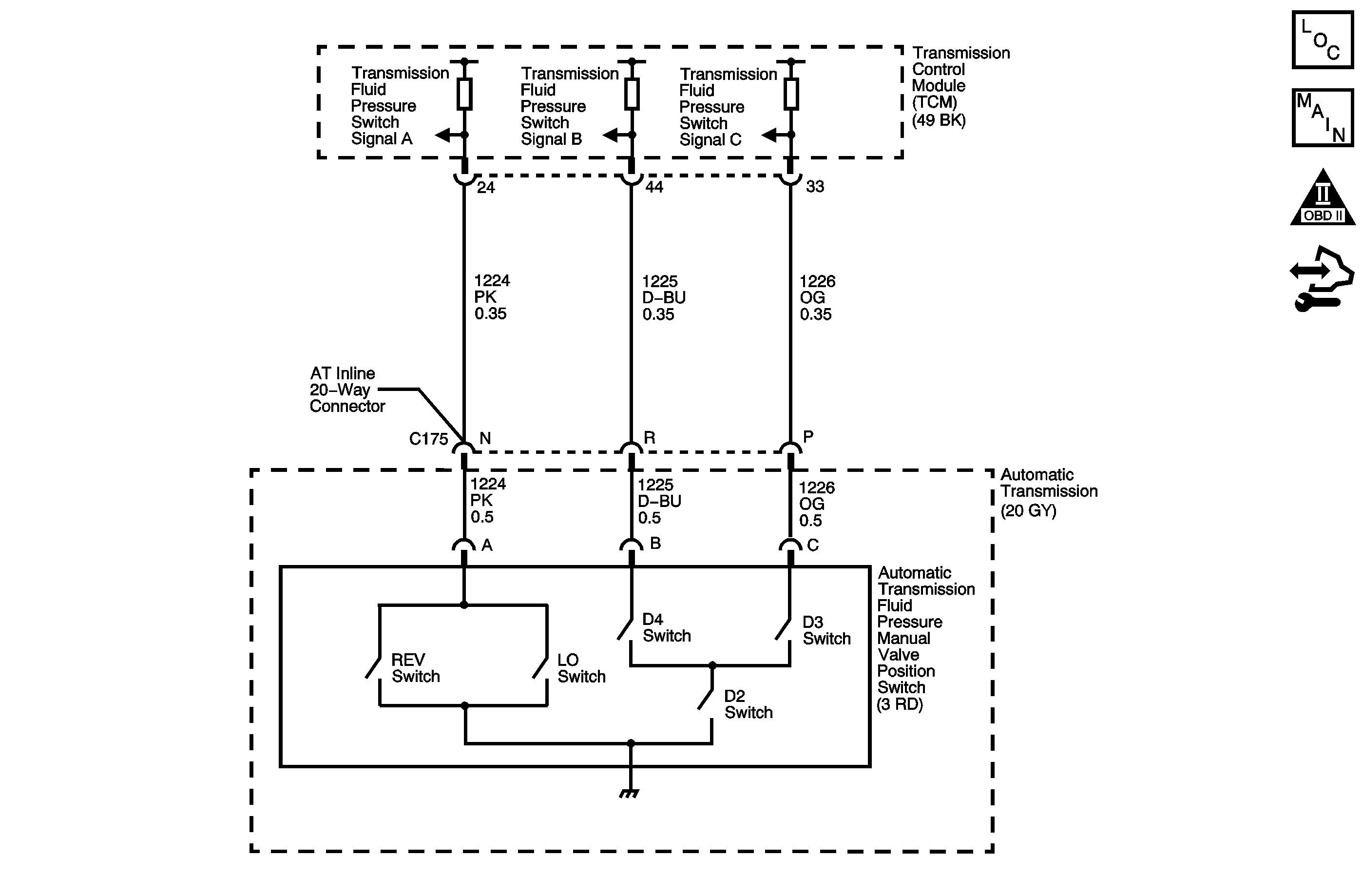
Object Number: 1778984  Size: MF
Master Electrical Component List
Automatic Transmission Controls Schematics
OBD II Symbol Description Notice
Control Module References

Circuit Description

The automatic transmission fluid pressure (TFP) manual valve position switch consists of five normally open pressure switches. The transmission control module (TCM) supplies battery voltage to each range signal. By grounding one or more of these circuits through various combinations of the pressure switches, the TCM detects what manual valve position has been selected, and compares the actual voltage combination of the switches to a TFP manual valve position switch combination table stored in memory.

The TFP manual valve position switch assembly cannot distinguish between PARK and NEUTRAL because the monitored valve body pressures are identical in both cases. With the ignition ON and the engine OFF, D2 is indicated. When the transmission 20-way connector is disconnected, the ground potential for the three range signals to the TCM is removed, and with the ignition ON, D2 is indicated.

If the TCM detects an invalid state of the TFP manual valve position switch circuit by deciphering the TFP manual valve position switch inputs, then DTC P1810 sets. DTC P1810 is a type B DTC.

DTC Descriptor

This diagnostic procedure supports the following DTC:

DTC P1810 Transmission Fluid Pressure (TFP) Position Switch Circuit

Conditions for Running the DTC

    • No PSA DTC P1810.
    • The system voltage is 8-18 volts.
    • The engine run time is 5 seconds or greater.

Conditions for Setting the DTC

The TCM detects an illegal TFP manual valve position switch state for 60 seconds.

Action Taken When the DTC Sets

    • The TCM requests the engine control module (ECM) to illuminate the malfunction indicator lamp (MIL) during the second consecutive trip in which the Conditions for Setting the DTC are met.
    • The TCM commands maximum line pressure.
    • The TCM assumes D4 for shifting.
    • The TCM freezes transmission adaptive functions.
    • The ECM records the operating conditions when the Conditions for Setting the DTC are met. The ECM stores this information as Freeze Frame and Failure Records.
    • The TCM stores the DTC P1810 in TCM history during the second consecutive trip in which the Conditions for Setting the DTC are met.
    • The TCM records the operating conditions when the Conditions for Setting the DTC are met. The TCM stores this information as Failure Records.

Conditions for Clearing the MIL/DTC

    • The ECM turns OFF the MIL during the third consecutive drive trip in which the TCM does not send a MIL illumination request.
    • A scan tool can clear the MIL/DTC.
    • The TCM clears the DTC from TCM history if the vehicle completes 40 warm-up cycles without an emission related diagnostic fault occurring.
    • The TCM cancels the DTC default actions when the fault no longer exists and the ignition switch is OFF long enough in order to power down the TCM.

Diagnostic Aids

Refer to Transmission Fluid Pressure Manual Valve Position Switch Logic for the normal range signals and the illegal combinations.

Test Description

The numbers below refer to the step numbers on the diagnostic table.

  1. This step tests the indicated range signal to the manual valve that is actually selected.

  2. This step tests the voltage from the TCM to the transmission AT inline 20-way connector.

Step

Action

Yes

No

1

Did you perform the Diagnostic System Check - Vehicle?

Go to Step 2

Go to Diagnostic System Check - Vehicle

2

Inspect for correct transmission fluid level. Refer to Transmission Fluid Check .

Did you perform the Transmission Fluid Checking Procedure?

Go to Step 3

Go to Transmission Fluid Check

3

  1. Install a scan tool.
  2. Turn ON the ignition, with the engine OFF.
  3. Important: Before clearing the DTCs, use the scan tool in order to record the ECM and TCM Freeze Frame and Failure Records. Using the Clear Info function erases the Freeze Frame and Failure Records from the ECM and TCM.

  4. Record the Freeze Frame and Failure Records.
  5. Clear the DTCs.
  6. Start the engine and idle at normal operating temperature.
  7. Apply the brake pedal.
  8. Select each transmission range: D1, D2, D3, D4, N, R, and P. Refer to Transmission Fluid Pressure Manual Valve Position Switch Logic .

Does each selected transmission range match the scan tool TFP switch A/B/C display?

Go to Testing for Intermittent Conditions and Poor Connections

Go to Step 4

4

  1. Inspect the transmission linkage from the gear select lever to the manual valve for proper adjustment.
  2. Adjust the linkage as necessary. Refer to Range Selector Lever Cable Adjustment .

Did the linkage require adjustment?

Go to Step 17

Go to Step 5

5

  1. Turn OFF the ignition.
  2. Disconnect the AT inline 20-way connector. Additional DTCs may set.
  3. Turn ON the ignition, with the engine OFF.

Does the scan tool TFP Switch A/B/C parameter indicate HI for all range signal states?

Go to Step 6

Go to Step 10

6

  1. Turn OFF the ignition.
  2. Install the J 44152 jumper harness (20 pins) on the engine side of the AT inline 20-way connector.
  3. Turn ON the ignition, with the engine OFF.
  4. Using the DMM and the J 35616 GM-approved terminal test kit, measure the voltage from TFP signal A circuit of the J 44152 to ground. Refer to Automatic Transmission Inline 20-Way Connector End View .
  5. Measure the voltage from TFP signal B circuit of the J 44152 to ground.
  6. Measure the voltage from TFP signal C circuit of the J 44152 to ground.

Is ignition voltage measured at all three terminals?

Go to Step 7

Go to Step 11

7

Connect a fused jumper wire from TFP signal A circuit of the J 44152 to ground while monitoring the scan tool TFP Switch A/B/C parameter.

When Transmission Fluid Pressure Switch Signal A circuit is grounded, do any other signal circuits indicate Low?

Go to Step 12

Go to Step 8

8

Connect a fused jumper wire from TFP signal B circuit of the J 44152 to ground while monitoring the scan tool TFP Switch A/B/C parameter.

When Transmission Fluid Pressure Switch Signal B circuit is grounded, do any other signal circuits indicate Low?

Go to Step 12

Go to Step 9

9

Connect a fused jumper wire from TFP signal C circuit of the J 44152 to ground while monitoring the scan tool TFP Switch A/B/C parameter.

When Transmission Fluid Pressure Switch Signal C circuit is grounded, do any other signal circuits indicate Low?

Go to Step 12

Go to Step 13

10

Test the Transmission Fluid Pressure Switch Signal A, Signal B, and Signal C circuits of the TFP manual valve position switch that did not indicate HI for a short to ground between the TCM connectors and the AT inline 20-way connector. Refer to Testing for Short to Ground and Wiring Repairs .

Did you find and correct the condition?

Go to Step 17

Go to Step 16

11

Test the Transmission Fluid Pressure Switch Signal A, Signal B, and Signal C circuits of the TFP manual valve position switch that did not indicate ignition voltage for an open between the TCM connectors and the AT inline 20-way connector. Refer to Testing for Continuity and Wiring Repairs .

Did you find and correct the condition?

Go to Step 17

Go to Step 16

12

Test the affected signal circuits of the TFP manual valve position switch for a shorted together condition between the TCM connectors and the AT inline 20-way connector. Refer to Circuit Testing and Wiring Repairs .

Did you find and correct the condition?

Go to Step 17

Go to Step 16

13

Test the Transmission Fluid Pressure Switch Signal A, Signal B, and Signal C circuits of the TFP manual valve position switch for an open or shorted condition between the TFP manual valve position switch and the AT inline 20-way connector. Refer to Circuit Testing and Wiring Repairs .

Did you find a condition?

Go to Step 14

Go to Step 15

14

Replace the AT wiring harness assembly. Refer to Valve Body and Pressure Switch Replacement .

Did you complete the replacement?

Go to Step 17

--

15

Replace the TFP manual valve position switch. Refer to Valve Body and Pressure Switch Replacement .

Did you complete the replacement?

Go to Step 17

--

16

Replace the TCM. Refer to Control Module References for replacement, setup, and programming.

Did you complete the replacement?

Go to Step 17

--

17

Perform the following procedure in order to verify the repair:

  1. Select DTC.
  2. Select Clear Info.
  3. Start the vehicle and idle for 5 seconds or greater.
  4. Select Specific DTC.
  5. Enter DTC P1810.

Has the test run and passed?

Go to Step 18

Go to Step 2

18

With the scan tool, observe the stored information, capture info and DTC info.

Does the scan tool display any DTCs that you have not diagnosed?

Go to Diagnostic Trouble Code (DTC) List - Vehicle

System OK