|
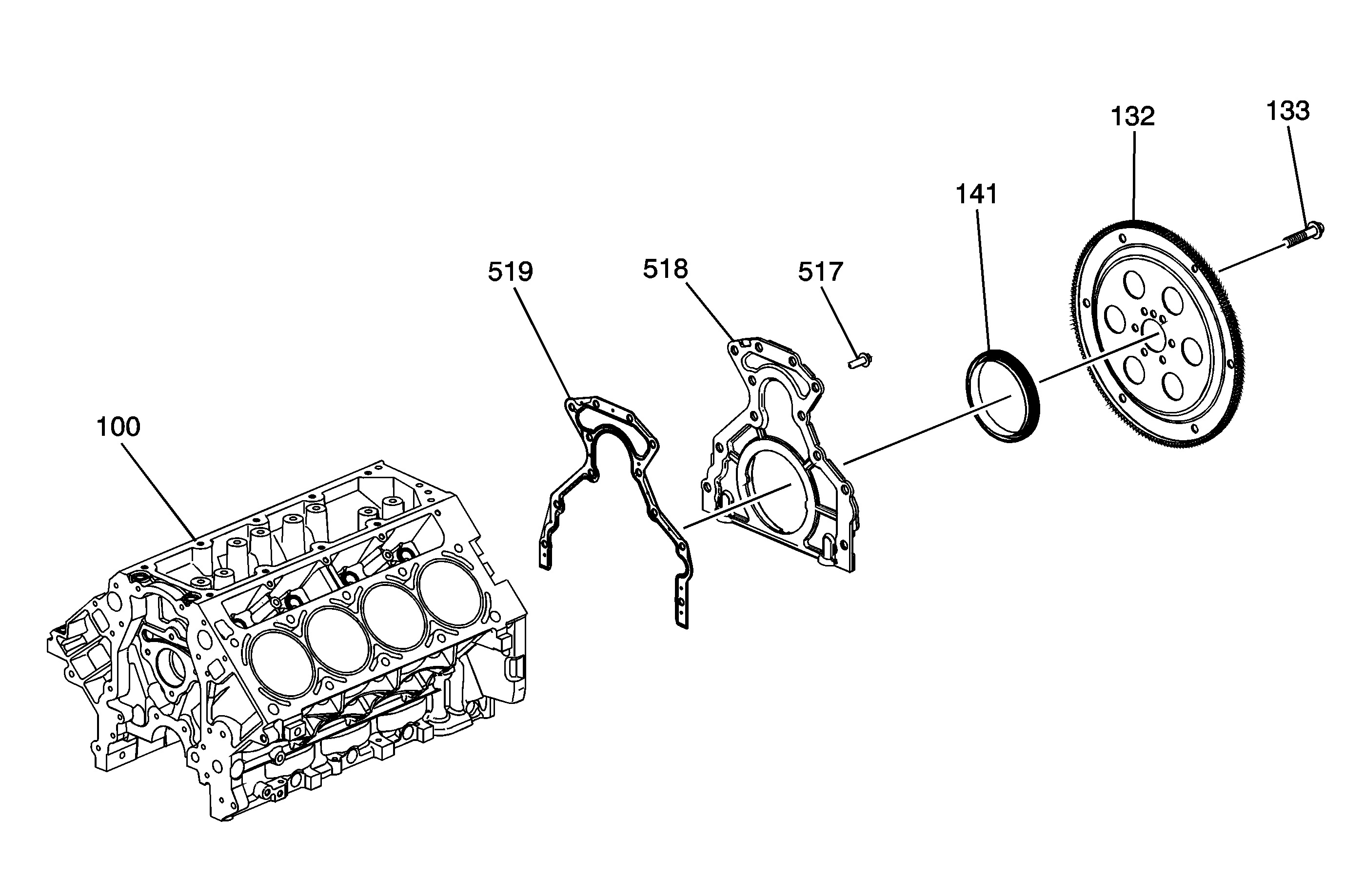
| (100) | Engine Block |
| (209) | Valve Lifter - Non-Active Fuel Management |
| (210) | Valve Lifter Guide |
| (211) | Valve Lifter Guide Bolt |
| (212) | Valve Push Rod |
| (213) | Valve Rocker Arm |
| (214) | Valve Rocker Arm Pivot Support Bolt |
| (215) | Valve Rocker Arm Pivot Support |
| (216) | Cylinder Head Core Hole Plug |
| (217) | Cylinder Head Gasket |
| (218) | Cylinder Head |
| (219) | Valve Lifter - Active Fuel Management |
| (220) | Cylinder Head Bolt - M10 |
| (221) | Cylinder Head Bolt - M8 |
| (222) | Valve Stem Oil Seal |
| (223) | Valve Spring |
| (224) | Valve Spring Cap |
| (225) | Valve Stem Key |
| (226) | Cylinder Head Core Hole Plug |
| (227) | Intake Valve |
| (228) | Exhaust Valve |
| (229) | Cylinder Head Plug |
| (230) | Cylinder Head Locating Pin |
| (422) | Oil Fill Tube O-Ring Seal |
| (423) | Oil Fill Tube |
| (424) | Oil Fill Cap |
| (450) | Oil Fill Cap O-Ring Seal |
| (504) | Valve Rocker Arm Cover Gasket |
| (504) | Valve Rocker Arm Cover Gasket |
| (505) | Valve Rocker Arm Cover |
| (505) | Valve Rocker Arm Cover |
| (516) | Valve Rocker Arm Cover Bolt |
| (600) | Exhaust Manifold |
| (601) | Exhaust Manifold Gasket |
| (602) | Exhaust Manifold Flange Bolt |
| (603) | Exhaust Manifold Heat Shield |
| (604) | Exhaust Manifold Heat Shield Bolt |
| (700) | Positive Crankcase Ventilation (PCV) Hose - Fresh Air |
| (716) | PCV Hose - Dirty Air |
| (719) | Ignition Coil Bracket |
| (720) | Ignition Coil Bracket Bolt |
| (721) | Ignition Coil Wire Harness Assembly |
| (722) | Ignition Coil |
| (723) | Ignition Coil Bolt |
| (724) | Spark Plug Wire |
| (725) | Engine Coolant Temperature Sensor |
| (726) | Spark Plug |