GM Service Manual Online
For 1990-2009 cars only

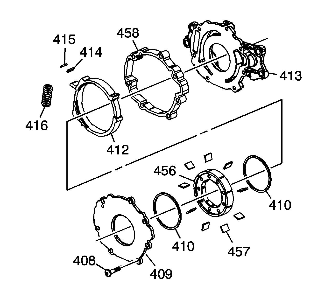
    Object Number: 1967325  Size: SH

    Important: The internal components of the oil pump assembly are not serviced separately. If the oil pump components are worn or damaged, replace the oil pump as an assembly.

  1. Remove the oil pump cover bolts (408).
  2. Remove the oil pump housing cover (409).
  3. Remove the oil pump rotor (456) and vane rings (410).
  4. Remove the oil pump vanes (457).
  5. Remove the oil pump slide spring (416).
  6. Remove the oil pump slide seal (414) and slide seal (415).
  7. Remove the oil pump slide (412).
  8. Remove the oil pump housing (458) from the pump housing (413).