GM Service Manual Online
For 1990-2009 cars only

Special Tools

    • J 9522-3 U-Joint Bearing Separator
    • J 9522-5 U-Joint Bearing Spacer Remover

Removal Procedure

Notice: Never clamp propeller shaft tubing in a vise. Clamping could dent or deform the tube causing an imbalance or unsafe condition. Always clamp on one of the yokes and support the shaft horizontally. Avoid damaging the slip yoke sealing surface. Nicks may damage the bushing or cut the lip seal.

Important: The following service procedure can be used for either the external retaining ring or the nylon injected ring.

Important: If replacing the propeller shaft slip yoke, proceed to step 10.


    Object Number: 2048584  Size: SH
  1. Using a hammer (2), tap the yoke (1) lightly in order to relieve the pressure from the universal joint retaining ring.

  2. Object Number: 2048580  Size: SH
  3. Using a pair of pliers, remove the retaining ring (2) from the yoke (1).
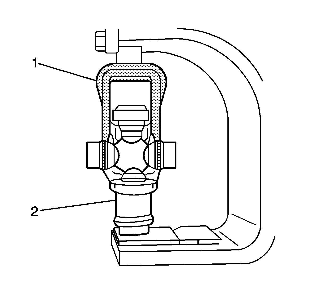
  4. With the aide of an assistant, support the propeller shaft so that it level with the press.

  5. Object Number: 2048593  Size: SH
  6. Using the appropriate size socket (2), support the universal joint opposite of the J 9522-3 .
  7. Using the J 9522-3 (1)  and the press, remove the universal bearing from the yoke.
  8. If you are unable to completely remove the universal bearing with the J 9522-3 , proceed to step 7.

  9. Object Number: 2048594  Size: SH
  10. Position the J 9522-5  (1) on the universal joint.
  11. Important: The following procedure is also used for the breaking of the nylon injected ring for those universal joints that are equipped.

  12. Using the J 9522-3 , J 9522-5 and a press, remove the universal bearing from the yoke.
  13. Rotate the propeller shaft and repeat steps 1 thru 8 to remove the opposite universal joint.

  14. Object Number: 2048586  Size: SH

    Important: If the slip yoke is found to be damaged, replace the slip yoke and use a NEW universal joint. DO NOT re-use the old universal joint.

  15. Remove the slip yoke (1) from the propeller shaft (2).

  16. Object Number: 2048583  Size: SH
  17. Remove the retaining ring (1)  from the slip yoke (3).
  18. Using the J 9522-3 , J 9522-5 and a press, remove the universal bearing (2) from the yoke (3).

  19. Object Number: 2048734  Size: SH
  20. Remove the spider (2) from the slip yoke (1).
  21. Thoroughly clean the slip yoke and the propeller shaft yoke of any contaminates that could prevent the retaining rings or the bearing cups from being properly installed.

Installation Procedure

Important: If replacing the propeller shaft slip yoke, proceed to step 8.


    Object Number: 1223  Size: SH
  1. Position the universal bearings in either side of the yoke on the propeller shaft.
  2. Install the universal joint spider until it is seated in the universal bearing.
  3. Press the universal joint spider until the bearing is even with the yoke.

  4. Object Number: 2048827  Size: SH
  5. Install the retaining ring (1) in the yoke (2).
  6. Rotate the propeller shaft and repeat steps 1 thru 4 for the opposite universal bearing.

  7. Object Number: 1226  Size: SH
  8. Rotate the universal joint to ensure that the universal joint moves freely. If not, use a hammer and lightly tap the yoke to seat the universal bearing against the retaining ring.
  9. Install the other two universal bearings and wrap them with electrical tape or equivalent to hold the bearing in place until the propeller shaft is installed in the vehicle.

  10. Object Number: 2048734  Size: SH
  11. Position the universal spider (2) in the slip yoke (1).

  12. Object Number: 2048583  Size: SH
  13. Install the universal bearings (2) in either side of the slip yoke (2).
  14. Fully seat one of the universal spiders in the universal bearing.
  15. Press the universal bearings (2) into the slip yoke (2) until it is even with the yoke.
  16. Install the retaining ring (1) in the slip yoke (3).
  17. Rotate the slip yoke and repeat steps 3-5 for the opposite universal bearing.

  18. Object Number: 2048586  Size: SH
  19. Position the slip yoke (1) in the propeller shaft (2).
  20. Position the universal bearing (1) in the yoke of the propeller shaft (2).
  21. Center the universal spider in the universal bearing.
  22. Press the universal bearing into the yoke.

  23. Object Number: 2048580  Size: SH
  24. Install the retaining ring (2) in the propeller shaft yoke (1).
  25. Rotate the propeller shaft and repeat steps 8 thru 11 or the opposite universal bearing.

  26. Object Number: 2048584  Size: SH
  27. Rotate the universal joint to ensure that the universal joint moves freely. If not, use a hammer (2) and lightly tap each of the yokes (1) to seat the universal bearing against the retaining ring.