GM Service Manual Online
For 1990-2009 cars only

Object Number: 1697290  Size: SF

Callout

Component Name

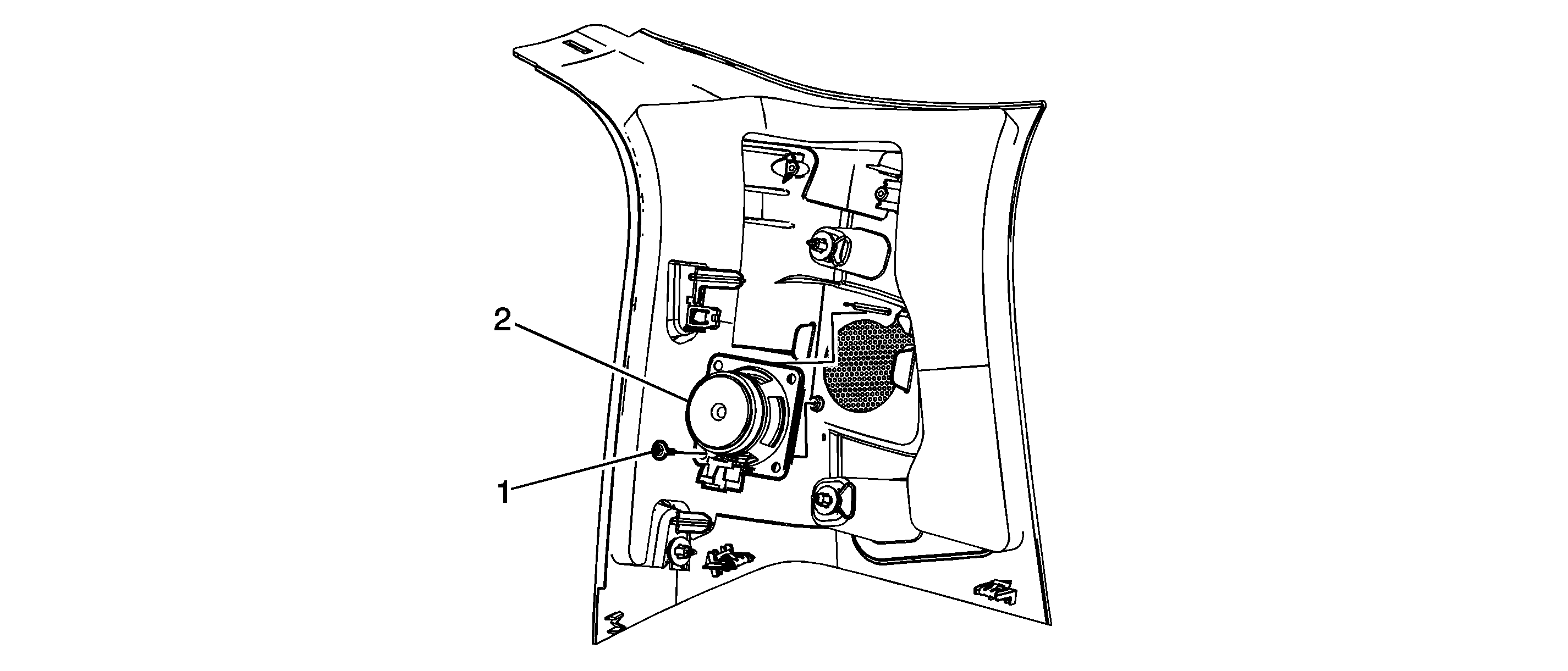
Preliminary Procedure

Remove the rear corner garnish molding. Refer to Body Rear Corner Garnish Molding Replacement - Right Side or Body Rear Corner Garnish Molding Replacement - Left Side .

1

Radio Rear Speaker Assembly Screw

Notice: Refer to Fastener Notice in the Preface section.

Tighten
3 N·m (25 lb in)

2

Radio Rear Speaker Assembly