GM Service Manual Online
For 1990-2009 cars only

Tools Required

    • J 8092 Driver Handle
    • J 34196-B Transmission Bushing Service Set

Removal Procedure


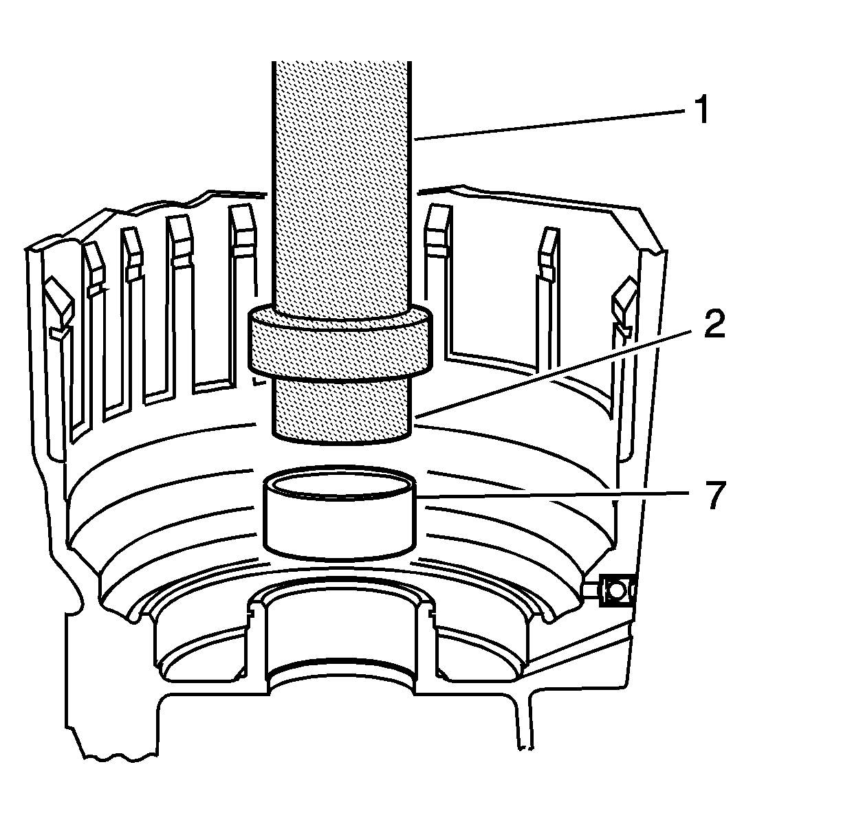
Object Number: 1552923  Size: SH

Remove the case bushing (7) using J 8092  (1) and J 34196-10 (2) which is part of kit J 34196-B .

Installation Procedure


Object Number: 1552927  Size: SH

Install a case bushing (7) using J 8092  (1) and J 34196-10 (2) which is part of kit J 34196-B .