Callout
| Component Name
|
Preliminary Procedure
| • | Inspect all components or sub-components and perform any repair procedure necessary to fix the damage. If the damage cannot be repaired, replace the component or sub-component as indicated. |
| • | Replace any components if damage is found in this procedure. The sprockets must be replaced as a pair. |
| • | Clean all components in cleaning solvent and air dry. |
|
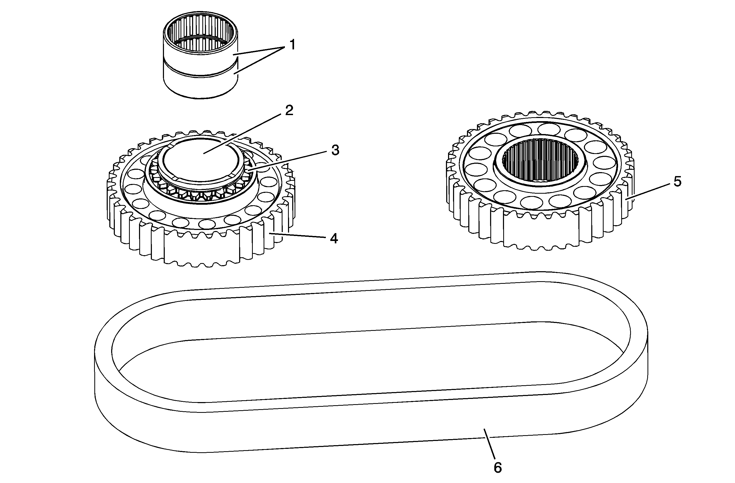
1
| Transfer Case Front Output Shaft Drive Sprocket Bearing Assembly
Tip Replace the bearings if roughness, brinelling, or pitting is detected. Refer to
Front Output Shaft Drive Sprocket Bearing Replacement
. |
2
| Transfer Case Front Output Shaft Drive Sprocket Bearing Bore
Tip If the bearing is removed, inspect for excessive wear, damage, or if the bearing has spun in the bore. |
3
| Transfer Case Four Wheel Drive Clutch Housing Engagement Teeth
Tip Inspect the engagement teeth for chips or excessive wear. |
4
| Transfer Case Front Output Shaft Drive Sprocket
Tip
| • | Inspect for chipped teeth, excessively worn gear surfaces, and debris embedded in the root of the teeth. |
| • | Witness marks at the location of the chain is normal. |
|
5
| Transfer Case Front Output Shaft Driven Sprocket
Tip
| • | Inspect for chipped teeth, excessively worn gear surfaces, and debris embedded in the root of the teeth. |
| • | Witness marks at the location of the chain is normal. |
|
6
| Transfer Case Front Output Shaft Drive Chain Assembly
Tip Inspect for loose link pins, binding or stiff links, debris embedded in the links, or worn teeth surfaces. |