GM Service Manual Online
For 1990-2009 cars only
Figure 1:

Front of the Vehicle Components (X88)


Object Number: 1714194  Size: LF
(1)Headlamp - Right High Beam
(2)Headlamp - Left High Beam
(3)Headlamp - Left Low Beam
(4)Park/Turn Signal Lamp - Left
(5)Marker Lamp - Left Front
(6)Daytime Running Lamp (DRL) - Left
(7)Fog Lamp - Left Front (T96)
(8)Fog Lamp - Right Front (T96)
(9)Daytime Running Lamp (DRL) - Right
(10)Marker Lamp - Right Front
(11)Park/Turn Signal Lamp - Right
(12)Headlamp - Right Low Beam
Figure 2:

Front of the Vehicle Components (Z88)


Object Number: 1776403  Size: LF
(1)Park/Turn Signal Lamp - Right
(2)Park/Turn Signal Lamp - Left
(3)Marker Lamp - Left Front
(4)Headlamp - Left
(5)Fog Lamp - Left Front (T96)
(6)Fog Lamp - Right Front (T96)
(7)Headlamp - Right
(8)Marker Lamp - Right Front
Figure 3:

Front of the Vehicle Components (Z75)


Object Number: 1765616  Size: LF
(1)Repeater Lamp - Right Front (TR2)
(2)Marker Lamp - Right Front
(3)Park Lamp - Right Front
(4)Daytime Running Lamp (DRL) - Right
(5)Headlamp - Right
(6)Fog Lamp - Right Front (T96)
(7)Park Lamp - Left Front
(8)Repeater Lamp - Left Front (TR2)
(9)Daytime Running Lamp (DRL) - Left
(10)Marker Lamp - Left Front
(11)Headlamp - Left
(12)Turn Signal Lamp - Left Front
(13)Fog Lamp - Left Front (T96)
(14)Turn Signal Lamp - Right Front
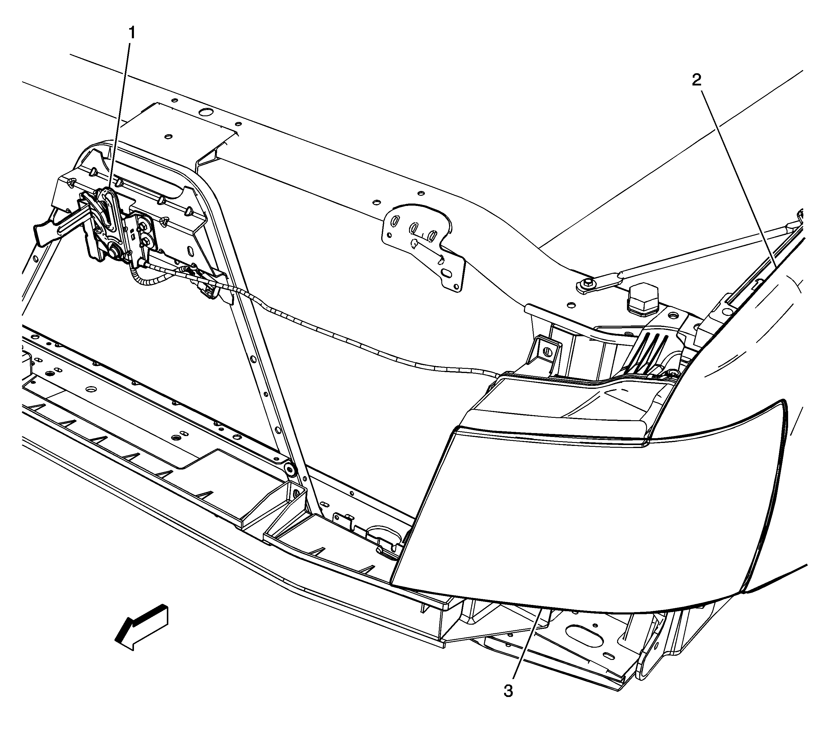
Figure 4:

Left Front of the Vehicle Components


Object Number: 1714222  Size: LF
(1)Radiator
(2)Windshield Washer Fluid Level Switch
(3)Rear Window Washer Fluid Pump (E52)
(4)Windshield Washer Fluid Pump
Figure 5:

Behind the Grille Components - 1 of 4


Object Number: 1823486  Size: LF
(1)Hood Ajar Switch (AP3 or AP8)
(2)Left Front Fender
(3)Headlamp - Left Front
Figure 6:

Behind the Grille Components - 2 of 4


Object Number: 1823489  Size: LF
(1)Radiator Core Support
(2)Inflatable Restraint Front End Sensor - Left
(3)Inflatable Restraint Front End Sensor - Right
Figure 7:

Behind the Grille Components - 3 of 4


Object Number: 1750395  Size: LF
(1)Horn - Right
(2)Radiator Core Support
(3)Horn - Left
Figure 8:

Behind the Grille Components - 4 of 4


Object Number: 1822407  Size: LF
(1)Radiator Core Support
(2)Ambient Air Temperature Sensor - ISRVM
(3)Ambient Air Temperature Sensor - HVAC (CJ2)
Figure 9:

Front of the Engine Compartment Components


Object Number: 1539137  Size: MF
(1)Engine Cooling Fan - Left
(2)Engine Cooling Fan - Right
(3)Forward Lamp Harness
Figure 10:

Front of Engine Compartment Components (HP2)


Object Number: 1985318  Size: LF
(1)Engine Cooling Fan Resistor - Left
(2)Engine Cooling Fan Resistor - Right
(3)Generator Control Module Temperature Sensor
(4)A/C Low Pressure Sensor
(5)Inflatable Restraint Front End Sensor - Right
(6)High Voltage Circuit Impact Detection Sensor
(7)Inflatable Restraint Front End Sensor - Left
(8)Heater Coolant Pump
(9)Generator Control Module Coolant Pump - Right
(10)Generator Control Module Coolant Pump - Left
Figure 11:

Left Side of the Engine Compartment Components - 1 of 2


Object Number: 1714226  Size: LF
(1)Windshield Wiper Motor
(2)Power Brake Booster
(3)Windshield Washer Solvent Heater (XA7)
(4)Fuse Block - Underhood
(5)Engine Control Module (ECM)
(6)Transmission Control Module (TCM) (except MYC)
(7)Brake Booster Vacuum Sensor
(8)Brake Fluid Level Switch
Figure 12:

Left Side of the Engine Compartment Components - 2 of 2


Object Number: 1842089  Size: LF
(1)Automatic Level Control (ALC) Relay (Z55)
(2)Fuse Block - Underhood
Figure 13:

Engine Compartment Components (HP2)


Object Number: 1985299  Size: LF
(1)Accessory DC Power Control Module
(2)Accessory DC Power Control Module Cover
(3)Drive Motor Generator Power Inverter Module X6
(4)Drive Motor Generator Power Inverter Module Cover
(5)Drive Motor Generator Power Inverter Module
(6)Electronic Power Steering Motor Control Module
(7)Heater Coolant Pump
(8)Fuse Block - Auxiliary
(9)Automatic Transmission Auxiliary Fluid Pump Control Module
(10)Fuse Block - Underhood
(11)Fuse Block - Auxiliary
(12)Engine Control Module (ECM)
(13)A/C Compressor
Figure 14:

Right Rear of the Engine Compartment Components


Object Number: 1714221  Size: LF
(1)Battery - Right
(2)A/C Low Pressure Switch
(3)A/C Compressor Clutch
(4)A/C Refrigerant Pressure Sensor
(5)Mass Air Flow (MAF)/Intake Air Temperature (IAT) Sensor
Figure 15:

Brake Master Cylinder Piston Position Sensor (HP2)


Object Number: 1985291  Size: LF
(1)Brake Master Cylinder Piston Position Sensor
Figure 16:

High Voltage Ring Terminal Locator


Object Number: 2034872  Size: MF
(1)Air Conditioner Compressor 300 V B-
(2)Air Conditioner Compressor 300 V B+
(3)Motor 2 Phase U
(4)Motor 2 Phase W
(5)Motor 2 Phase V
(6)Motor 1 Phase U
(7)Motor 1 Phase W
(8)Motor 1 Phase V
(9)Drive Motor Generator Battery 300 V B-
(10)Drive Motor Generator Battery 300 V B+