GM Service Manual Online
For 1990-2009 cars only

Driver or Passenger Seat Cushion Heater Replacement with HP2


Object Number: 1967535  Size: MF

Callout

Component Name

Preliminary Procedures

  1. Remove the front seat. Refer to Front Seat Replacement - Bucket .
  2. Remove the front seat cushion outer trim panel. Refer to Front Seat Cushion Outer Trim Panel Replacement .
  3. Remove the front seat cushion inner trim panel. Refer to Front Seat Cushion Inner Trim Panel Replacement .

1

Front Seat Cushion Cover

Procedure

  1. Disengage the j-channel retainers from the seat cushion frame.
  2. Tilt the seat back forward to make it easier to remove and install the cover.
  3. Disconnect the electrical connectors that attach to the seat cushion, if equipped.
  4. Remove the seat cushion cover and pad from the seat cushion frame as an assembly.
  5. Remove the hog rings.

2

Front Seat Cushion Pad

3

Front Seat Cushion Heater

Procedure

  1. The heater is retained to the pad with adhesive, carefully peel the heater from the seat cushion to remove.
  2. If working on the passenger seat, re-zero the inflatable restraint passenger presence system whenever the seat cushion or any component of the passenger presence system is removed. Refer to Control Module References .

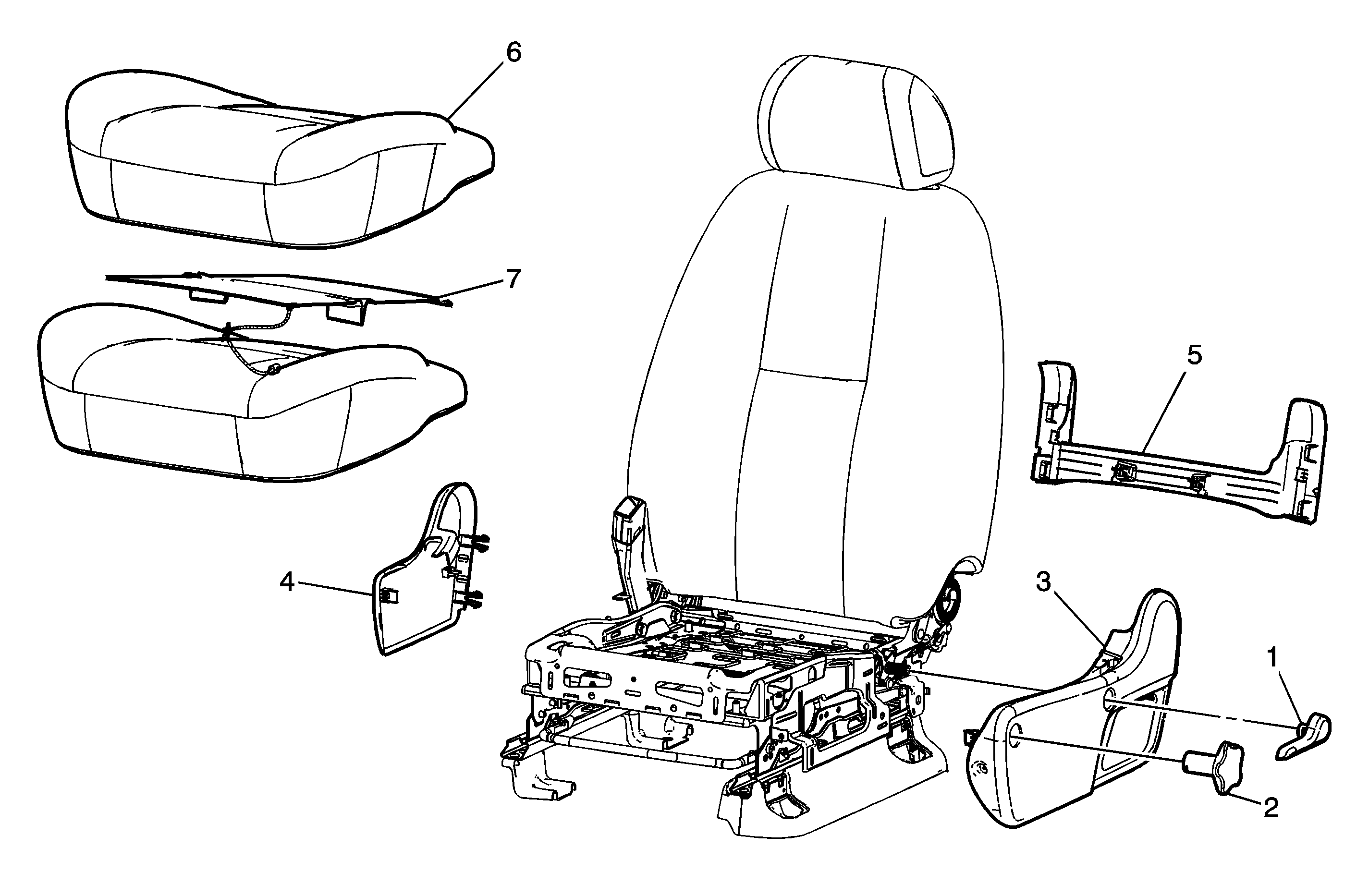
Driver or Passenger Seat Cushion Heater Replacement without HP2


Object Number: 1678397  Size: MF

Callout

Component Name

Preliminary Procedure

Remove the front seat. Refer to Front Seat Replacement - Bucket .

1

Front Seat Recliner Lever

Procedure

Using a flat-bladed tool, push the retainer clip downward and pull outward to release the lever.

2

Front Seat Manual Lumbar Knob

Procedure

Using a flat-bladed tool, push the retainer clip downward and pull outward to release the knob.

3

Front Seat Adjuster Outer Finish Cover

Refer to Front Seat Cushion Outer Trim Panel Replacement .

4

Front Seat Adjuster Inner Finish Cover

Refer to Front Seat Cushion Inner Trim Panel Replacement .

5

Front Seat Riser Finish Cover

Procedure

Pull rearward to disengage the cover from the seat riser.

6

Front Seat Cushion Cover and Pad

Procedure

  1. Disengage the j-channel retainers from the seat cushion frame.
  2. Remove the seat cushion cover and pad from the seat cushion frame as an assembly.

7

Front Seat Cushion Heater Element

Procedure

  1. Disconnect the heater element and peel away from the cushion to remove.
  2. If working on the passenger seat, re-zero the inflatable restraint passenger presence system whenever the seat cushion or any component of the passenger presence system is removed. Refer to Control Module References .