GM Service Manual Online
For 1990-2009 cars only

Object Number: 2184020  Size: MF

Callout

Component Name

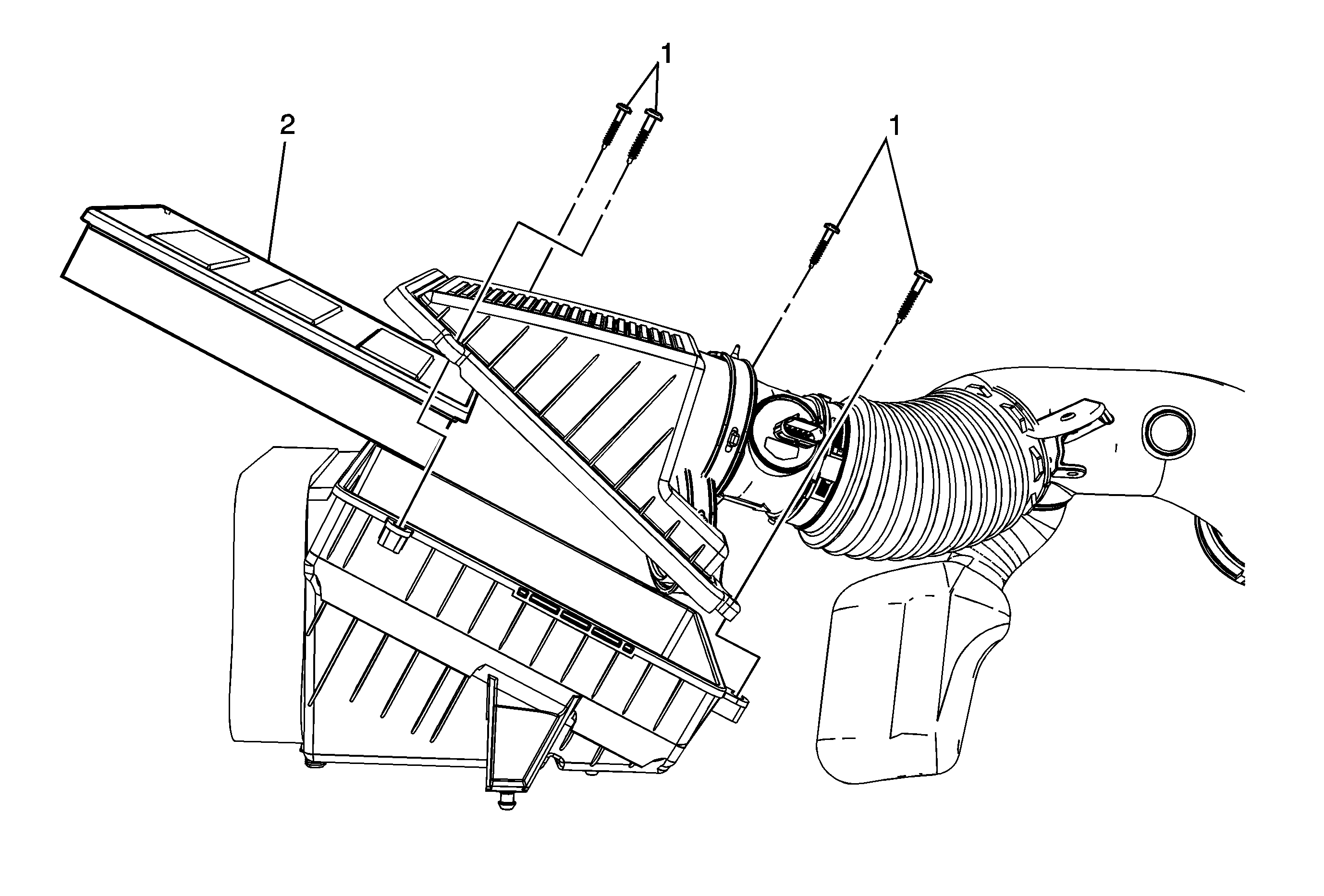
1

Air Filter Housing Fastener (Qty: 4)

Caution: Refer to Fastener Caution in the Preface section.

Tighten
3 N·m(27 lb in)

2

Air Filter Element