GM Service Manual Online
For 1990-2009 cars only
Figure 1:

Intake Manifold/Upper Engine


Object Number: 2103497  Size: LF
(1)Bolt
(2)Nut
(3)Throttle Body
(4)Throttle Body Seal
(5)Manifold Absolute Pressure (MAP) Sensor O-ring Seal
(6)MAP Sensor
(7)Sequential Multi-Port Fuel Injector Assembly with Fuel Rail
(8)Bolt
(9)Fuel Injection Fuel Rail Bracket
(10)Evaporative (EVAP) Emission Canister Purge Tube
(11)EVAP Emission Canister Purge Solenoid Valve
(12)EVAP Emission Canister Purge Tube
(13)Bolt
(14)Fuel Injection Fuel Rail Stop
(15)Bolt
(16)Intake Manifold
(17)Intake Manifold Seal
(18)Intake Manifold Gasket
(19)Engine Coolant Air Bleed Plug
(20)Engine Oil Pressure Sensor
(21)Valve Lifter Oil Filter
(22)Valve Lifter Oil Filter Seal
(23)Bolt
(24)Bolt
(25)Engine Coolant Air Bleed Pipe
(26)Engine Coolant Air Bleed Pipe O-ring Seal
(27)Engine Valley Cover
(28)Gasket
(29)Engine Block
Figure 2:

Cylinder Head/Upper Engine


Object Number: 1658311  Size: LF
(100)Engine Block
(209)Valve Lifter - Non-Active Fuel Management
(210)Valve Lifter Guide
(211)Valve Lifter Guide Bolt
(212)Valve Push Rod
(213)Valve Rocker Arm
(214)Valve Rocker Arm Pivot Support Bolt
(215)Valve Rocker Arm Pivot Support
(216)Cylinder Head Core Hole Plug
(217)Cylinder Head Gasket
(218)Cylinder Head
(219)Valve Lifter - Active Fuel Management
(220)Cylinder Head Bolt - M10
(221)Cylinder Head Bolt - M8
(222)Valve Stem Oil Seal
(223)Valve Spring
(224)Valve Spring Cap
(225)Valve Stem Key
(226)Cylinder Head Core Hole Plug
(227)Intake Valve
(228)Exhaust Valve
(229)Cylinder Head Plug
(230)Cylinder Head Locating Pin
(422)Oil Fill Tube O-Ring Seal
(423)Oil Fill Tube
(424)Oil Fill Cap
(450)Oil Fill Cap O-Ring Seal
(504)Valve Rocker Arm Cover Gasket
(504)Valve Rocker Arm Cover Gasket
(505)Valve Rocker Arm Cover
(505)Valve Rocker Arm Cover
(516)Valve Rocker Arm Cover Bolt
(600)Exhaust Manifold
(601)Exhaust Manifold Gasket
(602)Exhaust Manifold Flange Bolt
(603)Exhaust Manifold Heat Shield
(604)Exhaust Manifold Heat Shield Bolt
(700)Positive Crankcase Ventilation (PCV) Hose - Fresh Air
(716)PCV Hose - Dirty Air
(719)Ignition Coil Bracket
(720)Ignition Coil Bracket Bolt
(721)Ignition Coil Wire Harness Assembly
(722)Ignition Coil
(723)Ignition Coil Bolt
(724)Spark Plug Wire
(725)Engine Coolant Temperature Sensor
(726)Spark Plug
Figure 3:

Front of Engine


Object Number: 1967298  Size: LF
(100)Engine Block
(138)Crankshaft Balancer
(139)Crankshaft Balancer Bolt
(140)Crankshaft Front Oil Seal
(200)Camshaft
(201)Camshaft Bearing
(202)Camshaft Sprocket Locating Pin
(203)Camshaft Retainer
(204)Camshaft Retainer Bolt
(207)Crankshaft Sprocket
(208)Timing Chain
(231)Timing Chain Tensioner Bolt
(232)Timing Chain Tensioner
(234)Camshaft Position (CMP) Actuator Solenoid Valve
(235)CMP Actuator
(300)Water Pump
(301)Water Pump Bolt
(302)Water Pump Inlet Bolt
(303)Water Pump Inlet
(305)Engine Coolant Thermostat
(306)Water Pump Gasket
(404)Oil Pump Suction Pipe Nut
(405)Oil Pump Suction Pipe Bolt
(406)Oil Pump O-Ring Seal
(407)Oil Pump Suction Pipe
(408)Bolt
(409)Oil Pump Housing Cover
(410)Oil Pump Vane Ring
(410)Oil Pump Vane Ring
(411)Oil Pump Bolt
(412)Oil Pump Slide
(413)Oil Pump Housing
(414)Oil Pump Slide Seal
(415)Oil Pump Slide Seal
(416)Oil Pump Slide Spring
(417)Oil Level Indicator O-Ring Seal
(418)Oil Level Indicator
(419)Oil Level Indicator Tube Bolt
(420)Oil Level Indicator Tube
(421)O-Ring
(456)Oil Pump Rotor
(457)Oil Pump Vane
(458)Oil Pump Housing
(501)Engine Front Cover Bolt
(502)Engine Front Cover
(503)Engine Front Cover Gasket
(703)CMP Sensor
(704)CMP Sensor O-Ring Seal
(705)CMP Sensor Bolt
(737)CMP Sensor Wire Harness Assembly
(738)CMP Sensor Wire Harness Assembly Bolt
(738)CMP Sensor Wire Harness Assembly Bolt
(751)CMP Actuator Hub Cover Bolt
(752)CMP Actuator Magnet
(753)CMP Actuator Magnet Gasket
Figure 4:

Rear of Engine


Object Number: 1967299  Size: MF
(100)Engine Block
(132)Flex Plate - Automatic Transmission
(133)Flywheel Bolt
(141)Crankshaft Rear Oil Seal
(517)Crankshaft Rear Oil Seal Housing Bolt
(518)Crankshaft Rear Oil Seal Housing
(519)Crankshaft Rear Oil Seal Housing Gasket
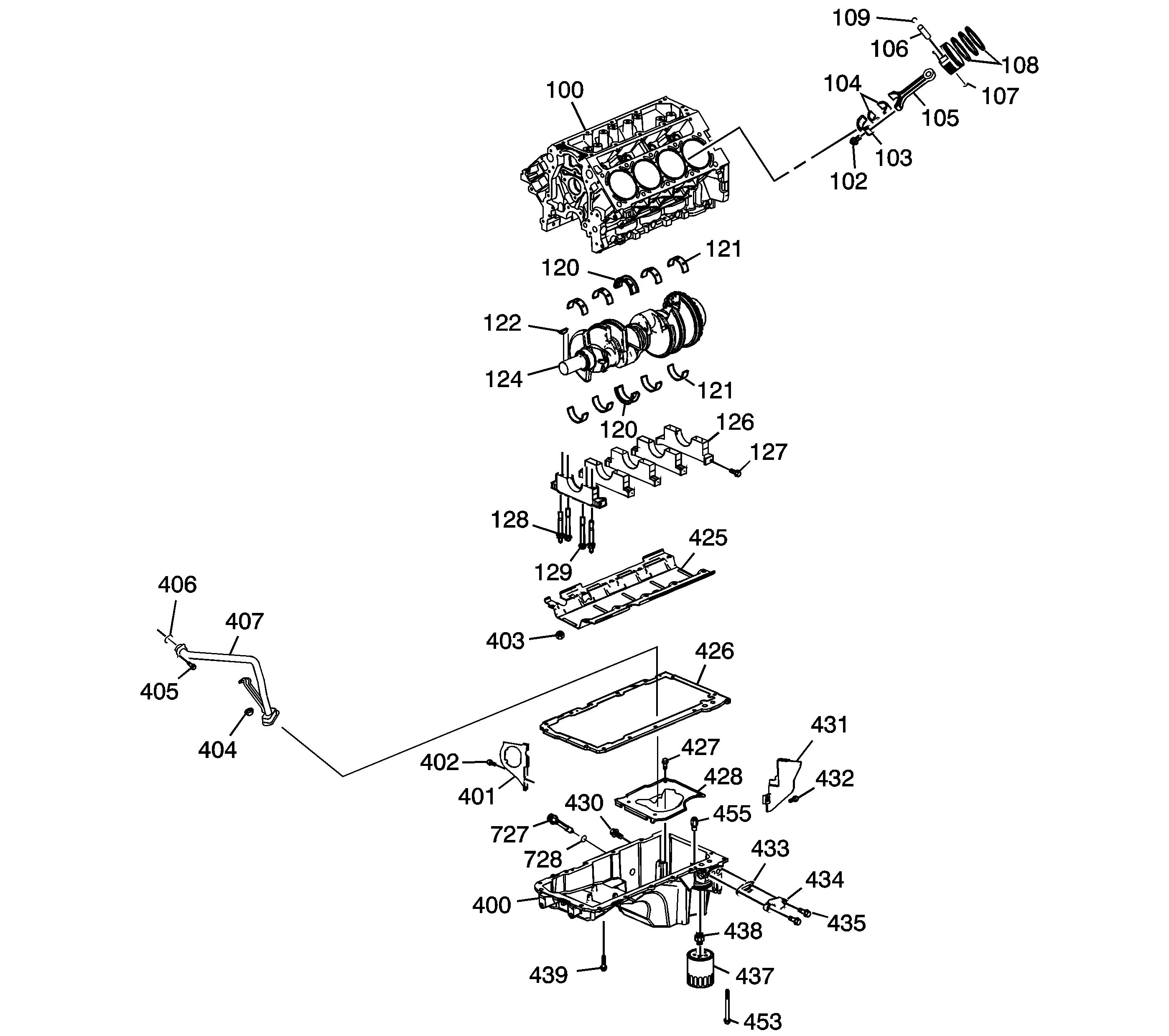
Figure 5:

Lower Engine Assembly


Object Number: 1967300  Size: LF
(100)Engine Block
(102)Connecting Rod Bolt
(103)Connecting Rod Cap
(104)Connecting Rod Bearing
(105)Connecting Rod
(106)Piston Pin
(107)Piston
(108)Piston Ring Set
(109)Piston Pin Retainer
(120)Crankshaft Thrust Bearing
(120)Crankshaft Thrust Bearing
(121)Crankshaft Bearing
(121)Crankshaft Bearing
(122)Crankshaft Balancer Key
(124)Crankshaft
(126)Crankshaft Bearing Cap
(127)Crankshaft Bearing Cap Bolt - M8
(128)Crankshaft Bearing Cap Stud - M10
(129)Crankshaft Bearing Cap Bolt - M10
(400)Oil Pan
(401)Oil Pan Closeout Cover
(402)Oil Pan Closeout Cover Bolt
(403)Crankshaft Oil Deflector Nut
(404)Oil Pump Suction Pipe Nut
(405)Oil Pump Suction Pipe Bolt
(406)Oil Pump O-Ring Seal
(407)Oil Pump Suction Pipe
(425)Crankshaft Oil Deflector
(426)Oil Pan Gasket
(427)Oil Pan Baffle Bolt
(428)Oil Pan Baffle
(430)Oil Pan Drain Plug
(431)Oil Pan Closeout Cover
(432)Oil Pan Closeout Cover Bolt
(433)Oil Pan Cover Gasket
(434)Oil Pan Cover
(435)Oil Pan Cover Bolt
(437)Oil Filter
(438)Oil Filter Fitting
(439)Oil Pan Bolt
(453)Oil Pan Bolt
(455)Active Fuel Management Oil Pressure Relief Valve
(727)Engine Oil Level Indicator Switch
(728)O-Ring
Figure 6:

Engine Block Plugs/Sensors


Object Number: 1401949  Size: LF
(100)Engine Block
(100)Engine Block
(101)Oil Gallery Plug - Front
(110)O-Ring
(111)Oil Gallery Plug - Rear
(112)Oil Gallery Plug - Side
(113)Washer
(114)Engine Coolant Heater
(115)Washer
(116)Oil Gallery Plug - Side
(117)Washer
(130)Transmission Housing Locating Pin
(145)Washer
(146)Engine Block Coolant Drain Hole Plug
(701)Crankshaft Position (CKP) Sensor
(702)O-Ring
(718)Knock Sensor
(718)Knock Sensor
(739)Bolt
(739)Bolt
(750)CKP Sensor Bolt
Figure 7:

Oil Pump Assembly


Object Number: 1967301  Size: SF
(408)Bolt
(409)Oil Pump Housing Cover
(410)Oil Pump Vane Ring
(410)Oil Pump Vane Ring
(412)Oil Pump Slide
(413)Oil Pump Housing
(414)Oil Pump Slide Seal
(415)Oil Pump Slide Seal
(416)Oil Pump Slide Spring
(456)Oil Pump Rotor
(457)Oil Pump Vane
(458)Oil Pump Housing