GM Service Manual Online
For 1990-2009 cars only
Connector 1: X100 Forward Lamp Harness to Left Headlamp Harness (X88 or Z75 without EXP)
Connector 2: X101 Left Front Fog Lamp Harness to Forward Lamp Harness (Z75)
Connector 3: X101 Forward Lamp Harness to Left Front Lamp Harness (Z88)
Connector 4: X102 Left Front Fog Lamp Harness to Forward Lamp Harness (X88 or Z88, with T96)
Connector 5: X103 Instrument Panel Harness to Forward Lamp Harness
Connector 6: X104 Right Front Fog Lamp Harness to Forward Lamp Harness (Z75 with T96)
Connector 7: X104 Forward Lamp Harness to Right Front Lamp Harness (Z88)
Connector 8: X105 Right Front Fog Lamp Harness to Forward Lamp Harness (X88 or Z88, with T96)
Connector 9: X106 Forward Lamp Harness to Right Headlamp Harness (X88 or Z75 without EXP)
Connector 10: X107 Forward Lamp Harness to Forward Lamp Harness (VYU)
Connector 11: X108 Forward Lamp Harness to Forward Lamp Harness (VYU)
Connector 12: X109 Engine Harness to Instrument Panel Harness (HP2 or NQH)
Connector 13: X109 Engine Harness to Instrument Panel Harness (except HP2 and without NQH)
Connector 14: X110 Engine Harness to Front Axle Harness (NQH)
Connector 15: X111 Engine Harness to Left Ignition Coil Harness
Connector 16: X112 Engine Harness to Camshaft Position Sensor Jumper Harness (6.0L)
Connector 17: X112 Engine Harness to Camshaft Position Sensor Jumper Harness (except 6.0L)
Connector 18: X113 Engine Harness to Right Ignition Coil Harness
Connector 19: X114 Battery Positive Cable to Brake/Clutch Harness (6J4)
Connector 20: X115 Chassis Harness to Instrument Panel Harness
Connector 21: X116 Battery Positive Cable to Brake/Clutch Harness (6J4)
Connector 22: X117 Instrument Panel Harness to Chassis Harness (BRS or UFT)
Connector 23: X118 Forward Lamp Harness to Export Side Repeater Jumper Harness (EXP)
Connector 24: X119 Forward Lamp Harness to Export Side Repeater Jumper Harness (EXP)
Connector 25: X120 Forward Lamp Harness to Engine Harness (HP2)
Connector 26: X122 Forward Lamp Harness to Forward Lamp Harness (5W4 or PPV)
Connector 27: X123 Brake Clutch Harness to Chassis Harness (JL1)
Connector 28: X129 I/P Harness to Chassis Harness (HP2)
Connector 29: X140 Forward Lamp Harness to Left Headlamp Harness (Z75 with EXP)
Connector 30: X141 Forward Lamp Harness to Right Headlamp Harness (Z75 with EXP)
Connector 31: X150 Engine Harness to I/P Harness (HP2)
Connector 32: X175 Engine Harness to Transmission Internal Harness (M30)
Connector 33: X176 Engine Harness to Transmission Harness (M99)
Connector 34: X200 Instrument Panel Harness to Body Harness
Connector 35: X201 Steering Column Harness to Instrument Panel Harness
Connector 36: X202 Instrument Panel Harness to Body Harness
Connector 37: X203 Instrument Panel Harness (Y91) or Instrument Panel Extension Harness (except Y91) to Headliner Harness (UE1)
Connector 38: X204 Headliner Harness (U42) to Instrument Panel Harness (Y91) or Instrument Panel Extension Harness (except Y91)
Connector 39: X205 Brake/Clutch Harness to Instrument Panel Harness
Connector 40: X206 Right A-Pillar Harness to Instrument Panel Harness (Z75 with DNU)
Connector 41: X206 Right A-Pillar Harness (without DNU) to Instrument Panel Harness (Y91) or Instrument Panel Extension Harness (except Y91) (except Z75 with DNU)
Connector 42: X207 Instrument Panel Harness to Body Harness
Connector 43: X208 Diversity Antenna Harness to Instrument Panel Harness (U84)
Connector 44: X209 Body Harness to Instrument Panel Harness (Y91) or Instrument Panel Extension Harness (except Y91) (UVC)
Connector 45: X210 Console Harness to Instrument Panel Harness (UQS)
Connector 46: X211 Instrument Panel Harness (Y91) or Instrument Panel Extension Harness (except Y91) to Console Harness (D07)
Connector 47: X212 Instrument Panel Harness to Instrument Panel Extension Harness (except Y91)
Connector 48: X214 Brake/Clutch Harness to Fuse Block Jumper Harness (6J1)
Connector 49: X215 Body Harness to I/P Harness (HP2)
Connector 50: X220 Brake/Clutch Harness to Fuse Block Jumper Harness (9L4)
Connector 51: X221 Brake/Clutch Harness to Fuse Block Jumper Harness (9L4)
Connector 52: X222 Accessory Power Harness to Body Harness (5W4 or PPV)
Connector 53: X223 Accessory Power Harness to Body Harness (5W4 or PPV)
Connector 54: X229 Body Harness to Steering Column Harness (N48)
Connector 55: X275 Steering Wheel Module Coil to Body Harness
Connector 56: X276 Steering Column Harness to Steering Wheel Module Coil Harness (KA9)
Connector 57: X277 Steering Wheel Module Coil to Heated Steering Wheel Harness (KA9)
Connector 58: X278 Body Harness to Body Jumper Harness (SPO Rear Vision Camera)
Connector 59: X300 Engine Harness to Chassis Harness (HP2)
Connector 60: X300 Chassis Harness to Engine Harness (except HP2)
Connector 61: X303 Body Harness to Driver Seat Harness (AN3 or HP2 with AG1)
Connector 62: X303 Body Harness to Driver Seat Harness (without AN3 or HP2 with AG1)
Connector 63: X304 Headliner Harness to Overhead Console Harness
Connector 64: X305 Body Harness to Passenger Seat Harness (AN3 or HP2 with AG1)
Connector 65: X305 Body Harness to Passenger Seat Harness (without AN3 or HP2 with AG1)
Connector 66: X306 Headliner Harness to Right A-Pillar Harness (Z75 with DNU)
Connector 67: X306 Headliner Harness to Right A-Pillar Harness (except Z75 with DNU)
Connector 68: X307 Body Harness to Right Rear Seat Harness (ARS and/or KA6)
Connector 69: X308 Body Harness to Left Rear Seat Harness (ARS and/or KA6)
Connector 70: X309 Body Harness to Console Harness (UQS)
Connector 71: X310 Body Harness to Chassis Harness (UD7 with UVC, without E52 or TB7)
Connector 72: X310 Body Harness to Chassis Harness (UD7 without UVC, without E52 or TB7)
Connector 73: X311 Ctrsail Harness to Body Harness (without E52)
Connector 74: X313 Sunroof Harness (CF5) or Overhead Console Harness (TRW) to Right A-Pillar Harness
Connector 75: X319 Body Harness to AC Outlet Jumper Harness (HP2)
Connector 76: X320 Body Harness to Console Harness (AZ3 or A95)
Connector 77: X321 Cargo Box Jumper Harness to Ctrsail Harness (without E52)
Connector 78: X322 Body Harness to Headliner Harness (UVC without UVB, E52 or TB7)
Connector 79: X323 Body Harness to Driver Seat Harness (N48)
Connector 80: X350 Body Harness to Drive Motor Generator Battery Control Harness (HP2)
Connector 81: X400 Chassis Harness to Compressor Harness (Z55)
Connector 82: X403 Headliner Harness to Body Harness (E52)
Connector 83: X404 CHMSL Jumper Harness to Body Harness (E52)
Connector 84: X405 Liftgate Harness to Body Harness (E52)
Connector 85: X406 Dome Lamp Jumper Harness to Body Harness (LWB with E52)
Connector 86: X407 Auxiliary HVAC Harness to Body Harness (LWB with C69)
Connector 87: X407 Body Harness to Auxiliary HVAC Harness (SWB with C69)
Connector 88: X408 Body Harness to Rear Object Detection Harness (E52 with UD7)
Connector 89: X408 Chassis Harness to Rear Bumper Harness (without E52 or UD7)
Connector 90: X408 Body Harness to Rear Object Detection Harness (UD7 without E52)
Connector 91: X409 Chassis Harness to Endgate Harness (without E52 or UD7)
Connector 92: X409 Endgate Harness to Chassis Harness (UVC without E52 or TB7)
Connector 93: X411 Left Rear Lamp Harness to Chassis Harness (X88 or Z88, with E52)
Connector 94: X411 Left Rear Lamp Harness to Chassis Harness (Z75 with E52)
Connector 95: X411 Left Rear Lamp Harness to Chassis Harness (without E52)
Connector 96: X412 Right Rear Lamp Harness to Chassis Harness (X88 or Z88, with E52)
Connector 97: X412 Right Rear Lamp Harness to Chassis Harness (Z75 with E52)
Connector 98: X413 Liftgate Harness to Body Harness (UVC with E52 or TB7)
Connector 99: X421 Body Harness to Headliner Harness (UVC without UVB, with E52 or TB7)
Connector 100: X450 Power Tonneau Cover Assembly Harness to Power Tonneau Cover Jumper (Z75 without E52)
Connector 101: X451 Body Ground Jumper Harness to Rear Axle Ground Jumper Harness (HP2)
Connector 102: X452 Liftgate Jumper Harness to Body Jumper Harness (SPO Rear Vision Camera)
Connector 103: X500 Driver Door Harness to Body Harness (ASF)
Connector 104: X600 Passenger Door Harness to Body Harness (ASF)
Connector 105: X700 Body Harness to Left Rear Door Harness
Connector 106: X800 Body Harness to Right Rear Door Harness
Connector 107: X900 Liftgate Harness to License Lamp Harness (E52 or TB7 with UVC)
Connector 108: X901 Liftgate Harness to License Lamp Harness (E52 or TB7)
Connector 109: X902 Liftgate Harness to License Lamp Harness (E52 or TB7)

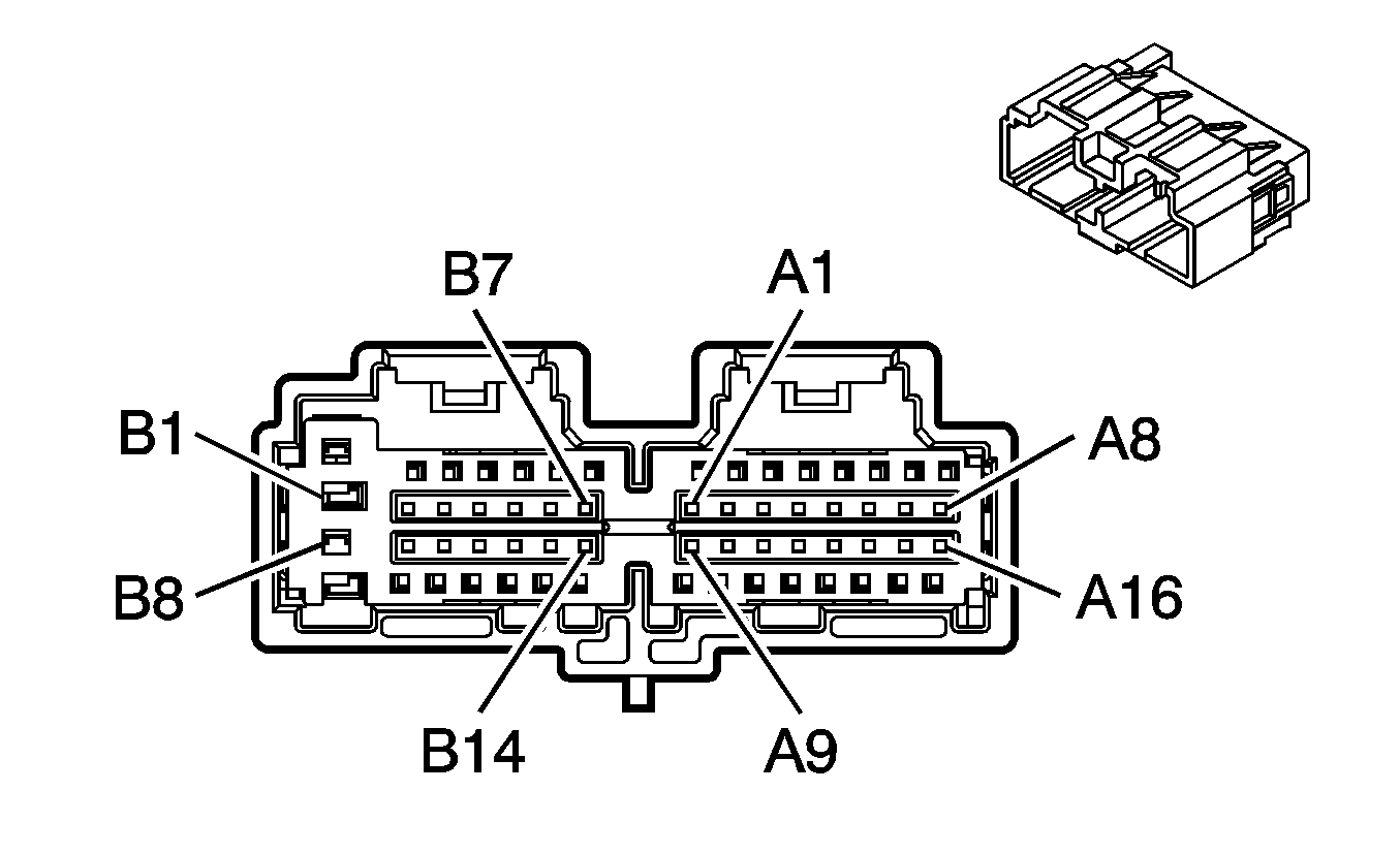
X100 Forward Lamp Harness to Left Headlamp Harness (X88 or Z75 without EXP)


Object Number: 646372  Size: CH

Object Number: 847234  Size: CH

Connector Part Information

  • OEM: 15326654
  • Service: 88986254
  • Description: 8-Way F GT 280 Series Sealed (BK)

Connector Part Information

  • OEM: 15326655
  • Service: 15306424
  • Description: 8-Way M GT 280 Series Sealed (BK)

Terminal Part Information

  • Terminal/Tray: 15304719/19
  • Core/Insulation Crimp: Pins A, B, F: 2/5
  • Core/Insulation Crimp: Pins C-E, G: E/5
  • Release Tool/Test Probe: 15315247/J-35616-4A (PU)

Terminal Part Information

  • Terminal/Tray: 15304731/19
  • Core/Insulation Crimp: Pins A, B, F: 2/5
  • Core/Insulation Crimp: Pins C-E, G: E/5
  • Release Tool/Test Probe: 15315247/J-35616-5 (PU)

X100 Forward Lamp Harness to Left Headlamp Harness (X88 or Z75 without EXP)

Pin

Wire

Circuit

Function

Pin

Wire

Circuit

Function

A

0.8 YE

712

Left Headlamp Low Beam Control

A

0.35 YE

--

Left Headlamp Low Beam Control

B

1 BK

150

Ground

B

0.35 BK

--

Ground

C

0.5 D-GN/WH

711

Left Headlamp High Beam Control

C

0.35 D-GN/WH

--

Left Headlamp High Beam Control

D

0.5 D-BU

545

Daytime Running Lamp (DRL) Relay Controll

D

0.35 D-BU

--

Daytime Running Lamp (DRL) Relay Control

E

0.5 BN

2509

Left Rear Park Lamps Control

E

0.35 BN

--

Left Rear Park Lamps Control

F

1 BK

250

Ground

F

0.35 BK

--

Ground

G

0.5 L-BU/WH

1314

Left Front Turn Signal Lamp Control (X88)

G

0.35 L-BU/WH

--

Left Front Turn Signal Lamp Control (X88)

H

--

--

Not Used

H

--

--

Not Used

X101 Left Front Fog Lamp Harness to Forward Lamp Harness (Z75)


Object Number: 646415  Size: CH

Object Number: 632353  Size: CH

Connector Part Information

  • OEM: 15326808
  • Service: 15326808
  • Description: 3-Way F GT 150 Series Sealed (BK)

Connector Part Information

  • OEM: 15326813
  • Service: 15306377
  • Description: 3-Way M GT 150 Series Sealed (BK)

Terminal Part Information

  • Terminal: 12191819/8
  • Core/Insulation Crimp: 2/A
  • Release Tool/Test Probe: 15315247/J-35616-2A (GY)

Terminal Part Information

  • Terminal/Tray: 15326269/19
  • Core/Insulation Crimp: Pins A: E/1
  • Core/Insulation Crimp: Pins B, C: E/4
  • Release Tool/Test Probe: 15315247/J-35616-3 (GY)

X101 Left Front Fog Lamp Harness to Forward Lamp Harness (Z75)

Pin

Wire

Circuit

Function

Pin

Wire

Circuit

Function

A

0.8 PU

2234

Front Fog Lamp Control

A

0.8 PU

2234

Front Fog Lamp Control

B

0.8 L-BU/WH

1314

Left Front Turn Signal Lamp Control

B

0.5 L-BU

1314

Left Front Turn Signal Lamp Control

C

0.8 BK

150

Ground

C

0.8 BK

250

Ground

X101 Forward Lamp Harness to Left Front Lamp Harness (Z88)


Object Number: 646415  Size: CH

Object Number: 632353  Size: CH

Connector Part Information

  • OEM: 15326808
  • Service: 15326808
  • Description: 3-Way F GT 150 Series Sealed (BK)

Connector Part Information

  • OEM: 15326813
  • Service: 15306377
  • Description: 3-Way M GT 150 Series Sealed (BK)

Terminal Part Information

  • Terminal/Tray: 12191819/8
  • Core/Insulation Crimp: Pin A: 2/A
  • Core/Insulation Crimp: Pins B-C: E/A
  • Release Tool/Test Probe: 15315247/J-35616-2A (GY)

Terminal Part Information

  • Terminal: See Terminal Repair Kit
  • Core/Insulation Crimp: See Terminal Repair Kit
  • Release Tool/Test Probe: See Terminal Repair Kit

X101 Forward Lamp Harness to Left Front Lamp Harness (Z88)

Pin

Wire

Circuit

Function

Pin

Wire

Circuit

Function

A

1 BK

150

Ground

A

0.35 BK

--

Ground

B

0.5 L-BU/WH

1314

Left Front Turn Signal Lamp Control

B

0.35 L-BU/WH

--

Left Front Turn Signal Lamp Control

C

0.5 BN

2509

Left Rear Park Lamps Control

C

0.35 BN

--

Left Rear Park Lamps Control

X102 Left Front Fog Lamp Harness to Forward Lamp Harness (X88 or Z88, with T96)


Object Number: 523630  Size: CH

Object Number: 632349  Size: CH

Connector Part Information

  • OEM: 15326801
  • Service: 15306156
  • Description: 2-Way F GT 150 Series Sealed (BK)

Connector Part Information

  • OEM: 15326806
  • Service: 15306166
  • Description: 2-Way M GT 150 Series Sealed (BK)

Terminal Part Information

  • Terminal: 12191819/8
  • Core/Insulation Crimp: 2/A
  • Release Tool/Test Probe: 15315247/J-35616-2A (GY)

Terminal Part Information

  • Terminal/Tray: 15326269/19
  • Core/Insulation Crimp: Pins A, B: E/1
  • Core/Insulation Crimp: Pins A, B: E/4
  • Release Tool/Test Probe: 15315247/J-35616-3 (GY)

X102 Left Front Fog Lamp Harness to Forward Lamp Harness (X88 or Z88, with T96)

Pin

Wire

Circuit

Function

Pin

Wire

Circuit

Function

A

0.8 PU

2234

Front Fog Lamp Control

A

0.5 PU

2234

Front Fog Lamp Control

B

0.8 BK

150

Ground

B

0.8 BK

250

Ground

X103 Instrument Panel Harness to Forward Lamp Harness


Object Number: 646383  Size: CH

Object Number: 632345  Size: CH

Connector Part Information

  • OEM: 15326863
  • Service: 15306410
  • Description: 16-Way F GT 150 Series Sealed (BK)

Connector Part Information

  • OEM: 15326868
  • Service: 15306364
  • Description: 16-Way M GT 150 Series Sealed (BK)

Terminal Part Information

  • Terminal: 12191818/8
  • Core/Insulation Crimp: E/A
  • Release Tool/Test Probe: 15315247/J-35616-2A (GY)

Terminal Part Information

  • Terminal: 15326269/19
  • Core/Insulation Crimp: E/4
  • Release Tool/Test Probe: 15315247/J-35616-3 (GY)

X103 Instrument Panel Harness to Forward Lamp Harness

Pin

Wire

Circuit

Function

Pin

Wire

Circuit

Function

A

0.5 TN/OG

5045

Low Reference

A

0.5 TN/OG

5045

Low Reference

B

0.5 YE

354

Discriminating Sensor - Signal

B

0.5 YE

354

Discriminating Sensor - Signal

C

0.5 GY

5600

Low Reference

C

0.5 GY

5600

Low Reference

D

0.5 D-GN

1409

Discriminating Sensor - Right - Signal

D

0.5 D-GN

1409

Discriminating Sensor - Right - Signal

E

--

--

Not Used

E

--

--

Not Used

F

0.35 TN

185

Low Washer Fluid Indicator Control

F

0.5 TN

185

Low Washer Fluid Indicator Control

G

0.35 PK/BK

109

Hood Ajar Switch Signal

G

0.5 PK/BK

109

Hood Ajar Switch Signal

H

0.35 PU

5531

Hood Closed Switch Signal

H

0.5 PU

5531

Hood Closed Switch Signal

J

--

--

Not Used

J

--

--

Not Used

K

0.35 D-BU

919

High Voltage Circuit Impact Detection Sensor Signal (HP2)

K

0.5 D-BU

919

High Voltage Circuit Impact Detection Sensor Signal (HP2)

0.8 D-GN/RD

6820

Upfitter Provision (6J7)

0.8 D-GN/RD

6820

Upfitter Provision (6J7)

L

0.35 D-BU

918

Low Reference (HP2)

L

0.5 D-BU

918

Low Reference (HP2)

0.5 D-BU/YE

6841

Rear Lamp Flasher Signal (6J7)

0.8 D-BU/YE

6841

Rear Lamp Flasher Signal (6J7)

M-N

--

--

Not Used

M

--

--

Not Used

P

0.35 L-GN/BK

735

Ambient Air Temperature Sensor Signal

P

0.5 L-GN/BK

735

Ambient Air Temperature Sensor Signal

R

0.35 D-GN

6101

Low Reference

R

0.5 D-GN

6101

Low Reference

S

0.35 WH

2282

Headlamp Washer Relay Control (CE4)

S

0.5 WH

2282

Headlamp Washer Relay Control (CE4)

X104 Right Front Fog Lamp Harness to Forward Lamp Harness (Z75 with T96)


Object Number: 646415  Size: CH

Object Number: 632353  Size: CH

Connector Part Information

  • OEM: 15326808
  • Service: 15326808
  • Description: 3-Way F GT 150 Series Sealed (BK)

Connector Part Information

  • OEM: 15326813
  • Service: 15306377
  • Description: 3-Way M GT 150 Series Sealed (BK)

Terminal Part Information

  • Terminal: 12191819/8
  • Core/Insulation Crimp: 2/A
  • Release Tool/Test Probe: 15315247/J-35616-2A (GY)

Terminal Part Information

  • Terminal/Tray: 15326269/19
  • Core/Insulation Crimp: Pin A: E/1
  • Core/Insulation Crimp: Pins B-C: E/4
  • Release Tool/Test Probe: 15315247/J-35616-3 (GY)

X104 Right Front Fog Lamp Harness to Forward Lamp Harness (Z75 with T96)

Pin

Wire

Circuit

Function

Pin

Wire

Circuit

Function

A

0.8 PU

2234

Front Fog Lamp Control

A

0.8 PU

2234

Front Fog Lamp Control

B

0.8 L-BU/WH

1314

Left Front Turn Signal Lamp Control

B

0.5 D-BU/WH

1315

Right Front Turn Signal Lamp Control

C

0.8 BK

150

Ground

C

0.8 BK

150

Ground

X104 Forward Lamp Harness to Right Front Lamp Harness (Z88)


Object Number: 646415  Size: CH

Object Number: 632353  Size: CH

Connector Part Information

  • OEM: 15326808
  • Service: 15326808
  • Description: 3-Way F GT 150 Series Sealed (BK)

Connector Part Information

  • OEM: 15326813
  • Service: 15306377
  • Description: 3-Way M GT 150 Series Sealed (BK)

Terminal Part Information

  • Terminal/Tray: 12191819/8
  • Core/Insulation Crimp: Pins: A-B: 2/A
  • Core/Insulation Crimp: Pin: C: E/A
  • Release Tool/Test Probe: 15315247/J-35616-2A (GY)

Terminal Part Information

  • Terminal: See Terminal Repair Kit
  • Core/Insulation Crimp: See Terminal Repair Kit
  • Release Tool/Test Probe: See Terminal Repair Kit

X104 Forward Lamp Harness to Right Front Lamp Harness (Z88)

Pin

Wire

Circuit

Function

Pin

Wire

Circuit

Function

A

1 BK

250

Ground

A

1 BK

--

Ground

B

0.5 D-BU/WH

1315

Right Front Turn Signal Lamp Control

B

0.5 L-BU

--

Right Front Turn Signal Lamp Control

C

0.5 BN

2609

Right Rear Park Lamps Control

C

0.5 BN

--

Right Rear Park Lamps Control

X105 Right Front Fog Lamp Harness to Forward Lamp Harness (X88 or Z88, with T96)


Object Number: 523630  Size: CH

Object Number: 632349  Size: CH

Connector Part Information

  • OEM: 15326801
  • Service: 15306156
  • Description: 2-Way F GT 150 Series Sealed (BK)

Connector Part Information

  • OEM: 15326806
  • Service: 15306166
  • Description: 2-Way M GT 150 Series Sealed (BK)

Terminal Part Information

  • Terminal: 12191819/8
  • Core/Insulation Crimp: 2/A
  • Release Tool/Test Probe: 15315247/J-35616-2A (GY)

Terminal Part Information

  • Terminal/Tray: 15326269/19
  • Core/Insulation Crimp: E/1
  • Release Tool/Test Probe: 15315247/J-35616-3 (GY)

X105 Right Front Fog Lamp Harness to Forward Lamp Harness (X88 or Z88, with T96)

Pin

Wire

Circuit

Function

Pin

Wire

Circuit

Function

A

0.8 PU

2234

Front Fog Lamp Control

A

0.5 PU

2234

Front Fog Lamp Control

B

0.8 BK

150

Ground

B

0.8 BK

150

Ground

X106 Forward Lamp Harness to Right Headlamp Harness (X88 or Z75 without EXP)


Object Number: 646372  Size: CH

Object Number: 847234  Size: CH

Connector Part Information

  • OEM: 15326654
  • Service: 88986254
  • Description: 8-Way F GT 280 Series Sealed (BK)

Connector Part Information

  • OEM: 15326655
  • Service: 15306424
  • Description: 8-Way M GT 280 Series Sealed (BK)

Terminal Part Information

  • Terminal/Tray: 15304719/19
  • Core/Insulation Crimp: Pins A-B, F: 2/5
  • Core/Insulation Crimp: Pins C-E, G: E/5
  • Release Tool/Test Probe: 15315247/J-35616-4A (PU)

Terminal Part Information

  • Terminal: See Terminal Repair Kit
  • Core/Insulation Crimp: See Terminal Repair Kit
  • Release Tool/Test Probe: See Terminal Repair Kit

X106 Forward Lamp Harness to Right Headlamp Harness (X88 or Z75 without EXP)

Pin

Wire

Circuit

Function

Pin

Wire

Circuit

Function

A

0.8 TN/WH

312

Right Headlamp Low Beam Control

A

0.35 YE

--

Right Headlamp Low Beam Control

B

1 BK

250

Ground

B

0.35 BK

--

Ground

C

0.8 L-GN/BK

311

Right Headlamp High Beam Control

C

0.35 D-GN/WH

--

Right Headlamp High Beam Control

D

0.5 D-BU

545

Daytime Running Lamp (DRL) Relay Control

D

0.35 L-BU

--

Daytime Running Lamp (DRL) Relay Control

E

0.5 BN

2609

Right Rear Park Lamps Control

E

0.35 BN

--

Right Rear Park Lamps Control

F

1 BK

150

Ground

F

0.35 BK

--

Ground

G

0.5 D-BU/WH

1315

Right Front Turn Signal Lamp Control (X88)

G

0.35 D-BU/WH

--

Right Front Turn Signal Lamp Control (X88)

H

--

--

Not Used

H

--

--

Not Used

X107 Forward Lamp Harness to Forward Lamp Harness (VYU)


Object Number: 646415  Size: CH

Object Number: 632353  Size: CH

Connector Part Information

  • OEM: 15326808
  • Service: See Catalog
  • Description: 3-Way F GT 150 Series Sealed (BK)

Connector Part Information

  • OEM: 15326813
  • Service: 15306377
  • Description: 3-Way M GT 150 Series Sealed (BK)

Terminal Part Information

  • Terminal/Tray: 12191819/8
  • Core/Insulation Crimp: Pins A-B: 2/A
  • Core/Insulation Crimp: Pin C: E/A
  • Release Tool/Test Probe: 15315247/J-35616-2A (GY)

Terminal Part Information

  • Terminal/Tray: 15326269/19
  • Core/Insulation Crimp: E/1
  • Release Tool/Test Probe: 15315247/J-35616-3 (GY)

X107 Forward Lamp Harness to Forward Lamp Harness (VYU)

Pin

Wire

Circuit

Function

Pin

Wire

Circuit

Function

A

0.8 YE

712

Left Headlamp Low Beam Control

A

0.8 YE

712

Left Headlamp Low Beam Control

B

0.8 BK

250

Ground

B

0.8 BK

150

Ground

C

0.5 D-GN/WH

711

Left Headlamp High Beam Control

C

0.5 D-GN/WH

711

Left Headlamp High Beam Control

X108 Forward Lamp Harness to Forward Lamp Harness (VYU)


Object Number: 646415  Size: CH

Object Number: 632353  Size: CH

Connector Part Information

  • OEM: 15326808
  • Service: See Catalog
  • Description: 3-Way F GT 150 Series Sealed (BK)

Connector Part Information

  • OEM: 15326813
  • Service: 15306377
  • Description: 3-Way M GT 150 Series Sealed (BK)

Terminal Part Information

  • Terminal/Tray: 12191819/8
  • Core/Insulation Crimp: Pins A-B: 2/A
  • Core/Insulation Crimp: Pin C: E/A
  • Release Tool/Test Probe: 15315247/J-35616-2A (GY)

Terminal Part Information

  • Terminal/Tray: 15326269/19
  • Core/Insulation Crimp: E/1
  • Release Tool/Test Probe: 15315247/J-35616-3 (GY)

X108 Forward Lamp Harness to Forward Lamp Harness (VYU)

Pin

Wire

Circuit

Function

Pin

Wire

Circuit

Function

A

0.8 TN/WH

312

Right Headlamp Low Beam Control

A

0.8 TN/WH

312

Right Headlamp Low Beam Control

B

0.8 BK

150

Ground

B

0.8 BK

250

Ground

C

0.5 L-GN/BK

311

Right Headlamp High Beam Control

C

0.5 L-GN/BK

311

Right Headlamp High Beam Control

X109 Engine Harness to Instrument Panel Harness (HP2 or NQH)


Object Number: 1715240  Size: CH

Object Number: 655777  Size: CH

Connector Part Information

  • OEM: 15443822
  • Service: 19151507
  • Description: 38-Way F GT 150 280 Series Sealed (BK)

Connector Part Information

  • OEM: 15317380
  • Service: 19151508
  • Description: 40-Way M GT 150 280 Series Sealed (BK)

Terminal Part Information

  • Pins: A1-A2, A7-A8, B2-B5, B8-B12, C1-C5, C8-C12, D7
  • Terminal/Tray: 12191819/8
  • Core/Insulation Crimp:Pins: A1-A2, A7-A8, B2-B4, B8-B12, C1-C5, C8-C12, D7E/A
  • Core/Insulation Crimp: Pins B5: 2/1
  • Release Tool/Test Probe: 15315247/J-35616-2A (GY)
  • Pins: A4-A5, B6-B7, C6
  • Terminal/Tray: 15304717/8
  • Core/Insulation Crimp: Pins C6: 4/1
  • Core/Insulation Crimp: Pins A4-A5, B6-B7: A/1
  • Release Tool/Test Probe: 15315247/J-35616-4A (PU)
  • Pins: C7
  • Terminal/Tray: 15304716/8
  • Core/Insulation Crimp: E/1
  • Release Tool/Test Probe: 15315247/J-35616-4A (PU)

Terminal Part Information

  • Pins: A1-A2, A7-A8, B2-B5, B8-B12, C1-C5, C8-C12, D7
  • Terminal/Tray: 15326269/19
  • Core/Insulation Crimp: E/4
  • Release Tool/Test Probe: 15315247/J-35616-3 (GY)
  • Pins: A4-A5, B6-B7, C6
  • Terminal/Tray: 15304729/8
  • Core/Insulation Crimp: Pins A4-A5, B6-B7: 4/1
  • Core/Insulation Crimp: Pins C6: C/1
  • Release Tool/Test Probe: 15315247/J-35616-5 (PU)
  • Pins: C7
  • Terminal/Tray: 15304728/8
  • Core/Insulation Crimp: E/1
  • Release Tool/Test Probe: 15315247/J-35616-5 (PU)

X109 Engine Harness to Instrument Panel Harness (HP2 or NQH)

Pin

Wire

Circuit

Function

Pin

Wire

Circuit

Function

A1

0.5 OG/WH

7477

5-Volt Reference (NQH)

A1

0.5 OG/WH

7477

5-Volt Reference (NQH)

A2

0.35 YE

7474

Transfer Case Encoder Signal (NQH)

A2

0.35 YE

7474

Transfer Case Encoder Signal (NQH)

A3

--

--

Not Used

A3

--

--

Not Used

A4

3 RD/BK

1342

Battery Positive Voltage (NQH)

A4

3 RD/BK

1342

Battery Positive Voltage (NQH)

A5

3 TN

1552

Motor Control A (NQH)

A5

3 TN

1552

Motor Control A (NQH)

A6

--

--

Not Used

A6

--

--

Not Used

A7

0.35 BN/WH

419

Malfunction Indicator Lamp (MIL) Control

A7

0.35 BN/WH

419

Malfunction Indicator Lamp (MIL) Control

A8

0.5 TN/BK

2500

High Speed GMLAN Serial Data Bus + (except HP2)

A8

0.5 TN/BK

2500

High Speed GMLAN Serial Data Bus + (except HP2)

B1

--

--

Not Used

B1

--

--

Not Used

B2

0.5 PK

5076

Current Sensor Control (10 Series)

B2

0.5 PK

5076

Current Sensor Control (10 Series)

B3

0.5 WH

5075

Current Sensor Signal (10 Series)

B3

0.5 WH

5075

Current Sensor Signal (10 Series)

B4

0.5 BN

5077

Low Reference (10 Series)

B4

0.5 BN

5077

Low Reference (10 Series)

B5

0.8 BK/WH

451

Ground

B5

0.5 BK/WH

451

Ground

B6

3 OG

1553

Motor Control B (NQH)

B6

3 OG

1553

Motor Control B (NQH)

B7

3 BK

550

Ground (NQH)

B7

3 BK

550

Ground (NQH)

B8

0.35 D-BU

5985

Accessory Wakeup Serial Data

B8

0.35 D-BU

5985

Accessory Wakeup Serial Data

B9

0.35 WH/L-GN

7475

5-Volt Reference (NQH)

B9

0.35 WH/L-GN

7475

5-Volt Reference (NQH)

B10

0.5 TN

2501

High Speed GMLAN Serial Data Bus - (except HP2)

B10

0.5 TN

2501

High Speed GMLAN Serial Data Bus - (except HP2)

B11

0.5 YE/BK

7478

Low Reference (NQH)

B11

0.5 YE/BK

7478

Low Reference (NQH)

B12

0.35 PU

7476

Incremental Encoder Sensor Return (NQH)

B12

0.35 PU

7476

Incremental Encoder Sensor Return (NQH)

C1

0.35 PU

1272

Low Reference

C1

0.35 PU

1272

Low Reference

C2

0.35 L-BU

1162

Accelerator Pedal Position (APP) Sensor 2 Signal

C2

0.35 L-BU

1162

Accelerator Pedal Position (APP) Sensor 2 Signal

C3

0.35 TN

1274

5-Volt Reference

C3

0.35 TN

1274

5-Volt Reference

C4

0.35 D-BU

1161

Accelerator Pedal Position (APP) Sensor 1 Signal

C4

0.35 D-BU

1161

Accelerator Pedal Position (APP) Sensor 1 Signal

C5

0.35 WH/BK

1164

5-Volt Reference

C5

0.35 WH/BK

1164

5-Volt Reference

C6

2 TN

1569

Lock Solenoid Control (NQH)

C6

2 TN

1569

Lock Solenoid Control (NQH)

C7

0.5 TN/WH

1695

Axle Switch Signal (NQH)

C7

0.5 TN/WH

1695

Axle Switch Signal (NQH)

C8

0.5 GY/BK

1570

Front Axle Actuator Control (NQH)

C8

0.35 GY/BK

1570

Front Axle Actuator Control (NQH)

C9

--

--

Not Used

C9

0.35 GY/BK

1694

4WD Low Signal

C10

0.35 D-BU/WH

7473

Transfer Case Encoder Signal (NQH)

C10

0.35 BN/WH

7473

Transfer Case Encoder Signal (NQH)

C11

0.5 L-GN

7479

Rotational Position Sensor Signal (NQH)

C11

0.5 L-GN

7479

Rotational Position Sensor Signal (NQH)

C12

0.5 D-BU

204

A/C Low Pressure Sensor Signal (except HP2)

C12

0.35 D-BU

204

A/C Low Pressure Sensor Signal (except HP2)

D1-D3

--

--

Not Used

D1-D3

--

--

Not Used

D4-D5

--

--

Not Available

D4-D5

--

--

Not Used

D6

--

--

Not Used

D6

--

--

Not Used

D7

0.35 BN

1271

Low Reference

D7

0.35 BN

1271

Low Reference

D8

--

--

Not Used

D8

--

--

Not Used

X109 Engine Harness to Instrument Panel Harness (except HP2 and without NQH)


Object Number: 1552588  Size: CH

Object Number: 586335  Size: CH

Connector Part Information

  • OEM: 15366099
  • Service: 15366099
  • Description: 24-Way F GT 150 280 Series Sealed (BK)

Connector Part Information

  • OEM: 15336173
  • Service: 15336173
  • Description: 24-Way M GT 150 280 Series Sealed (BK)

Terminal Part Information

  • Pins: A1-A2, A6-A8, B2-B3, B6-B8, C1-C3, C6
  • Terminal/Tray: 12191819/8
  • Core/Insulation Crimp: E/A
  • Release Tool/Test Probe: 15315247/J-35616-2A (GY)
  • Pins: B4-B5, C4-C5
  • Terminal/Tray: 15304719/19
  • Core/Insulation Crimp: Pins B4, C4-C5: E/5
  • Core/Insulation Crimp: Pins B5: 2/5
  • Release Tool/Test Probe: 15315247/J-35616-4A (PU)

Terminal Part Information

  • Pins: A1-A2, A6-A8, B2-B3, B6-B8, C1-C3, C6
  • Terminal/Tray: 15326269/19
  • Core/Insulation Crimp: E/4
  • Release Tool/Test Probe: 15315247/J-35616-3 (GY)
  • Pins: B4, B5, C4, C5
  • Terminal/Tray: 15304731/19
  • Core/Insulation Crimp: E/5
  • Release Tool/Test Probe: 15315247/J-35616-5 (PU)

X109 Engine Harness to Instrument Panel Harness (except HP2 and without NQH)

Pin

Wire

Circuit

Function

Pin

Wire

Circuit

Function

A1

0.35 WH/BK

5039

CKP Sensor High (Y91)

A1

0.35 WH/BK

5039

CKP Sensor High (Y91)

A2

0.35 PU/WH

5024

CKP Sensor Low (Y91)

A2

0.35 PU/WH

5024

CKP Sensor Low (Y91)

A3-A5

--

--

Not Used

A3-A5

--

--

Not Used

A6

0.5 TN

2501

High Speed GMLAN Serial Data Bus -

A6

0.5 TN

2501

High Speed GMLAN Serial Data Bus -

A7

0.5 BN/WH

419

Malfunction Indicator Lamp (MIL) Control

A7

0.35 BN/WH

419

Malfunction Indicator Lamp

(MIL) Control

A8

0.5 TN/BK

2500

High Speed GMLAN Serial Data Bus +

A8

0.5 TN/BK

2500

High Speed GMLAN Serial Data Bus +

B1

--

--

Not Used

B1

--

--

Not Used

B2

0.5 PK

5076

Current Sensor Control

B2

0.5 PK

5076

Current Sensor Control

B3

0.5 WH

5075

Current Sensor Signal

B3

0.5 WH

5075

Current Sensor Signal

B4

0.5 BN

5077

Low Reference

B4

0.5 BN

5077

Low Reference

B5

0.8 BK/WH

451

Ground

B5

0.5 BK/WH

451

Ground

B6

0.5 D-BU

204

A/C Low Pressure Sensor Signal

B6

0.35 D-BU

204

A/C Low Pressure Sensor Signal

B7

--

--

Not Used

B7

--

--

Not Used

B8

0.35 D-BU

5985

Accessory Wakeup Serial Data

B8

0.35 D-BU

5985

Accessory Wakeup Serial Data

C1

0.35 PU

1272

Low Reference

C1

0.35 PU

1272

Low Reference

C2

0.35 L-BU

1162

APP Sensor 2 Signal

C2

0.35 L-BU

1162

APP Sensor 2 Signal

C3

0.35 TN

1274

5-Volt Reference

C3

0.35 TN

1274

5-Volt Reference

C4

0.35 D-BU

1161

Accelerator Pedal Position (APP) Sensor 1 Signal

C4

0.35 D-BU

1161

Accelerator Pedal Position (APP) Sensor 1 Signal

C5

0.35 WH/BK

1164

5-Volt Reference

C5

0.35 WH/BK

1164

5-Volt Reference

C6

0.35 BN

1271

Low Reference

C6

0.35 BN

1271

Low Reference

C7-C8

--

--

Not Used

C7-C8

--

--

Not Used

X110 Engine Harness to Front Axle Harness (NQH)


Object Number: 684854  Size: CH

Object Number: 396241  Size: CH

Connector Part Information

  • OEM: 12162144
  • Service: 12102741
  • Description: 4-Way F Metri-Pack 150 Series Sealed (BK)

Connector Part Information

  • OEM: 12162102
  • Service: 15305839
  • Description: 4-Way M Metri-Pack 150 Series Sealed (BK)

Terminal Part Information

  • Pins: A, B, C
  • Terminal/Tray: 12048074/2
  • Core/Insulation Crimp: E/1
  • Release Tool/Test Probe: 12094429/J-35616-14 (GN)
  • Pins: D
  • Terminal/Tray: 12160223/3
  • Core/Insulation Crimp: E/1
  • Release Tool/Test Probe: 12094429/J-35616-14 (GN)

Terminal Part Information

  • Terminal: 12045773/2
  • Core/Insulation Crimp: E/1
  • Release Tool/Test Probe: 12094429/J-35616-3 (GY)

X110 Engine Harness to Front Axle Harness (NQH)

Pin

Wire

Circuit

Function

Pin

Wire

Circuit

Function

A

0.5 TN/WH

1695

Axle Switch Signal

A

0.5 TN/WH

1695

Axle Switch Signal

B

0.5 GY/BK

1570

Front Axle Actuator Control

B

0.5 GY/BK

1570

Front Axle Actuator Control

C

0.5 PK

2139

Ignition Voltage

C

0.5 PK

2139

Ignition Voltage

D

0.8 BK

550

Ground

D

0.5 BK

550

Ground

X111 Engine Harness to Left Ignition Coil Harness


Object Number: 684790  Size: CH

Object Number: 365940  Size: CH

Connector Part Information

  • OEM: 12047938
  • Service: 12102754
  • Description: 7-Way F Metri-Pack 150 Series Sealed (GY)

Connector Part Information

  • OEM: 15326169
  • Service: 12102490
  • Description: 7-Way M Metri-Pack 150 Series Sealed (GY)

Terminal Part Information

  • Pins: B, C, E, F, G
  • Terminal/Tray: 12048074/2
  • Core/Insulation Crimp: E/1
  • Release Tool/Test Probe: 12094429/J-35616-14 (GN)
  • Pins: H, A
  • Terminal/Tray: 12160223/3
  • Core/Insulation Crimp: Pins: H : E/1
  • Core/Insulation Crimp: Pins: A : 2/1
  • Release Tool/Test Probe: 12094429/J-35616-14 (GN)

Terminal Part Information

  • Terminal: 12045773/2
  • Core/Insulation Crimp: E/1
  • Release Tool/Test Probe: 12094429/J-35616-3 (GY)

X111 Engine Harness to Left Ignition Coil Harness

Pin

Wire

Circuit

Function

Pin

Wire

Circuit

Function

A

1 BK

350

Ground

A

0.5 BK

350

Ground

B

0.5 OG

2127

Ignition Coil 7 Control

B

0.35 OG

2127

Ignition Coil 7 Control

C

0.5 D-GN

2125

Ignition Coil 5 Control

C

0.5 D-GN

2125

Ignition Coil 5 Control

E

0.5 BN

2129

Low Reference

E

0.5 BN

2129

Low Reference

F

0.5 L-BU

2123

Ignition Coil 3 Control

F

0.5 L-BU

2123

Ignition Coil 3 Control

G

0.5 PU

2121

Ignition Coil 1 Control

G

0.5 PU

2121

Ignition Coil 1 Control

H

0.8 PK

1039

Ignition Voltage

H

0.5 PK

39

Ignition Voltage

X112 Engine Harness to Camshaft Position Sensor Jumper Harness (6.0L)


Object Number: 647974  Size: CH

Object Number: 1334521  Size: CH

Connector Part Information

  • OEM: 15326822
  • Service: 19151498
  • Description: 5-Way F GT 150 Series Sealed (BK)

Connector Part Information

  • OEM: 15326827
  • Service: 89046648
  • Description: 5-Way M GT 150 Series Sealed (BK)

Terminal Part Information

  • Terminal/Tray: 12191819/8
  • Core/Insulation Crimp: E/A
  • Release Tool/Test Probe: 15315247/J-35616-2A (GY)

Terminal Part Information

  • Terminal: 15326269/19
  • Core/Insulation Crimp: E/4
  • Release Tool/Test Probe: 15315247/J-35616-3 (GY)

X112 Engine Harness to Camshaft Position Sensor Jumper Harness (6.0L)

Pin

Wire

Circuit

Function

Pin

Wire

Circuit

Function

A

0.35 D-BU

6259

5-Volt Reference

A

0.35 D-BU

6259

5-Volt Reference

B

0.35 BN

6266

Low Reference

B

0.35 BN

6266

Low Reference

C

0.35 D-BU/WH

6265

Camshaft Position (CMP) Sensor Signal

C

0.35 D-BU/WH

6265

Camshaft Position (CMP) Sensor Signal

D

0.35 PU

5284

Camshaft Phaser Intake Solenoid (1)

D

0.35 PU

5284

Camshaft Phaser Intake Solenoid (1)

E

0.35 TN

2199

Low Reference

E

0.35 TN

2199

Low Reference

X112 Engine Harness to Camshaft Position Sensor Jumper Harness (except 6.0L)


Object Number: 684807  Size: CH

Object Number: 655690  Size: CH

Connector Part Information

  • OEM: 12110293
  • Service: 12118025
  • Description: 3-Way F Metri-Pack 150 Series Sealed (BK)

Connector Part Information

  • OEM: 12129615
  • Service: 15305889
  • Description: 3-Way M Metri-Pack 150 Series Sealed (BK)

Terminal Part Information

  • Terminal: 12048074/2
  • Core/Insulation Crimp: E/1
  • Release Tool/Test Probe: 35616-2A (GY)

Terminal Part Information

  • Terminal: See Terminal Repair Kit
  • Core/Insulation Crimp: See Terminal Repair Kit
  • Release Tool/Test Probe: See Terminal Repair Kit

X112 Engine Harness to Camshaft Position Sensor Jumper Harness (except 6.0L)

Pin

Wire

Circuit

Function

Pin

Wire

Circuit

Function

A

0.35 D-BU

6259

5-Volt Reference

A

0.35 D-BU

6259

5-Volt Reference

B

0.35 BN

6266

Low Reference

B

0.35 BN

6266

Low Reference

C

0.35 D-BU/WH

6265

Camshaft Position (CMP) Sensor Signal

C

0.35 D-BU/WH

6265

Camshaft Position (CMP) Sensor Signal

X113 Engine Harness to Right Ignition Coil Harness


Object Number: 684790  Size: CH

Object Number: 365940  Size: CH

Connector Part Information

  • OEM: 12047938
  • Service: 12102754
  • Description: 7-Way F Metri-Pack 150 Series Sealed (GY)

Connector Part Information

  • OEM: 12047933
  • Service: 12102490
  • Description: 7-Way M Metri-Pack 150 Series Sealed (GY)

Terminal Part Information

  • Pins: B, C, E, F, G
  • Terminal/Tray: 12048074/2
  • Core/Insulation Crimp: E/1
  • Release Tool/Test Probe: 12094429/J-35616-14 (GN)
  • Pins: H, A
  • Terminal/Tray: 12160223/3
  • Core/Insulation Crimp: Pins: H : E/1
  • Core/Insulation Crimp: Pins: A : 2/1
  • Release Tool/Test Probe: 12094429/J-35616-14 (GN)

Terminal Part Information

  • Terminal: 12045773/2
  • Core/Insulation Crimp: E/1
  • Release Tool/Test Probe: 12094429/J-35616-3 (GY)

X113 Engine Harness to Right Ignition Coil Harness

Pin

Wire

Circuit

Function

Pin

Wire

Circuit

Function

A

1 BK

350

Ground

A

0.5 BK

350

Ground

B

0.5 OG/WH

2122

Ignition Coil 2 Control

B

0.5 OG

2122

Ignition Coil 2 Control

C

0.5 D-GN/WH

2124

Ignition Coil 4 Control

C

0.5 D-GN

2124

Ignition Coil 4 Control

D

--

--

Not Available

D

--

--

Not Available

E

0.5 BN/WH

2130

Low Reference

E

0.5 BN

2130

Low Reference

F

0.5 L-BU/WH

2126

Ignition Coil 6 Control

F

0.5 L-BU

2126

Ignition Coil 6 Control

G

0.5 PU/WH

2128

Ignition Coil 8 Control

G

0.5 PU

2128

Ignition Coil 8 Control

H

0.8 PK

1239

Ignition Voltage (HP2)

H

0.5 PK

2139

Ignition Voltage (HP2)

0.8 PK/WH

1239

Ignition Voltage (except HP2)

0.5 PK/WH

2139

Ignition Voltage (except HP2)

X114 Battery Positive Cable to Brake/Clutch Harness (6J4)


Object Number: 2042479  Size: CH

Object Number: 309512  Size: CH

Connector Part Information

  • OEM: 13520916
  • Service: See Catalog
  • Description: 1-Way F Power Pack Series, Sealed (BK)

Connector Part Information

  • OEM: 15320909
  • Service: See Catalog
  • Description: 1-Way M Power Pack 2000 Series, Sealed (BK)

Terminal Part Information

  • Terminal: Not Serviced
  • Core/Insulation Crimp: Not Serviced
  • Release Tool/Test Probe: Not Serviced

Terminal Part Information

  • Terminal: Not Serviced
  • Core/Insulation Crimp: Not Serviced
  • Release Tool/Test Probe: Not Serviced

X114 Brake/Clutch Harness to Fuse Block Jumper Harness (6J4)

Pin

Wire

Circuit

Function

Pin

Wire

Circuit

Function

A

19 RD

202

Battery Positive Voltage

A

19 RD

202

Battery Positive Voltage

X115 Chassis Harness to Instrument Panel Harness


Object Number: 1552588  Size: CH

Object Number: 1711028  Size: CH

Connector Part Information

  • OEM: 15488829
  • Service: 19115665
  • Description: 24-Way F GT 150 280 Series Sealed (WH)

Connector Part Information

  • OEM: 15488828
  • Service: 19149285
  • Description: 24-Way M GT 150 280 Series Sealed (WH)

Terminal Part Information

  • Pins: A1-A3, A6-A8, B1-B3, B6-B8, C1-C3, C6-C8
  • Terminal/Tray: 12191819/8
  • Core/Insulation Crimp: Pins A1-A3, A6-A8, B3, B6-B8, C1-C3, C8: E/A
  • Core/Insulation Crimp: Pins B1, B2, C6: 2/A
  • Release Tool/Test Probe: 15315247/J-35616-2A (GY)
  • Pins: B5
  • Terminal/Tray: 15304720/19
  • Core/Insulation Crimp: 4/5
  • Release Tool/Test Probe: 15315247/J-35616-4A (PU)
  • Pins: A4, A5, B4, C4, C5
  • Terminal/Tray: 15304719/19
  • Core/Insulation Crimp: Pins A4, A5, B4, C4: E/5
  • Core/Insulation Crimp: Pins C5: 2/5
  • Release Tool/Test Probe: 15315247/J-35616-4A (PU)

Terminal Part Information

  • Pins: A1-A3, A6-A8, B1-B3, B6-B8, C1-C3, C6-C8
  • Terminal/Tray: 15326269/19
  • Core/Insulation Crimp: Pins A1-A3, A6-A8, B3, B6-B8, C1-C3, C8: E/4
  • Core/Insulation Crimp: Pins B1, B2, C6: E/1
  • Release Tool/Test Probe: 15315247/J-35616-3 (GY)
  • Pins: A4, A5, B4, C4, C5
  • Terminal/Tray: 15304731/19
  • Core/Insulation Crimp: E/5
  • Release Tool/Test Probe: 15315247/J-35616-5 (PU)
  • Pins: B5
  • Terminal/Tray: 15304732/8
  • Core/Insulation Crimp: A/5
  • Release Tool/Test Probe: 15315247/J-35616-5 (PU)

X115 Chassis Harness to Instrument Panel Harness

Pin

Wire

Circuit

Function

Pin

Wire

Circuit

Function

A1

0.5 D-GN

2087

5-Volt Reference (except HP2)

A1

0.5 D-GN

2087

5-Volt Reference (except HP2)

A2

0.5 YE

6046

Steering Angle Sensor Phase A

A2

0.35 YE

6046

Steering Angle Sensor Phase A

A3

0.5 D-BU

6047

Steering Angle Sensor Phase B

A3

0.35 D-BU

6047

Steering Angle Sensor Phase B

A4

0.5 TN

6048

Steering Angle Sensor Phase C

A4

0.35 TN

6048

Steering Angle Sensor Phase C

A5

0.5 TN/WH

6433

CAN Bus High Serial Data (except HP2)

A5

0.5 TN/WH

6433

CAN Bus High Serial Data (except HP2)

A6

0.5 YE/BK

2500

High Speed GMLAN Serial Data Bus + (except HP2)

A6

0.5 TN/BK

2500

High Speed GMLAN Serial Data Bus + (except HP2)

A7

0.5 YE

2501

High Speed GMLAN Serial Data Bus - (except HP2)

A7

0.5 TN

2501

High Speed GMLAN Serial Data Bus - (except HP2)

A8

0.5 L-BU

5986

Serial Data Communication Enable (except HP2)

A8

0.35 L-BU

5986

Serial Data Communication Enable (except HP2)

B1

0.8 TN

294

Door Lock Actuator Unlock Control (without E52)

B1

0.8 TN

294

Door Lock Actuator Unlock Control (without E52)

B2

0.8 GY

295

Door Lock Actuator Lock Control (without E52)

B2

0.8 GY

295

Door Lock Actuator Lock Control (without E52)

B3

0.35 YE

5356

Left Tail Lamp Outage Detection Signal (Z75 with E52)

B3

0.5 YE

5356

Left Tail Lamp Outage Detection Signal (Z75 with E52)

B4

0.5 L-GN/BK

6432

CAN Bus Low Serial Data (except HP2)

B4

0.5 L-GN/BK

6432

CAN Bus Low Serial Data (except HP2)

B5

3 D-BU

47

Trailer Auxiliary Control

B5

3 D-BU

47

Trailer Auxiliary Control

B6

0.5 D-GN/WH

817

Vehicle Speed Signal

B6

0.35 D-GN/WH

817

Vehicle Speed Signal

B7

0.5 L-GN

6043

Steering Angle Sensor Signal

B7

0.35 L-GN

6043

Steering Angle Sensor Signal

B8

0.5 GY

6044

5-Volt Reference

B8

0.35 GY

6044

5-Volt Reference

C1

0.5 OG/BK

6045

Low Reference

C1

0.35 OG/BK

6045

Low Reference

C2

0.35 PU

5357

Right Tail Lamp Outage Detection Signal (Z75 with E52)

C2

0.5 PU

5357

Right Tail Lamp Outage Detection Signal (Z75 with E52)

C3-C4

--

--

Not Used

C3-C4

--

--

Not Used

C5

0.35 PK

7141

Trailer Connected Signal Trailer (EXP)

C5

0.35 PK

7141

Trailer Connected Signal Trailer (EXP)

C6

0.35 L-BU

1620

CHMSL Control (EXP)

C6

0.8 L-BU

1620

CHMSL Control (EXP)

C7

0.5 RD/WH

840

Battery Positive Voltage (UFT)

C7

0.35 RD/WH

840

Battery Positive Voltage (UFT)

C8

0.5 PK

739

Ignition Voltage (G69)

C8

0.35 PK

739

Ignition Voltage (G69)

X116 Battery Positive Cable to Brake/Clutch Harness (6J4)


Object Number: 814659  Size: CH

Object Number: 814660  Size: CH

Connector Part Information

  • OEM: 15326117
  • Service: See Catalog
  • Description: 1-Way F Metri-Pack 800 Series, Sealed (BK)

Connector Part Information

  • OEM: 15326119
  • Service: 89046877
  • Description: 1-Way M Metri-Pack 800 Series, Sealed (BK)

Terminal Part Information

  • Terminal: Not Serviced
  • Core/Insulation Crimp: Not Serviced
  • Release Tool/Test Probe: Not Serviced

Terminal Part Information

  • Terminal: Not Serviced
  • Core/Insulation Crimp: Not Serviced
  • Release Tool/Test Probe: Not Serviced

X116 Brake/Clutch Harness to Fuse Block Jumper Harness (6J4)

Pin

Wire

Circuit

Function

Pin

Wire

Circuit

Function

1

8 RD/WH

102

Battery Positive Voltage

1

8 RD/WH

102

Battery Positive Voltage

X117 Instrument Panel Harness to Chassis Harness (BRS or UFT)


Object Number: 684908  Size: CH

Object Number: 697038  Size: CH

Connector Part Information

  • OEM: 15321459
  • Service: 19152589
  • Description: 4-Way F GT 280 Series Sealed (BK)

Connector Part Information

  • OEM: 15326633
  • Service: 15306361
  • Description: 4-Way M GT 280 Series Sealed (BK)

Terminal Part Information

  • Pins: A, B
  • Terminal: 15304719/19
  • Core/Insulation Crimp: 2/5
  • Release Tool/Test Probe: 15315247/J-35616-4A (PU)
  • Pins: C, D
  • Terminal: 15304720/19
  • Core/Insulation Crimp: 4/5
  • Release Tool/Test Probe: 15315247/J-35616-4A (PU)

Terminal Part Information

  • Pins: A, B
  • Terminal: 15304730/8
  • Core/Insulation Crimp: A/5
  • Release Tool/Test Probe: 15315247/J-35616-5 (PU)
  • Pins: C, D
  • Terminal: 15304732/19
  • Core/Insulation Crimp: E/5
  • Release Tool/Test Probe: 15315247/J-35616-5 (PU)

X117 Instrument Panel Harness to Chassis Harness (BRS or UFT)

Pin

Wire

Circuit

Function

Pin

Wire

Circuit

Function

A

0.35 TN/WH

7462

Running Boards Disable Signal (BRS)

A

0.5 TN/WH

7462

Running Boards Disable Signal (BRS)

B

0.35 D-GN

5060

Low Speed GMLAN Serial Data

B

0.5 D-GN

5060

Low Speed GMLAN Serial Data

C

3 RD/BK

1142

Battery Positive Voltage (BRS)

C

3 RD/BK

1142

Battery Positive Voltage (BRS)

D

3 BK

1350

Ground

D

3 BK

1350

Ground

X118 Forward Lamp Harness to Export Side Repeater Jumper Harness (EXP)


Object Number: 523630  Size: CH

Object Number: 632349  Size: CH

Connector Part Information

  • OEM: 15326801
  • Service: 15306156
  • Description: 2-Way F GT 150 Series Sealed (BK)

Connector Part Information

  • OEM: 15326806
  • Service: 15306166
  • Description: 2-Way M GT 150 Series Sealed (BK)

Terminal Part Information

  • Terminal/Tray: 12191819/8
  • Core/Insulation Crimp: 2/A
  • Release Tool/Test Probe: 15315247/J-35616-2A (GY)

Terminal Part Information

  • Terminal: 15326269/19
  • Core/Insulation Crimp: E/1
  • Release Tool/Test Probe: 15315247/J-35616-3 (GY)

X118 Forward Lamp Harness to Export Side Repeater Jumper Harness (EXP)

Pin

Wire

Circuit

Function

Pin

Wire

Circuit

Function

A

0.8 YE/BK

1334

Left Rear Turn Signal Lamp Control

A

0.8 YE/BK

1334

Left Rear Turn Signal Lamp Control

B

0.8 BK

150

Ground

B

0.8 BK

150

Ground

X119 Forward Lamp Harness to Export Side Repeater Jumper Harness (EXP)


Object Number: 523630  Size: CH

Object Number: 632349  Size: CH

Connector Part Information

  • OEM: 15326801
  • Service: 15306156
  • Description: 2-Way F GT 150 Series Sealed (BK)

Connector Part Information

  • OEM: 15326806
  • Service: 15306166
  • Description: 2-Way M GT 150 Series Sealed (BK)

Terminal Part Information

  • Terminal/Tray: 12191819/8
  • Core/Insulation Crimp: 2/A
  • Release Tool/Test Probe: 15315247/J-35616-2A (GY)

Terminal Part Information

  • Terminal: 15326269/19
  • Core/Insulation Crimp: E/1
  • Release Tool/Test Probe: 15315247/J-35616-3 (GY)

X119 Forward Lamp Harness to Export Side Repeater Jumper Harness (EXP)

Pin

Wire

Circuit

Function

Pin

Wire

Circuit

Function

A

0.8 D-GN/WH

1335

Right Rear Turn Signal Lamp Control

A

0.8 YE/BK

1334

Left Rear Turn Signal Lamp Control

B

0.8 BK

250

Ground

B

0.8 BK

150

Ground

X120 Forward Lamp Harness to Engine Harness (HP2)


Object Number: 646430  Size: CH

Object Number: 872898  Size: CH

Connector Part Information

  • OEM: 15326815
  • Service: 15326815
  • Description: 4-Way F GT 150 Sealed 4.0 (BK)

Connector Part Information

  • OEM: 15487755
  • Service: 19153735
  • Description: 4-Way M GT 150 Series, Sealed (BK)

Terminal Part Information

  • Terminal/Tray: 12191819/8
  • Core/Insulation Crimp: E/A
  • Release Tool/Test Probe: 15315247/J-35616-2A (GY)

Terminal Part Information

  • Terminal/Tray: 15326269/19
  • Core/Insulation Crimp: E/4
  • Release Tool/Test Probe: 15315247/J-35616-3 (GY)

X120 Forward Lamp Harness to Engine Harness (HP2)

Pin

Wire

Circuit

Function

Pin

Wire

Circuit

Function

A

0.35 GY

2700

5-Volt Reference

A

0.5 GY

2700

5-Volt Reference

B

0.35 OG/BK

380

A/C Refrigerant Pressure Sensor Signal

B

0.5 OG/BK

380

A/C Refrigerant Pressure Sensor Signal

C

0.35 TN

5514

Low Reference

C

0.5 TN

5514

Low Reference

D

0.5 D-GN

942

Low Temperature Cooling Pump Motor Control

D

0.5 D-GN

942

Low Temperature Cooling Pump Motor Control

X122 Forward Lamp Harness to Forward Lamp Harness (5W4 or PPV)


Object Number: 632357  Size: CH

Object Number: 646396  Size: CH

Connector Part Information

  • OEM: 15326829
  • Service: 88953153
  • Description: 6-Way F GT 150 Series Sealed (BK)

Connector Part Information

  • OEM: 15326833
  • Service: 15326833
  • Description: 6-Way M GT 150 Series Sealed (BK)

Terminal Part Information

  • Terminal: 12191819/8
  • Core/Insulation Crimp:2/A
  • Release Tool/Test Probe: 15315247/J-35616-2A (GY)

Terminal Part Information

  • Terminal: 15326269/19
  • Core/Insulation Crimp: E/1
  • Release Tool/Test Probe: 15315247/J-35616-3 (GY)

X122 Forward Lamp Harness to Forward Lamp Harness (5W4 or PPV)

Pin

Wire

Circuit

Function

Pin

Wire

Circuit

Function

A

0.8 BK

250

Ground

A

--

--

Not Used

B

0.8 D-GN/WH

711

Left Headlamp High Beam Control

B

0.8 D-GN/WH

711

Left Headlamp High Beam Control

C

0.8 RD/WH

3640

Battery Positive Voltage

C

--

--

Not Used

D

0.8 L-GN/BK

311

Right Headlamp High Beam Control

D

0.8 L-GN/BK

311

Right Headlamp High Beam Control

E

0.8 D-GN/RD

6820

Upfitter Provision

E

--

--

Not Used

F

0.8 D-BU/YE

6841

Rear Lamp Flasher Signal

F

--

--

Not Used

X123 Brake Clutch Harness to Chassis Harness (JL1)


Object Number: 646400  Size: CH

Object Number: 684916  Size: CH

Connector Part Information

  • OEM: 15326835
  • Service: 88986255
  • Description: 8-Way F GT 150 Series Sealed (BK)

Connector Part Information

  • OEM: 15326840
  • Service: 15326840
  • Description: 8-Way M GT 150 Sealed 4.0 (BK)

Terminal Part Information

  • Pins: A-E, G-H
  • Terminal/Tray: 12191819/8
  • Core/Insulation Crimp: E/A
  • Release Tool/Test Probe: 15315247/J-35616-2A (GY)

Terminal Part Information

  • Pins: A-E, G-H
  • Terminal/Tray: 15326269/19
  • Core/Insulation Crimp: E/4
  • Release Tool/Test Probe: 15315247/J-35616-3 (GY)

X123 Brake Clutch Harness to Chassis Harness (JL1)

Pin

Wire

Circuit

Function

Pin

Wire

Circuit

Function

A

0.35 TN

7631

Low Reference

A

0.5 TN

7631

Low Reference

B

0.35 L-GN/BK

7633

Integrated Trailer Brake Controller User Gain Signal

B

0.5 L-GN/BK

7633

Integrated Trailer Brake Controller User Gain Signal

C

0.35 YE

7635

Integrated Trailer Brake Controller Manual Apply Signal

C

0.5 YE

7635

Integrated Trailer Brake Controller Manual Apply Signal

D

0.35 D-BU

7632

5-Volt Reference

D

0.5 D-BU

7632

5-Volt Reference

E

0.35 BN

7634

Integrated Trailer Brake Controller Redundant Manual Apply Signal

E

0.5 BN

7634

Integrated Trailer Brake Controller Redundant Manual Apply Signal

F

--

--

Not Used

F

--

--

Not Used

G

0.35 L-BU/WH

6311

TCC Brake Signal

G

0.5 L-BU/WH

6311

TCC Brake Signal

H

0.35 PK

239

Ignition Voltage

H

0.5 PK

239

Ignition Voltage

X129 I/P Harness to Chassis Harness (HP2)


Object Number: 655811  Size: CH

Object Number: 655813  Size: CH

Connector Part Information

  • OEM: 15326084
  • Service: 15326084
  • Description: 16-Way F GT 150 280 Sealed 4.0 5.8 (BK)

Connector Part Information

  • OEM: 15326085
  • Service: 15326085
  • Description: 16-Way M GT 150 280 Sealed 4.0 5.8 (BK)

Terminal Part Information

  • Pins: B-F, K-N
  • Terminal/Tray: 12191819/8
  • Core/Insulation Crimp: E/A
  • Release Tool/Test Probe: 15315247/J-35616-2A (GY)
  • Pins: H, J
  • Terminal/Tray: 15304719/19
  • Core/Insulation Crimp: E/5
  • Release Tool/Test Probe: 15315247/J-35616-4A (PU)

Terminal Part Information

  • Pins: A, S
  • Terminal/Tray: 15304732/8
  • Core/Insulation Crimp: A/5
  • Release Tool/Test Probe: 15315247/J-35616-5 (PU)
  • Pins: B-F, K-N
  • Terminal/Tray: 15326269/19
  • Core/Insulation Crimp: E/4
  • Release Tool/Test Probe: 15315247/J-35616-3 (GY)
  • Pins: H, J
  • Terminal/Tray: 15304731/19
  • Core/Insulation Crimp: E/5
  • Release Tool/Test Probe: 15315247/J-35616-5 (PU)

X129 I/P Harness to Chassis Harness (HP2)

Pin

Wire

Circuit

Function

Pin

Wire

Circuit

Function

A

--

--

Not Used

A

3 RD/BK

442

Not Used

B

0.5 TN/BK

2500

High Speed GMLAN Serial Data Bus +

B

0.5 TN/BK

2500

High Speed GMLAN Serial Data Bus +

C

0.5 TN

2501

High Speed GMLAN Serial Data Bus -

C

0.5 TN

2501

High Speed GMLAN Serial Data Bus -

D

0.35 L-BU

5986

Serial Data Communication Enable

D

0.5 L-BU

5986

Serial Data Communication Enable

E-G

--

--

Not Used

E-G

--

--

Not Used

H

0.5 RD/BK

910

5-Volt Reference

H

0.5 RD

442

5-Volt Reference

J

0.5 RD/BK

911

Pedal Travel Sensor Signal A

J

0.5 RD/BK

442

Pedal Travel Sensor Signal A

K

0.5 RD/BK

912

Pedal Travel Sensor Signal B

K

0.5 RD/BK

442

Pedal Travel Sensor Signal B

L

--

--

Not Used

L

--

--

Not Used

M

0.5 TN

948

Yaw Rate and Lateral Acceleration Sensor Feed

M

0.5 TN

948

Yaw Rate and Lateral Acceleration Sensor Feed

N

0.5 TN

950

Yaw Rate and Lateral Acceleration Sensor Ground

N

0.5 TN/WH

950

Yaw Rate and Lateral Acceleration Sensor Ground

P-R

--

--

Not Used

P-R

--

--

Not Used

S

--

--

Not Used

S

3 BK

2150

Not Used

X140 Forward Lamp Harness to Left Headlamp Harness (Z75 with EXP)


Object Number: 1664576  Size: CH

Object Number: 872519  Size: CH

Connector Part Information

  • OEM: 15326635
  • Service: 88953154
  • Description: 6-Way F GT 280 Series (BK)

Connector Part Information

  • OEM: 15326640
  • Service: 88953150
  • Description: 6-Way M GT 280 Series (BK)

Terminal Part Information

  • Terminal/Tray: 15304719/19
  • Core/Insulation Crimp: Pins A, B, F: 2/5
  • Core/Insulation Crimp: Pins C-E: E/5
  • Release Tool/Test Probe: 15315247/J-35616-4A (PU)

Terminal Part Information

  • Terminal/Tray: 15304731/19
  • Core/Insulation Crimp: Pins A, B, F: 2/5
  • Core/Insulation Crimp: Pins C-E: E/5
  • Release Tool/Test Probe: 15315247/J-35616-5 (PU)

X140 Forward Lamp Harness to Left Headlamp Harness (Z75 with EXP)

Pin

Wire

Circuit

Function

Pin

Wire

Circuit

Function

A

0.8 YE

712

Left Headlamp Low Beam Control

A

1.5 YE

712

Left Headlamp Low Beam Control

B

1 BK

150

Ground

B

1 BK

150

Ground

C

0.5 D-GN/WH

711

Left Headlamp High Beam Control

C

0.8 D-GN/WH

711

Left Headlamp High Beam Control

D

0.5 D-BU

545

Daytime Running Lamp (DRL) Relay Control

D

0.8 D-BU

545

Daytime Running Lamp (DRL) Relay Control

E

0.5 BN

2509

Left Rear Park Lamps Control

E

0.8 BN

2509

Left Rear Park Lamps Control

F

1 BK

150

Ground

F

1 BK

150

Ground

X141 Forward Lamp Harness to Right Headlamp Harness (Z75 with EXP)


Object Number: 1664576  Size: CH

Object Number: 872519  Size: CH

Connector Part Information

  • OEM: 15326635
  • Service: 88953154
  • Description: 6-Way F GT 280 Series (BK)

Connector Part Information

  • OEM: 15326640
  • Service: 88953150
  • Description: 6-Way M GT 280 Series (BK)

Terminal Part Information

  • Terminal/Tray: 15304719/19
  • Core/Insulation Crimp: Pins A-B, F: 2/5
  • Core/Insulation Crimp: Pins C-E: E/5
  • Release Tool/Test Probe: 15315247/J-35616-4A (PU)

Terminal Part Information

  • Terminal: See Terminal Repair Kit
  • Core/Insulation Crimp: See Terminal Repair Kit
  • Release Tool/Test Probe: See Terminal Repair Kit

X141 Forward Lamp Harness to Right Headlamp Harness (Z75 with EXP)

Pin

Wire

Circuit

Function

Pin

Wire

Circuit

Function

A

0.8 TN/WH

312

Right Headlamp Low Beam Control

A

1.5 TN/WH

312

Right Headlamp Low Beam Control

B

1 BK

250

Ground

B

1 BK

250

Ground

C

0.5 L-GN/BK

311

Right Headlamp High Beam Control

C

0.8 D-GN/WH

311

Right Headlamp High Beam Control

D

0.5 D-BU

545

Daytime Running Lamp (DRL) Relay Control

D

0.8 L-BU

545

Daytime Running Lamp (DRL) Relay Control

E

0.5 BN

2609

Right Rear Park Lamps Control

E

0.8 BN

2609

Right Rear Park Lamps Control

F

1 BK

250

Ground

F

1 BK

250

Ground

X150 Engine Harness to I/P Harness (HP2)


Object Number: 1552588  Size: CH

Object Number: 586335  Size: CH

Connector Part Information

  • OEM: 15366099
  • Service: 19153767
  • Description: 24-Way F GT 150 280 Series, Sealed (BK)

Connector Part Information

  • OEM: 15336173
  • Service: 19167005
  • Description: 24-Way M GT 150 280 Series, Sealed (BK)

Terminal Part Information

  • Pins: A3, B6, B7, C2, C7, C8, C1, A1, A2, A5, B3, B8, C3, C6
  • Terminal/Tray: 12191819/8
  • Core/Insulation Crimp: Pins: A3, B6, B7, C2, C7, C8 : 2/A
  • Core/Insulation Crimp: Pins: C1, A1, A2, A6, B3, B8, C3, C6 : E/A
  • Release Tool/Test Probe: 15315247/J-35616-2A (GY)
  • Pins: A5, B4, B5, C4, C5
  • Terminal/Tray: 15304719/19
  • Core/Insulation Crimp: E/5
  • Release Tool/Test Probe: 15315247/J-35616-4A (PU)

Terminal Part Information

  • Pins: B7, C2, C6, C7, C8, C1, A1, A2, A3, A5, B3, B6, B8, C3
  • Terminal/Tray: 15326269/19
  • Core/Insulation Crimp: Pins: B7, C2, C6, C7, C8 : E/1
  • Core/Insulation Crimp: Pins: C1, A1, A2, A3, A6, B3, B6, B8, C3 : E/4
  • Release Tool/Test Probe: 15315247/J-35616-3 (GY)
  • Pins: A5, B4, B5, C4, C5
  • Terminal/Tray: 15304731/19
  • Core/Insulation Crimp: E/5
  • Release Tool/Test Probe: 15315247/J-35616-5 (PU)

X150 Engine Harness to I/P Harness (HP2)

Pin

Wire Color

Circuit No.

Function

Pin

Wire Color

Circuit No.

Function

A1

0.5 L-GN/BK

968

Audio Common

A1

0.5 L-GN/BK

968

Audio Common

A2

0.5 D-BU

932

APM Wake-Up Signal

A2

0.5 D-BU

932

APM Wake-Up Signal

A3

0.8 RD/WH

4240

Battery Positive Voltage

A3

0.5 RD/WH

4240

Battery Positive Voltage

A4

--

--

Not Used

A6

--

--

Not Used

A5

0.5 TN/BK

2500

High Speed GMLAN Serial Data (+)

A4

0.5 TN/BK

2500

High Speed GMLAN Serial Data (+)

A6

0.5 TN/BK

2501

High Speed GMLAN Serial Data (-)

A5

0.5 TN

2501

High Speed GMLAN Serial Data (-)

A7

0.5 D-BU

6105

High Speed GMLAN Serial Data (+)

A7

0.5 D-BU

6105

High Speed GMLAN Serial Data (+)

A8

0.5 L-BU

6106

High Speed GMLAN Serial Data (-)

A8

0.5 L-BU

6106

High Speed GMLAN Serial Data (-)

B1-B2

--

--

Not Used

B1-B2

--

--

Not Used

B3

0.5 GY

970

5-Volt Reference

B3

0.5 GY

970

5-Volt Reference

B4

0.5 D-BU

204

A/C Low Pressure Sensor Signal

B4

0.5 D-BU

204

A/C Low Pressure Sensor Signal

B5

0.5 TN

914

A/C Low Pressure Sensor Signal

B5

0.5 TN

914

A/C Low Pressure Sensor Signal

B6

0.8 PK

2014

Coolant Pump Relay Control

B6

0.5 PK

2014

Coolant Pump Relay Control

B7

0.8 BK/WH

1851

Ground

B7

0.8 BK/WH

1851

Ground

B8

0.5 L-BU

5986

Serial Data Communication Enable

B8

0.35 L-BU

5986

Serial Data Communication Enable

C1

0.5 OG

300

Ignition Voltage

C1

0.5 OG

300

Ignition Voltage

C2

1 RD/WH

4140

Battery Positive Voltage

C2

1 RD/WH

4140

Battery Positive Voltage

C3

0.5 D-GN

5060

Low Speed GMLAN Serial Data

C3

0.35 D-GN

5060

Low Speed GMLAN Serial Data

C4

0.5 PU

5087

High Voltage Interlock Loop Signal

C4

0.35 PU

5087

High Voltage Interlock Loop Signal

C5

0.5 YE

5690

High Voltage Interlock Loop Signal

C5

0.35 YE

5690

High Voltage Interlock Loop Signal

C6

0.35 YE

988

Contactor Control

C6

0.8 PK

988

Contactor Control

C7

0.8 RD/WH

4240

Battery Positive Voltage

C7

0.8 RD/WH

4240

Battery Positive Voltage

C8

0.8 RD/WH

4640

Battery Positive Voltage

C8

0.8 RD/WH

4640

Battery Positive Voltage

X175 Engine Harness to Transmission Internal Harness (M30)


Object Number: 516609  Size: CH

Object Number: 1922569  Size: CH

Connector Part Information

  • OEM: 12193583
  • Service: 12193583
  • Description: 20-Way F Micro-Pack 100W Series Sealed (GY)

Connector Part Information

  • OEM: 15443076
  • Service: See Catalog
  • Description: 20-Way M Micro-Pack 100W Series Sealed (BK)

Terminal Part Information

  • Terminal/Tray: 12084913/5
  • Core/Insulation Crimp: W/W
  • Release Tool/Test Probe: 12122523/J-35616-6 (BN)

Terminal Part Information

  • Terminal/Tray: 12160551/3
  • Core/Insulation Crimp: W/W
  • Release Tool/Test Probe: 12122523/J-35616-7 (BN)

X175 Engine Harness to Transmission Internal Harness (M30)

Pin

Wire Color

Circuit No.

Function

Pin

Wire Color

Circuit No.

Function

A

0.5 L-GN

1222

1-2 Shift Solenoid Valve Control

A

0.5 L-GN

1222

1-2 Shift Solenoid Valve Control

B

0.5 YE/BK

1223

2-3 Shift Solenoid Valve Control

B

0.5 YE

1223

2-3 Shift Solenoid Valve Control

C

0.5 OG/BK

1228

PC Solenoid Valve High Control (Sol. A)

C

0.5 PU

1228

PC Solenoid Valve High Control (Sol. A)

D

0.5 L-BU/WH

1229

PC Solenoid Valve Low Control (Sol. A)

D

0.5 L-BU

1229

PC Solenoid Valve Low Control (Sol. A)

E

0.5 PK/WH

2139

Ignition Voltage

E

0.5 RD

839

Ignition Voltage

F

0.35 TN/WH

771

Transmission Range Switch Signal A

F

0.35 TN/WH

771

Transmission Range Switch Signal A

G

0.35 YE

772

Transmission Range Switch Signal B

G

0.35 YE

772

Transmission Range Switch Signal B

H

0.35 GY

773

Transmission Range Switch Signal C

H

0.35 GY

773

Transmission Range Switch Signal C

J

0.35 WH

776

Transmission Range Switch Signal P

J

0.35 WH

776

Transmission Range Switch Signal P

K

0.35 OG

1983

AT ISS High Signal

K

0.5 BK

1230

AT ISS High Signal

L

0.5 YE/BK

1227

TFT Sensor Signal

L

0.5 BN

1227

TFT Sensor Signal

M

0.35 TN

2762

Low Reference

M

0.5 GY

452

Low Reference

N

0.5 BK/WH

451

Transmission Fluid Pressure Switch Signal A

N

0.5 PK

1224

Transmission Fluid Pressure Switch Signal A

P-S

--

--

Not Used

P-S

--

--

Not Used

T

0.5 TN/BK

422

TCC Solenoid Valve Control

T

0.5 TN/BK

422

TCC Solenoid Valve Control

U

0.5 BN

418

TCC PWM Solenoid Valve Control

U

0.5 TN

418

TCC PWM Solenoid Valve Control

V

0.35 L-BU

1984

Transmission Turbine Speed Switch Low Reference

V

0.5 D-GN

1231

Transmission Turbine Speed Switch Low Reference

W

0.35 OG/BK

1786

Park/Neutral Signal

W

0.35 OG/BK

1786

Park/Neutral Signal

X176 Engine Harness to Transmission Harness (M99)


Object Number: 1608549  Size: CH

Object Number: 1629123  Size: CH

Connector Part Information

  • OEM: 15483856
  • Service: 88988936
  • Description: 24-Way F 1.5 Series, Sealed (BK)

Connector Part Information

  • OEM: See Catalog
  • Service: See Catalog
  • Description:24-Way M Sealed (BK)

Terminal Part Information

  • Terminal/Tray: 33001-1004/23
  • Core/Insulation Crimp: E/C
  • Release Tool/Test Probe: 12094429/J-35616-14 (GN)

Terminal Part Information

  • Terminal/Tray: See Terminal Repair Kit
  • Core/Insulation Crimp: See Terminal Repair Kit
  • Release Tool/Test Probe: See Terminal Repair Kit

X176 Engine Harness to Transmission Harness (M99)

Pin

Wire

Circuit

Function

Pin

Wire

Circuit

Function

1

0.5 YE

904

Internal Mode Switch Direction Signal R1

1

--

904

Internal Mode Switch Direction Signal R1

2

0.5 GY

904

Internal Mode Switch Direction Signal R2

2

--

904

Internal Mode Switch Direction Signal R2

3

0.5 BN

904

Internal Mode Switch Direction Signal D1

3

--

904

Internal Mode Switch Direction Signal D1

4

0.5 L-GN

904

Internal Mode Switch Direction Signal D2

4

--

904

Internal Mode Switch Direction Signal D2

5

0.5 PU

904

Internal Mode Switch Signal - START

5

--

904

Internal Mode Switch Signal - START

6

0.5 OG/WH

812

Output Speed Sensor (OSS) Signal

6

--

904

Output Speed Sensor (OSS) Signal

7

0.5 PU/WH

821

Output Speed Sensor (OSS) Signal

7

--

904

Output Speed Sensor (OSS) Signal

8

0.5 L-GN

9018

Motor 1 Resolver Sensor Exciter Positive

8

--

9018

Motor 1 Resolver Sensor Exciter Positive

9

0.5 D-BU

9017

Motor 1 Resolver Sensor Excitor Negative

9

--

9017

Motor 1 Resolver Sensor Excitor Negative

10

0.5 YE

9075

Motor 1 Resolver Sensor 1

10

--

9075

Motor 1 Resolver Sensor 1

11

0.5 BN

9022

Motor 1 Resolver Sensor 3

11

--

9022

Motor 1 Resolver Sensor 3

12

0.5 PU

9019

Motor 1 Resolver Sensor 2

12

--

9019

Motor 1 Resolver Sensor 2

13

0.5 L-BU

9015

Motor 1 Temperature Sensor Signal

13

--

9015

Motor 1 Temperature Sensor Signal

14

0.5 GY

9020

Motor 1 Resolver Sensor 4

14

--

9020

Motor 1 Resolver Sensor 4

15

0.5 D-BU

9004

Motor 2 Resolver Sensor Exciter Positive

15

--

9004

Motor 2 Resolver Sensor Exciter Positive

16

0.5 GY

9005

Motor 2 Resolver Sensor Excitor Negative

16

--

9005

Motor 2 Resolver Sensor Excitor Negative

17

0.5 L-BU

9008

Motor 2 Resolver Sensor 1

17

--

9008

Motor 2 Resolver Sensor 1

18

0.5 GY

9009

Motor 2 Resolver Sensor 3

18

--

9009

Motor 2 Resolver Sensor 3

19

0.5 D-GN

9016

Motor 1 Temperature Sensor Return

19

--

9016

Motor 1 Temperature Sensor Return

20

0.5 D-GN

9006

Motor 2 Resolver Sensor 2

20

--

9006

Motor 2 Resolver Sensor 2

21

0.5 BN

9007

Motor 2 Resolver Sensor 4

21

--

9007

Motor 2 Resolver Sensor 4

22

0.5 L-GN

9015

Motor 2 Temperature Sensor Signal

22

--

9015

Motor 2 Temperature Sensor Signal

23

0.5 YE

9016

Motor 2 Temperature Sensor Return

23

--

9016

Motor 2 Temperature Sensor Return

24

--

--

Not Used

24

--

--

Not Used

X200 Instrument Panel Harness to Body Harness


Object Number: 1715215  Size: CH

Object Number: 684931  Size: CH

Connector Part Information

  • OEM: 15479525
  • Service: 19149302
  • Description: 4-Way F Metri-Pack 280 Series (YE)

Connector Part Information

  • OEM: 15336476
  • Service: 15306363
  • Description: 4-Way M Metri-Pack 280 Series (YE)

Terminal Part Information

  • Terminal/Tray: 15484100/24
  • Core/Insulation Crimp: E/C
  • Release Tool/Test Probe: 12094430/J-35616-4A (PU)

Terminal Part Information

  • Terminal: 12034047/2
  • Core/Insulation Crimp: E/A
  • Release Tool/Test Probe: 12094430/J-35616-5 (PU)

X200 Instrument Panel Harness to Body Harness

Pin

Wire

Circuit

Function

Pin

Wire

Circuit

Function

A1

0.5 YE

3025

I/P Module - Stage 1 - High Control

A1

0.5 YE

3025

I/P Module - Stage 1 - High Control

A2

0.5 OG

3024

I/P Module - Stage 1 - Low Control

A2

0.5 OG

3024

I/P Module - Stage 1 - Low Control

B1

0.5 GY

3027

I/P Module - Stage 2 - High Control

B1

0.5 GY

3027

I/P Module - Stage 2 - High Control

B2

0.5 PU

3026

I/P Module - Stage 2 - Low Control

B2

0.5 PU

3026

I/P Module - Stage 2 - Low Control

X201 Steering Column Harness to Instrument Panel Harness


Object Number: 655774  Size: CH

Object Number: 655773  Size: CH

Connector Part Information

  • OEM: 15317325
  • Service: 15317325
  • Description: 22-Way F GT 150 280 Series (L-GY)

Connector Part Information

  • OEM: 15317322
  • Service: 15317322
  • Description: 22-Way M GT 150 280 Series (L-GY)

Terminal Part Information

  • Terminal: See Terminal Repair Kit
  • Core/Insulation Crimp: See Terminal Repair Kit
  • Release Tool/Test Probe: See Terminal Repair Kit

Terminal Part Information

  • Pins: A4-A8, B6, B8
  • Terminal/Tray: 15304722/8
  • Core/Insulation Crimp: E/C
  • Release Tool/Test Probe: 15315247/J-35616-5 (PU)
  • Pins: A1-A3, A9-A11, B1-B3, B9, B10
  • Terminal/Tray: 15304702/19
  • Core/Insulation Crimp: E/C
  • Release Tool/Test Probe: 15315247/J-35616-3 (GY)
  • Pins: B7
  • Terminal/Tray: 15304724/8
  • Core/Insulation Crimp: See Terminal Repair Kit
  • Release Tool/Test Probe: 15315247/J-35616-5 (PU)

X201 Steering Column Harness to Instrument Panel Harness

Pin

Wire

Circuit

Function

Pin

Wire

Circuit

Function

A1

0.35 RD/WH

540

Battery Positive Voltage

A1

0.35 RD/WH

540

Battery Positive Voltage

A2

0.35 BN

6136

Control

A2

0.35 BN

6136

Control

A3

0.35 YE

6046

Steering Angle Sensor Phase A

A3

0.35 YE

6046

Steering Angle Sensor Phase A

A4

0.35 WH

2283

Rear Wiper/Washer Switch Control

A4

0.35 WH

2283

Rear Wiper/Washer Switch Control (C25)

0.35 WH

2283

Rear Wiper/Washer Switch Control (CE1 or C25, without NQH)

A5

0.35 BK/WH

1851

Ground

A5

0.5 BK/WH

1851

Ground

A6

0.35 GY

6044

5-Volt Reference

A6

0.35 GY

6044

5-Volt Reference

A7

0.35 L-GN

6043

Steering Angle Sensor Signal

A7

0.35 L-GN

6043

Steering Angle Sensor Signal

A8

0.35 PK

94

Windshield Washer Switch Signal

A8

0.35 PK

94

Windshield Washer Switch Signal (XA7)

A9

0.35 L-GN

2270

Rear Window Washer Relay Control

A9

0.35 L-GN

2270

Rear Window Washer Relay Control (C25)

A10

--

--

Not Used

A10

--

--

Not Used

A11

0.35 OG/BK

6045

Low Reference

A11

0.35 OG/BK

6045

Low Reference

B1

0.35 TN

6048

Steering Angle Sensor Phase C

B1

0.35 TN

6048

Steering Angle Sensor Phase C

B2

0.35 D-BU

6047

Steering Angle Sensor Phase B

B2

0.35 D-BU

6047

Steering Angle Sensor Phase B

B3

0.35 D-GN

5060

Low Speed GMLAN Serial Data

B3

0.35 D-GN

5060

Low Speed GMLAN Serial Data

B4

--

--

Not Used

B4

--

--

Not Used

B5

0.35 PK

3

Ignition Voltage

B5

--

--

Not Used

B6

0.35 BK

1050

Ground

B6

0.5 BK

1050

Ground

B7

0.35 TN

28

Horn Relay Control

B7

0.35 TN

28

Horn Relay Control

0.35 TN

28

Horn Relay Control

B8

0.35 BN

141

Ignition Voltage (KA9)

B8

0.35 BN

141

Ignition Voltage (KA9)

B9

0.35 GY

391

Rear Window Wiper Switch Signal (C25)

B9

0.35 GY

391

Rear Window Wiper Switch Signal (C25)

B10

0.35 D-GN/WH

7158

Cruise Control Indicator Dimming Signal

B10

0.35 D-GN/WH

7158

Cruise Control Indicator Dimming Signal

B11

--

--

Not Used

B11

--

--

Not Used

X202 Instrument Panel Harness to Body Harness


Object Number: 655774  Size: CH

Object Number: 655773  Size: CH

Connector Part Information

  • OEM: 15317325
  • Service: 15317325
  • Description: 22-Way F GT 150 280 Series (L-GY)

Connector Part Information

  • OEM: 15317322
  • Service: 15317322
  • Description: 22-Way M GT 150 280 Series (L-GY)

Terminal Part Information

  • Pins: A1-A3, A9, A10, B1-B3, B9
  • Terminal/Tray: 12191812/19
  • Core/Insulation Crimp: Pins A1,A5, A9, A10, B1-B3, B9: E/C
  • Core/Insulation Crimp: Pin A2: C/A
  • Release Tool/Test Probe: 15315247/J-35616-2A (GY)
  • Pins: A4, B7
  • Terminal/Tray: 15304713/19
  • Core/Insulation Crimp: F/D
  • Release Tool/Test Probe: 15315247/J-35616-4A (PU)
  • Pins: A3, A7, A8, B4-B6, B8
  • Terminal/Tray: 15304711/8
  • Core/Insulation Crimp: E/A
  • Release Tool/Test Probe: 15315247/J-35616-4A (PU)

Terminal Part Information

  • Pins: A1-A3, A9, A10, B1, B2, B3, B9-B11
  • Terminal/Tray: 15304702/19
  • Core/Insulation Crimp: Pins: A1, B3 : E/C
  • Core/Insulation Crimp: Pins: A5, B2, B10, B11, A9, A10 : E/4
  • Release Tool/Test Probe: 15315247/J-35616-3 (GY)
  • Pins: A4, B7
  • Terminal/Tray: 15304724/8
  • Core/Insulation Crimp: A/D
  • Release Tool/Test Probe: 15315247/J-35616-5 (PU)
  • Pins: A3, A7, A8, B4-B6, B8
  • Terminal/Tray: 15304722/8
  • Core/Insulation Crimp: E/C
  • Release Tool/Test Probe: 15315247/J-35616-5 (PU)

X202 Instrument Panel Harness to Body Harness

Pin

Wire

Circuit

Function

Pin

Wire

Circuit

Function

A1

0.35 BN

5852

Rear Park Assist LED Disable Signal

A1

0.35 BN

5852

Rear Park Assist LED Disable Signal

A2

1 L-BU

20

Stop Lamp Control

A2

1 L-BU

20

Stop Lamp Control

A3

0.35 GY

391

Rear Window Wiper Switch Signal (C25)

A3

0.35 GY

391

Rear Window Wiper Switch Signal (C25)

A4

3 RD/BK

1242

Battery Positive Voltage (E61)

A4

3 RD/BK

1242

Battery Positive Voltage (E61)

A5

0.35 RD/WH

840

Battery Positive Voltage (UFT)

A5

0.5 RD/WH

840

Battery Positive Voltage (UFT)

A6

--

--

Not Used

A6

--

--

Not Used

A7

0.35 PK

2145

Air Temperature Switch Signal - Right (C69)

A7

0.35 PK

2145

Air Temperature Switch Signal - Right (C69)

A8

0.35 D-GN

2211

Auxiliary Blower Motor Speed Control (C69)

A8

0.35 D-GN

2211

Auxiliary Blower Motor Speed Control (C69)

A9

0.5 GY

5600

Low Reference

A9

0.5 GY

5600

Low Reference

A10

0.5 D-GN

1409

Discriminating Sensor - Right - Signal

A10

0.5 D-GN

1409

Discriminating Sensor - Right - Signal

A11

--

--

Not Used

A11

--

--

Not Used

B1

--

--

Not Used

B1

--

--

Not Used

B2

0.35 L-BU

1134

Park Brake Switch Signal

B2

0.5 L-BU

1134

Park Brake Switch Signal

B3

0.35 GY

2555

Rear Park Assist Disable Signal (UD7)

B3

0.35 GY

2555

Rear Park Assist Disable Signal (UD7)

B4

0.5 BN

2509

Left Rear Park Lamps Control (E52)

B4

0.5 BN

2509

Left Rear Park Lamps Control (E52)

B5

0.35 D-GN

5060

Low Speed GMLAN Serial Data

B5

0.35 D-GN

5060

Low Speed GMLAN Serial Data

B6

0.5 D-GN

2087

5-Volt Reference (except HP2)

B6

0.5 D-GN

2087

5-Volt Reference (except HP2)

(HP@

B7

3 PU

293

Rear Defog Element Control

B7

3 PU

293

Rear Defog Element Control

B8

0.5 TN/WH

6433

CAN Bus High Serial Data (except HP2)

B8

0.5 TN/WH

6433

CAN Bus High Serial Data (except HP2)

B9

0.5 L-GN/BK

6432

CAN Bus Low Serial Data (except HP2)

B9

0.5 L-GN/BK

6432

CAN Bus Low Serial Data (except HP2)

B10

0.5 TN/BK

2500

High Speed GMLAN Serial Data Bus + (HP2)

B10

0.5 TN/BK

2500

High Speed GMLAN Serial Data Bus + (HP2)

B11

0.5 TN

2501

High Speed GMLAN Serial Data Bus - (HP2)

B11

0.5 TN

2501

High Speed GMLAN Serial Data Bus - (HP2)

X203 Instrument Panel Harness (Y91) or Instrument Panel Extension Harness (except Y91) to Headliner Harness (UE1)


Object Number: 62439  Size: CH

Object Number: 62434  Size: CH

Connector Part Information

  • OEM: 12047886
  • Service: 12101822
  • Description: 8-Way F Metri-Pack 150 Series (BK)

Connector Part Information

  • OEM: 12045688
  • Service: 12101827
  • Description: 8-Way M Metri-Pack 150 Series (BK)

Terminal Part Information

  • Terminal/Tray: 12064971/5
  • Core/Insulation Crimp: E/C
  • Release Tool/Test Probe: 12094429/J-35616-14 (GN)

Terminal Part Information

  • Terminal: 12047581/2
  • Core/Insulation Crimp: E/C
  • Release Tool/Test Probe: 12094429/J-35616-3 (GY)

X203 Instrument Panel Harness (Y91) or Instrument Panel Extension Harness (except Y91) to Headliner Harness (UE1)

Pin

Wire

Circuit

Function

Pin

Wire

Circuit

Function

A

0.35 YE/BK

2516

Keypad Green LED Signal

A

0.35 YE/BK

2516

Keypad Green LED Signal

B

0.35 BN/WH

2517

Keypad Red LED Signal

B

0.35 BN/WH

2517

Keypad Red LED Signal

C

0.35 L-GN/BK

2515

Keypad Control

C

0.35 L-GN/BK

2515

Keypad Control

D

0.35 D-GN/WH

2514

Keypad Signal

D

0.35 D-GN/WH

2514

Keypad Signal

E

--

--

Not Used

E

--

--

Not Used

F

0.35 GY

655

Cellular Microphone Signal

F

0.35 GY

655

Cellular Microphone Signal

G

0.35 BARE

514

Ground (Y91)

G

0.35 BARE

514

Ground

0.5 BARE

514

Ground (except Y91)

H

--

--

Not Used

H

--

--

Not Used

X204 Headliner Harness (U42) to Instrument Panel Harness (Y91) or Instrument Panel Extension Harness (except Y91)


Object Number: 1711007  Size: CH

Object Number: 847286  Size: CH

Connector Part Information

  • OEM: 15332160
  • Service: 19149307
  • Description: 12-Way F GT 150 Series (BK)

Connector Part Information

  • OEM: 15332166
  • Service: 88953332
  • Description: 12-Way M GT 150 Series (BK)

Terminal Part Information

  • Terminal: 12191812/19
  • Core/Insulation Crimp: E/C
  • Release Tool/Test Probe: 15315247/J-35616-2A (GY)

Terminal Part Information

  • Terminal: 15304702/19
  • Core/Insulation Crimp: E/C
  • Release Tool/Test Probe: 15315247/J-35616-3 (GY)

X204 Headliner Harness (U42) to Instrument Panel Harness (Y91) or Instrument Panel Extension Harness (except Y91)

Pin

Wire

Circuit

Function

Pin

Wire

Circuit

Function

A

0.35 PU/WH

5330

Right Infrared Audio Signal

C

0.35 PU/WH

5330

Right Infrared Audio Signal

B

0.35 OG/BK

5329

Left Infrared Audio Signal

B

0.35 OG/BK

5329

Left Infrared Audio Signal

C

0.35 L-BU

5826

Left DVD Audio Signal (+)

F

0.35 L-BU

5826

Left DVD Audio Signal (+)

D

0.35 WH

5828

Right DVD Audio Signal (+)

G

0.35 WH

5828

Right DVD Audio Signal (+)

E

0.35 OG/BK

5831

Remote Infra Red Signal (+)

K

0.35 OG/BK

5831

Remote Infra Red Signal (+)

F

0.35 PK

5829

Infra Red Module Control

A

0.35 PK

5829

Infra Red Module Control

G

0.35 BN/WH

5331

Low Reference

D

0.35 BN/WH

5331

Low Reference

H

0.35 BARE

5332

Infra Red Audio Drain Wire

E

0.35 BARE

5332

Infra Red Audio Drain Wire

J

0.35 BARE

6980

DVD Audio Shield

J

0.35 BARE

6980

DVD Audio Shield

K

0.35 PU

6979

DVD Audio Common

H

0.35 PU

6979

DVD Audio Common

L

0.35 TN/WH

5830

Remote Infra Red Signal (-)

L

0.35 TN/WH

5830

Remote Infra Red Signal (-)

M

0.5 BK

2550

Ground

M

0.5 BK

2550

Ground

X205 Brake/Clutch Harness to Instrument Panel Harness


Object Number: 813079  Size: CH

Object Number: 813080  Size: CH

Connector Part Information

  • OEM: 15336205
  • Service: 88986267
  • Description: 12-Way F GT 150 280 Series (BK)

Connector Part Information

  • OEM: 15336209
  • Service: 88986259
  • Description: 12-Way M GT 150 280 Series (BK)

Terminal Part Information

  • Pins: A, F-G, M
  • Terminal/Tray: 15304711/8
  • Core/Insulation Crimp: E/A
  • Release Tool/Test Probe: 15315247/J-35616-4A (PU)
  • Pins: B-E, H-L
  • Terminal/Tray: 12191812/19
  • Core/Insulation Crimp: E/C
  • Release Tool/Test Probe: 15315247/J-35616-2A (GY)

Terminal Part Information

  • Pins: A, F, M
  • Terminal/Tray: 15304722/8
  • Core/Insulation Crimp: E/C
  • Release Tool/Test Probe: 15315247/J-35616-5 (PU)
  • Pins: B-E, H-L
  • Terminal/Tray: 15304702/19
  • Core/Insulation Crimp: E/C
  • Release Tool/Test Probe: 15315247/J-35616-3 (GY)

X205 Brake/Clutch Harness to Instrument Panel Harness

Pin

Wire

Circuit

Function

Pin

Wire

Circuit

Function

A

0.35 L-BU/WH

6311

Brake Signal

A

0.35 L-BU/WH

6311

Brake Signal

0.35 L-BU/WH

6311

Brake Signal (JL1)

B

0.35 L-BU

1162

Accelerator Pedal Position (APP) Sensor 2 Signal

B

0.35 L-BU

1162

Accelerator Pedal Position (APP) Sensor 2 Signal

C

0.35 TN

1274

5-Volt Reference

C

0.35 TN

1274

5-Volt Reference

D

0.35 D-BU

1161

Accelerato Pecal Position (APP) Sensor 1 Signal

D

0.35 D-BU

1161

Accelerato Pecal Position (APP) Sensor 1 Signal

E

0.35 PU

1272

Low Reference

E

0.35 PU

1272

Low Reference

F

0.35 OG/WH

812

12-Volt Reference

F

0.35 OG/WH

812

12-Volt Reference

0.35 OG/WH

812

12-Volt Reference (HP2)

G

0.35 PK

239

Ignition Voltage

G

0.35 PK

239

Ignition Voltage

0.35 PK

239

Ignition Voltage (JL1)

H

0.35 YE

6817

Ignition Voltage (JL1)

H

0.35 YE

6817

Ignition Voltage

J

0.5 YE/BK

5813

Park Enable (5W4 or PPV)

J

0.5 YE/BK

5813

Park Enable (5W4 or PPV)

K

0.35 PU

7062

Brake Pedal Switch Normally Closed Contact Signal

K

0.35 PU

7062

Brake Pedal Switch Normally Closed Contact Signal

L

0.35 WH/BK

1164

5-Volt Reference

L

0.35 WH/BK

1164

5-Volt Reference

M

0.35 BN

1271

Low Reference

M

0.35 BN

1271

Low Reference

X206 Right A-Pillar Harness to Instrument Panel Harness (Z75 with DNU)


Object Number: 813079  Size: CH

Object Number: 813080  Size: CH

Connector Part Information

  • OEM: 15336205
  • Service: 88986267
  • Description: 12-Way F GT 150 280 Series (BK)

Connector Part Information

  • OEM: 15336209
  • Service: 88986259
  • Description: 12-Way M GT 150 280 Series (BK)

Terminal Part Information

  • Pins: A, F, G, M
  • Terminal/Tray: 15304711/8
  • Core/Insulation Crimp: E/A
  • Release Tool/Test Probe: 15315247/J-35616-4A (PU)
  • Pins: B-E, H-L
  • Terminal/Tray: 12191812/19
  • Core/Insulation Crimp: E/C
  • Release Tool/Test Probe: 15315247/J-35616-2A (GY)

Terminal Part Information

  • Pins: A, F, G, M
  • Terminal/Tray: 15304722/8
  • Core/Insulation Crimp: E/C
  • Release Tool/Test Probe: 15315247/J-35616-5 (PU)
  • Pins: B-E, H-L
  • Terminal/Tray: 15304702/19
  • Core/Insulation Crimp: E/C
  • Release Tool/Test Probe: 15315247/J-35616-3 (GY)

X206 Right A-Pillar Harness to Instrument Panel Harness (Z75 with DNU)

Pin

Wire

Circuit

Function

Pin

Wire

Circuit

Function

A

0.35 PK/BK

5844

Video Bright Control

A

0.35 PK/BK

5844

Video Bright Control

B

0.35 WH/BK

5335

DVD Video Signal (-)

B

0.35 WH/BK

5335

DVD Video Signal (-)

C

0.35 BARE

6976

DVD Video Drain Wire

C

0.35 BARE

6976

DVD Video Drain Wire

D

0.35 D-GN

6975

DVD Video Signal (+)

D

0.35 D-GN

6975

DVD Video Signal (+)

E

0.35 L-GN/BK

5845

Video Module Signal

E

0.35 L-GN/BK

5845

Video Module Signal

F

--

--

Not Used

F

--

--

Not Used

G

0.35 BARE

2099

Drain Wire

G

0.35 BARE

2099

Drain Wire

H

0.35 L-GN

7396

DVD Video Signal 2 (+)

H

0.35 L-GN

7396

DVD Video Signal 2 (+)

J

0.35 WH

7394

DVD Video Signal 2 (-)

J

0.35 WH

7394

DVD Video Signal 2 (-)

K

0.35 D-GN/WH

7395

Video Mode 2 Signal

K

0.35 D-GN/WH

7395

Video Mode 2 Signal

L

--

--

Not Used

L

--

--

Not Used

M

0.35 WH

7066

Entertainment Remote Enable Signal

M

0.35 WH

7066

Entertainment Remote Enable Signal

X206 Right A-Pillar Harness (without DNU) to Instrument Panel Harness (Y91) or Instrument Panel Extension Harness (except Y91) (except Z75 with DNU)


Object Number: 646374  Size: CH

Object Number: 1710973  Size: CH

Connector Part Information

  • OEM: 15332145
  • Service: 15306407
  • Description: 8-Way F GT 150 Series (BK)

Connector Part Information

  • OEM: 15332149
  • Service: 19149300
  • Description: 8-Way M GT 150 Series (BK)

Terminal Part Information

  • Terminal: 12191812/19
  • Core/Insulation Crimp: E/C
  • Release Tool/Test Probe: 15315247/J-35616-2A (GY)

Terminal Part Information

  • Terminal: 15304702/19
  • Core/Insulation Crimp: Pins A, B, D, E, H: E/C
  • Core/Insulation Crimp: Pins C, F, G: E/4
  • Release Tool/Test Probe: 15315247/J-35616-3 (GY)

X206 Right A-Pillar Harness (without DNU) to Instrument Panel Harness (Y91) or Instrument Panel Extension Harness (except Y91) (except Z75 with DNU)

Pin

Wire

Circuit

Function

Pin

Wire

Circuit

Function

A

0.35 PK/BK

5844

Video Bright Control

A

0.35 PK/BK

5844

Video Bright Control

B

0.35 WH/BK

5335

DVD Video Signal (-)

B

0.35 WH/BK

5335

DVD Video Signal (-)

C

0.35 BARE

6976

DVD Video Drain Wire

C

0.35 BARE

6976

DVD Video Drain Wire (Y91)

0.5 BARE

6976

DVD Video Drain Wire (except Y91)

D

0.35 D-GN

6975

DVD Video Signal (+)

D

0.35 D-GN

6975

DVD Video Signal (+)

E

0.35 L-GN/BK

5845

Video Module Signal

E

0.35 L-GN/BK

5845

Video Module Signal

F-G

--

--

Not Used

F-G

--

--

Not Used

H

0.35 WH

7066

Entertainment Remote Enable Signal

H

0.35 WH

7066

Entertainment Remote Enable Signal

X207 Instrument Panel Harness to Body Harness


Object Number: 655774  Size: CH

Object Number: 655773  Size: CH

Connector Part Information

  • OEM: 15317325
  • Service: 15317325
  • Description: 22-Way F GT 150 280 Series (L-GY)

Connector Part Information

  • OEM: 15317322
  • Service: 15317322
  • Description: 22-Way M GT 150 280 Series (L-GY)

Terminal Part Information

  • Pins: A1-A3, A9-A11, B1-B3, B9-B11
  • Terminal/Tray: 12191812/19
  • Core/Insulation Crimp: Pins: A1-A3, A9-A11, B1-B3, B9-B10: E/C
  • Core/Insulation Crimp: Pin B11: C/A
  • Release Tool/Test Probe: 15315247/J-35616-2A (GY)
  • Pins: A4-A8, B4-B8
  • Terminal/Tray: 15304711/8
  • Core/Insulation Crimp: E/A
  • Release Tool/Test Probe: 15315247/J-35616-4A (PU)

Terminal Part Information

  • Pins: A1-A3, A9-A11, B1-B3, B9-B11
  • Terminal/Tray: 15304702/19
  • Core/Insulation Crimp: Pins: A1, A9-A11, B1-B3, B9-B10: E/C
  • Core/Insulation Crimp: Pins: A2, A3 : E/4
  • Core/Insulation Crimp: Pin B11: 2/4
  • Release Tool/Test Probe: 15315247/J-35616-3 (GY)
  • Pins: A4-A8, B6
  • Terminal/Tray: 15304722/8
  • Core/Insulation Crimp: E/C
  • Release Tool/Test Probe: 15315247/J-35616-5 (PU)
  • Pins: B4, B5, B7, B8
  • Terminal/Tray: 15304724/8
  • Core/Insulation Crimp: 2/A
  • Release Tool/Test Probe: 15315247/J-35616-5 (PU)

X207 Instrument Panel Harness to Body Harness

Pin

Wire

Circuit

Function

Pin

Wire

Circuit

Function

A1

0.35 GY

597

5-Volt Reference (CJ3 with C69)

A1

0.35 GY

597

5-Volt Reference (CJ3 with C69)

A2

0.5 YE

354

Discriminating Sensor - Signal

A2

0.5 YE

354

Discriminating Sensor - Signal

A3

0.5 TN/OG

5045

Low Reference

A3

0.5 TN/OG

5045

Low Reference

A4

0.35 YE

2214

Auxiliary Air Temperature Door Control (CJ3 with C69)

A4

0.35 YE

2214

Auxiliary Air Temperature Door Control (CJ3 with C69)

A5

0.35 OG

2615

Auxiliary Mode Door Control (CJ3 with C69)

A5

0.35 OG

2615

Auxiliary Mode Door Control (CJ3 with C69)

A6

0.35 BN

5516

Inside Air Temperature Sensor Assembly Control (C69)

A6

0.35 BN

5516

Inside Air Temperature Sensor Assembly Control (C69)

A7

0.35 BN

404

Upper Air Temperature Sensor Signal (C69)

A7

0.35 BN

404

Upper Air Temperature Sensor Signal (C69)

A8

0.35 D-GN

5518

Auxiliary Inside Air Temperature Sensor Signal (C69)

A8

0.35 D-GN

5518

Auxiliary Inside Air Temperature Sensor Signal (C69)

A9

0.35 PU/WH

760

Auxiliary Blower Motor Speed Control (CJ3 with C69)

A9

0.35 PU/WH

760

Auxiliary Blower Motor Speed Control (CJ3 with C69)

A10

0.35 GY

596

5-Volt Reference (C69)

A10

0.35 GY

596

5-Volt Reference (C69)

A11

0.35 GY/BK

1798

Ground (C69)

A11

0.35 GY/BK

1798

Ground (C69)

B1

0.35 GY

2599

Auxiliary Mode Door Control (C69)

B1

0.35 GY

2599

Auxiliary Mode Door Control (C69)

B2

0.35 OG

2215

Auxiliary Mode Door Control (C69)

B2

0.35 OG

2215

Auxiliary Mode Door Control (C69)

B3

0.35 GY

2614

Auxiliary Air Temperature Door Control (C69)

B3

0.35 GY

2614

Auxiliary Air Temperature Door Control (C69)

B4

0.5 YE

116

Left Rear Speaker Output (-) (with UQ3 or with UQA)

B4

0.8 YE

116

Left Rear Speaker Output (-) (with UQ3 or with UQA)

0.8 YE

116

Left Rear Speaker Output (-) (with UQ3 or with UQA)

B5

0.5 BN

199

Left Rear Speaker Output (+) (with UQ3 or with UQA)

B5

0.8 BN

199

Left Rear Speaker Output (+) (with UQ3 or with UQA)

0.8 BN

199

Left Rear Speaker Output (+) (with UQ3 or with UQA)

B6

0.35 L-GN

405

Lower Air Temperature Sensor Signal (C69)

B6

0.35 L-GN

405

Lower Air Temperature Sensor Signal (C69)

B7

0.5 L-BU

115

Right Rear Speaker Output (-) (with UQ3 or with UQA)

B7

0.8 L-BU

115

Right Rear Speaker Output (-) (with UQ3 or with UQA)

0.8 L-BU

115

Right Rear Speaker Output (-) (with UQ3 or with UQA)

B8

0.5 D-BU

46

Right Rear Speaker Output (+) (with UQ3 or with UQA)

B8

0.8 D-BU

46

Right Rear Speaker Output (+) (with UQ3 or with UQA)

0.8 D-BU

46

Right Rear Speaker Output (+) (with UQ3 or with UQA)

B9

0.35 YE

5704

Endgate Latch Relay Coil Control (E52 without E61)

B9

0.35 YE

5704

Endgate Latch Relay Coil Control (E52 without E61)

B10

0.35 D-GN

5706

Endgate Latch Relay Control (E52 without E61)

B10

0.35 D-GN

5706

Endgate Latch Relay Control (E52 without E61)

B11

1 L-BU

6128

Rear Closure Unlatch Motor Unlatch Control (E52 without E61)

B11

1 L-BU

6128

Rear Closure Unlatch Motor Unlatch Control (E52 without E61)

X208 Diversity Antenna Harness to Instrument Panel Harness (U84)


Object Number: 82383  Size: CH

Object Number: 1715227  Size: CH

Connector Part Information

  • OEM: 12047662
  • Service: 12085535
  • Description: 2-Way F Metri-Pack 150 Series (BK)

Connector Part Information

  • OEM: 12089868
  • Service: 12085481
  • Description: 2-Way M Metri-Pack 150 Series (BK)

Terminal Part Information

  • Terminal: See Terminal Repair Kit
  • Core/Insulation Crimp: See Terminal Repair Kit
  • Release Tool/Test Probe: See Terminal Repair Kit

Terminal Part Information

  • Terminal: 12047581/2
  • Core/Insulation Crimp: E/C
  • Release Tool/Test Probe: 12094429/J-35616-3 (GY)

X208 Diversity Antenna Harness to Instrument Panel Harness (U84)

Pin

Wire

Circuit

Function

Pin

Wire

Circuit

Function

A

--

--

Not Used

A

--

--

Not Used

B

0.35 D-GN

7066

Entertainment Remote Enable Signal

B

0.35 WH

7066

Entertainment Remote Enable Signal

X209 Body Harness to Instrument Panel Harness (Y91) or Instrument Panel Extension Harness (except Y91) (UVC)


Object Number: 646420  Size: CH

Object Number: 744044  Size: CH

Connector Part Information

  • OEM: 15332135
  • Service: 15306414
  • Description: 4-Way F GT 150 Series (BK)

Connector Part Information

  • OEM: 15332136
  • Service: 88953354
  • Description: 4-Way M GT 150 Series (BK)

Terminal Part Information

  • Terminal: 12191812/19
  • Core/Insulation Crimp: E/C
  • Release Tool/Test Probe: 15315247/J-35616-2A (GY)

Terminal Part Information

  • Terminal: 15304702/19
  • Core/Insulation Crimp: Pins: A, B : E/C
  • Core/Insulation Crimp: Pins: C : E/4
  • Release Tool/Test Probe: 15315247/J-35616-3 (GY)

X209 Body Harness to Instrument Panel Harness (Y91) or Instrument Panel Extension Harness (except Y91) (UVC)

Pin

Wire

Circuit

Function

Pin

Wire

Circuit

Function

A

0.35 D-BU

7642

Camera Signal (-)

A

0.35 D-BU

7642

Camera Signal (-) (Y91)

0.35 L-BU

6973

Camera Signal (-) (without Y91)

B

0.35 WH

7641

Camera Signal (+)

B

0.35 WH

7641

Camera Signal (+) (Y91)

0.35 PK

6972

Camera Signal (+) (without Y91)

C

0.35 BARE

6799

Camera Drain Wire

C

0.35 BARE

6799

Camera Drain Wire (Y91)

0.5 BARE

6974

Camera Drain Wire (without Y91)

D

--

--

Not Used

D

--

--

Not Used

X210 Console Harness to Instrument Panel Harness (UQS)


Object Number: 646384  Size: CH

Object Number: 646388  Size: CH

Connector Part Information

  • OEM: 15332153
  • Service: 88986440
  • Description: 10-Way F GT 150 Series (BK)

Connector Part Information

  • OEM: 15332158
  • Service: 88953270
  • Description: 10-Way M GT 150 Series (BK)

Terminal Part Information

  • Terminal: 12191812/19
  • Core/Insulation Crimp: E/C
  • Release Tool/Test Probe: 15315247/J-35616-2A (GY)

Terminal Part Information

  • Terminal: 15304702/19
  • Core/Insulation Crimp: E/C
  • Release Tool/Test Probe: 15315247/J-35616-3 (GY)

X210 Console Harness to Instrument Panel Harness (UQS)

Pin

Wire

Circuit

Function

Pin

Wire

Circuit

Function

A

--

--

Not Used

A

--

--

Not Used

B

0.35 YE

6817

LED Backlight Dimming Control (ULT)

B

0.35 YE

6817

LED Backlight Dimming Control (ULT)

C

0.35 BARE

6759

Discrete Audio Drain Wire

C

0.35 BARE

6759

Discrete Audio Drain Wire

D

0.35 OG

6761

Center Channel Low Level Audio Signal (-)

D

0.35 OG

6761

Center Channel Low Level Audio Signal (-)

E

0.35 PK

6762

Subwoofer Low Level Audio (-)

E

0.35 PK

6762

Subwoofer Low Level Audio (-)

F

0.8 RD/WH

2640

Battery Positive Voltage (ULT)

F

0.8 RD/WH

2640

Battery Positive Voltage (ULT)

G

0.35 PU/WH

6816

Indicator Dimming Control (ULT)

G

0.35 PU/WH

6816

Indicator Dimming Control (ULT)

H

0.35 OG

300

Ignition Voltage (ULT)

H

0.35 OG

300

Ignition Voltage (ULT)

J

0.35 D-BU

6760

Center Channel Low Level Audio Signal

J

0.35 D-BU

6760

Center Channel Low Level Audio Signal

K

0.35 WH

6763

Subwoofer Low Level Audio Signal

K

0.35 WH

6763

Subwoofer Low Level Audio Signal

X211 Instrument Panel Harness (Y91) or Instrument Panel Extension Harness (except Y91) to Console Harness (D07)


Object Number: 1538788  Size: CH

Object Number: 1715230  Size: CH

Connector Part Information

  • OEM: 15448129
  • Service: 89046969
  • Description: 40-Way F GT 150 280 Series (BK)

Connector Part Information

  • OEM: 15475869
  • Service: 88988307
  • Description: 40-Way M GT 150 280 Series (BK)

Terminal Part Information

  • Pins: A1-A2, A7-A8, B1-12, C1-C12, D1-D2, D7-D8
  • Terminal/Tray: 12191812/19
  • Core/Insulation Crimp: Pins A1, A7, A8, B1-B8, C5-C12, D1, D2, D7, D8: E/C
  • Core/Insulation Crimp: Pins A2, B9-B12, C1-C4: C/A
  • Release Tool/Test Probe: 15315247/J-35616-2A (GY)
  • Pins: D4, D5
  • Terminal/Tray: 15304713/19
  • Core/Insulation Crimp: 4/4
  • Release Tool/Test Probe: 15315247/J-35616-4A (PU)
  • Pins: A3-A6, D3, D6
  • Terminal/Tray: 15304711/8
  • Core/Insulation Crimp: Pins A3-A5: 2/A
  • Core/Insulation Crimp: Pins A6, D3, D6: E/A
  • Release Tool/Test Probe: 15315247/J-35616-4A (PU)

Terminal Part Information

  • Pins: A1-A2, A7-A8, B1-12, C1-C12, D1-D2, D7-D8
  • Terminal/Tray: 15304702/19
  • Core/Insulation Crimp: Pins: A1, A7-A8, B1-B3, B8, C5-C12, D1-D2, D7-D8: E/2
  • Core/Insulation Crimp: Pins: A2, B4-B7, B9-B12, C1-C4: 2/4
  • Release Tool/Test Probe: 15315247/J-35616-3 (GY)
  • Pins: A6, D6
  • Terminal/Tray: 15304722/8
  • Core/Insulation Crimp: E/C
  • Release Tool/Test Probe: 15315247/J-35616-5 (PU)
  • Pins: A3-A5, D4-D5
  • Terminal/Tray: 15304724/8
  • Core/Insulation Crimp: Pins A3, A4, A5: 2/A
  • Core/Insulation Crimp: Pins D4, D5: C/D
  • Release Tool/Test Probe: 15315247/J-35616-5 (PU)

X211 Instrument Panel Harness (Y91) or Instrument Panel Extension Harness (except Y91) to Console Harness (D07)

Pin

Wire

Circuit

Function

Pin

Wire

Circuit

Function

A1

0.35 OG/BK

5329

Left Infra Red Audio Signal (U42)

A1

0.35 OG/BK

5329

Left Infra Red Audio Signal (U42)

A2

0.8 YE

1860

Front Center Speaker Output (+) (without UQA)

A2

0.35 YE/BK

1860

Front Center Speaker Output (+) (without UQA)

0.35 OG

6978

Front Center Speaker Output (+) (UQA)

0.35 OG

6978

Front Center Speaker Output (+) (UQA)

A3

0.8 L-BU

1960

Front Center Speaker Output (-) (without UQA)

A3

0.8 L-BU

1960

Front Center Speaker Output (-) (without UQA)

0.35 WH

7066

Entertainment Remote Enable Signal (UQA)

0.35 WH

7066

Entertainment Remote Enable Signal (UQA)

0.35 WH

7066

Entertainment Remote Enable Signal (UQA with U42)

A4

0.8 RD/WH

1040

Battery Positive Voltage

A4

0.8 RD/WH

1040

Battery Positive Voltage

0.8 RD/WH

1040

Battery Positive Voltage

A5

1 BK

1050

Ground (without UQA)

A5

0.8 BK

1050

Ground

0.8 BK

1050

Ground (UQA)

0.8 BK

1050

Ground

A6

0.35 D-GN

5060

Low Speed GMLAN Serial Data

A6

0.35 D-GN

5060

Low Speed GMLAN Serial Data

0.35 D-GN

5060

Low Speed GMLAN Serial Data (Y91)

A7

0.35 PK

5829

Infra Red Module Control (U42)

A7

0.35 PK

5829

Infra Red Module Control (U42)

A8

--

--

Not Used

A8

--

--

Not Used

B1

0.35 PU/WH

5330

Right Infra Red Audio Signal (U42)

B1

0.35 PU/WH

5330

Right Infra Red Audio Signal (U42)

B2

0.35 BN/WH

5331

Low Reference (U42)

B2

0.35 BN/WH

5331

Low Reference (U42)

B3

0.35 BARE

5332

Infra Red Audio Drain Wire (Y91 with U42)

B3

0.35 BARE

5332

Infra Red Audio Drain Wire (U42)

0.5 BARE

5332

Infra Red Audio Drain Wire (with U42, except Y91)

B4

0.5 BN

199

Left Rear Low Level Audio Signal (+) (UQ3)

B4

0.8 BN

199

Left Rear Low Level Audio Signal (+) (UQ3)

0.35 BN/WH

599

Left Rear Low Level Audio Signal (+) (without UQ3)

0.35 BN/WH

599

Left Rear Low Level Audio Signal (+) (without UQ3)

B5

0.5 YE

116

Left Rear Low Level Audio Signal (-) (UQ3)

B5

0.8 YE

116

Left Rear Low Level Audio Signal (-) (UQ3)

0.35 BN

1999

Left Rear Low Level Audio Signal (-) (without UQ3)

0.35 BN

1999

Left Rear Low Level Audio Signal (-) (without UQ3)

B6

0.5 D-BU

46

Right Rear Low Level Audio Signal (+) (UQ3)

B6

0.8 D-BU

46

Right Rear Speaker Output (+) (UQ3)

0.35 D-BU

546

Right Rear Low Level Audio Signal (+) (without UQ3)

0.35 D-BU

546

Right Rear Speaker Output (+) (without UQ3)

B7

0.5 TN

115

Right Rear Low Level Audio Signal (-) (UQ3)

B7

0.8 L-BU

115

Right Rear Low Level Audio Signal (-) (UQ3)

0.35 TN

1946

Right Rear Low Level Audio Signal (-) (without UQ3)

0.35 TN

1946

Right Rear Low Level Audio Signal (-) (without UQ3)

B8

0.35 BARE

2099

Drain Wire (Y91)

B8

0.35 BARE

2099

Drain Wire

0.5 BARE

2099

Drain Wire (except Y91)

B9

0.35 TN

201

Left Front Speaker Output (+)

B9

0.35 TN

201

Left Front Speaker Output (+)

B10

0.8 GY

118

Left Front Speaker Output (-)

B10

0.8 GY

118

Left Front Speaker Output (-)

B11

0.8 L-GN

200

Right Front Speaker Output (+)

B11

0.8 L-GN

200

Right Front Speaker Output (+)

B12

0.8 D-GN

117

Right Front Speaker Output (-)

B12

0.8 D-GN

117

Right Front Speaker Output (-)

C1

0.8 BN

199

Left Rear Speaker Output (+) (except Y91)

C1

0.8 BN

199

Left Rear Speaker Output (+) (except Y91)

0.35 WH/BK

2039

CKP Sensor High (Y91)

0.35 WH/BK

2039

CKP Sensor High (Y91)

C2

0.8 YE

116

Left Rear Speaker Output (-) (except Y91)

C2

0.8 YE

116

Left Rear Speaker Output (-) (except Y91)

0.35 PU/WH

5024

CKP Sensor Low (Y91)

0.35 PU/WH

5024

CKP Sensor Low (Y91)

C3

0.8 D-BU

46

Right Rear Speaker Output (+) (UQA)

C3

0.8 D-BU

46

Right Rear Speaker Output (+) (UQA)

C4

0.8 L-BU

115

Right Rear Speaker Output (-) (UQA)

C4

0.8 L-BU

115

Right Rear Speaker Output (-) (UQA)

C5

0.35 TN

511

Left Front Low Level Audio Signal (+)

C5

0.35 TN

511

Left Front Low Level Audio Signal (+)

C6

0.35 D-GN

1947

Left Front Low Level Audio Signal (-)

C6

0.35 D-GN

1947

Left Front Low Level Audio Signal (-)

C7

0.35 L-GN/WH

512

Right Front Low Level Audio Signal (+)

C7

0.35 L-GN/WH

512

Right Front Low Level Audio Signal (+)

C8

0.35 OG/BK

1546

Front Low Level Audio Signal (-)

C8

0.35 OG/BK

1546

Front Low Level Audio Signal (-)

C9

0.35 BARE

2011

Drain Wire (Y91)

C9

0.35 BARE

2011

Drain Wire

0.5 BARE

2011

Drain Wire (except Y91)

C10

0.35 GY

5836

Amplifier Audio Prompt Signal (-) (with U3U, U3R or UVB)

C10

0.35 GY

5836

Amplifier Audio Prompt Signal (-) (with U3U, U3R or UVB)

C11

0.35 PU

5837

Amplifier Audio Prompt Signal (+) (with U3U, U3R or UVB)

C11

0.35 PU

5837

Amplifier Audio Prompt Signal (+) (with U3U, U3R or UVB)

C12

0.35 BARE

5838

Amplifier Audio Prompt Drain Wire (with U3U, U3R or UVB)

C12

0.35 BARE

5838

Amplifier Audio Prompt Drain Wire (with U3U, U3R or UVB)

D1

0.35 PU

2056

Auxiliary Video High Signal (U42)

D1

0.35 PU

2056

Auxiliary Video High Signal (U42)

D2

0.35 BARE

5346

Video Drain Wire (Y91 with U42)

D2

0.35 BARE

5346

Video Drain Wire (U42)

0.5 BARE

5346

Video Drain Wire (with U42, except Y91)

D3

0.5 RD/WH

340

Battery Positive Voltage

D3

0.5 RD/WH

340

Battery Positive Voltage

D4

3 RD/WH

3740

Battery Positive Voltage

D4

2 RD/WH

3740

Battery Positive Voltage (Z75)

3 RD/WH

3740

Battery Positive Voltage (except Z75)

D5

0.35 BK

2550

Ground

D5

0.5 BK

2550

Ground (UQ3)

2 BK

2550

Ground (Z75)

3 BK

2550

Ground (except Z75 and without UQ3)

D6

0.35 BARE

5345

Drain Wire (Y91)

D6

0.35 BARE

5345

Drain Wire

0.5 BARE

5345

Drain Wire (except Y91)

D7

0.35 WH

2058

Auxiliary Audio Right Signal

D7

0.35 WH

2058

Auxiliary Audio Right Signal

D8

0.35 YE

2059

Auxiliary Audio Left Signal

D8

0.35 YE

2059

Auxiliary Audio Left Signal

X212 Instrument Panel Harness to Instrument Panel Extension Harness (except Y91)


Object Number: 1866035  Size: CH

Object Number: 2127932  Size: CH

Connector Part Information

  • OEM: 13601512
  • Service: See Catalog
  • Description: 14-Way F Micro-Pack 64 Series (BK)
  • OEM: 15491285
  • Service: 15136073
  • Description: 16-Way F Micro-Pack 64 Series (BK)

Connector Part Information

  • OEM: 13669368
  • Service: See Catalog
  • Description: 30-Way M GT 150 Micro-Pack 0.64 Series (BK)

Terminal Part Information

  • Pins: 5-14 (16-Way); 2-7, 9-13 (14-Way)
  • Terminal/Tray: SAIT-A03T-M064/14
  • Core/Insulation Crimp: P/P
  • Release Tool/Test Probe: J-38125-215A/J-35616-64B (L-BU)
  • Pins: 1, 8 (14-Way)
  • Terminal/Tray: 12191812/19
  • Core/Insulation Crimp: C/A
  • Release Tool/Test Probe: 15315247/J-35616-2A (GY)

Terminal Part Information

  • Pins: A5-A14, B2-B7, B9-B13
  • Terminal/Tray: 7114-4618-02/27
  • Core/Insulation Crimp: P/P
  • Release Tool/Test Probe: J-38125-215A/J-35616-65B (L-BU)
  • Pins: B1, B8
  • Terminal/Tray: 15304702/19
  • Core/Insulation Crimp: 2/4
  • Release Tool/Test Probe: 15315247/J-35616-3 (GY)

X212 Instrument Panel Harness to Instrument Panel Extension Harness (except Y91)

Pin

Wire

Circuit

Function

Pin

Wire

Circuit

Function

1-4

--

--

Not Used

A1-A4

--

--

Not Used

5

0.5 BN

199

Left Rear Speaker Output (+)

A5

0.8 BN

199

Left Rear Speaker Output (+)

0.5 BN

199

Left Rear Speaker Output (+) (UQ3 without UK6)

6

0.5 D-BU

46

Right Rear Speaker Output (+)

A6

0.8 D-BU

46

Right Rear Speaker Output (+)

0.5 D-BU

46

Right Rear Speaker Output (+) (UQ3 without UK6)

7-12

--

--

Not Used

A7-A12

--

--

Not Used

13

0.5 YE

116

Left Rear Speaker Output (-)

A13

0.8 YE

116

Left Rear Speaker Output (-)

0.5 YE

116

Left Rear Speaker Output (-) (UQ3 without UK6)

14

0.5 L-BU

115

Right Rear Speaker Output (-)

A14

0.8 L-BU

115

Right Rear Speaker Output (-)

0.5 L-BU

115

Right Rear Speaker Output (-) (UQ3 without UK6)

15-16

--

--

Not Used

A15-A16

--

--

Not Used

1

1 RD/WH

340

Battery Positive Voltage

B1

1 RD/WH

340

Battery Positive Voltage

2

0.5 TN

201

Left Front Speaker Output (+)

B2

0.5 TN

201

Left Front Speaker Output (+) (UQ3)

0.8 TN

201

Left Front Speaker Output (+) (without UQ3)

3

0.5 L-GN

200

Right Front Speaker Output (+) (HP2)

B3

0.5 L-GN

200

Right Front Speaker Output (+) (UQ3)

0.35 L-GN

200

Right Front Speaker Output (+) (except HP2)

0.8 L-GN

200

Right Front Speaker Output (+) (without UQ3)

4-5

--

--

Not Used

B4-B5

--

--

Not Used

6

0.35 WH

7066

Entertainment Remote Enable Signal (U84)

B6

0.35 WH

7066

Entertainment Remote Enable Signal (U84)

7

0.35 YE

6817

LED Backlight Dimming Control

B7

0.35 YE

6817

LED Backlight Dimming Control

8

1 BK

2550

Ground

B8

1 BK

2550

Ground

9

0.5 GY

118

Left Front Speaker Output (-)

B9

0.5 GY

118

Left Front Speaker Output (-) (UQ3)

0.8 GY

118

Left Front Speaker Output (-) (without UQ3)

10

0.5 D-GN

117

Right Front Speaker Output (-)

B10

0.5 D-GN

117

Right Front Speaker Output (-)

(UQ3)

0.8 D-GN

117

Right Front Speaker Output (-) (without UQ3)

11-12

--

--

Not Used

B11-B12

--

--

Not Used

13

0.35 D-GN

5060

Low Speed GMLAN Serial Data

B13

0.35 D-GN

5060

Low Speed GMLAN Serial Data

14

--

--

Not Used

B14

--

--

Not Used

X214 Brake/Clutch Harness to Fuse Block Jumper Harness (6J1)


Object Number: 365960  Size: CH

Object Number: 1644503  Size: CH

Connector Part Information

  • OEM: 12160893
  • Service: See Catalog
  • Description: 1-Way F Metri-Pack Series, Sealed (BK)

Connector Part Information

  • OEM: 12160894
  • Service: See Catalog
  • Description: 1-Way M Metri-Pack Series, Sealed (BK)

Terminal Part Information

  • Terminal: Not Serviced
  • Core/Insulation Crimp: Not Serviced
  • Release Tool/Test Probe: Not Serviced

Terminal Part Information

  • Terminal: Not Serviced
  • Core/Insulation Crimp: Not Serviced
  • Release Tool/Test Probe: Not Serviced

X214 Brake/Clutch Harness to Fuse Block Jumper Harness (6J1)

Pin

Wire

Circuit

Function

Pin

Wire

Circuit

Function

A

19 RD/BK

102

Battery Positive Voltage

A

19 RD/BK

102

Battery Positive Voltage

X215 Body Harness to I/P Harness (HP2)


Object Number: 646383  Size: CH

Object Number: 831382  Size: CH

Connector Part Information

  • OEM: 15479300
  • Service: See Catalog
  • Description: 16-Way F GT 150 Series, Sealed (BK)

Connector Part Information

  • OEM: 15336224
  • Service: 15336224
  • Description: 16-Way M GT 150, 280 Series, Sealed (BK)

Terminal Part Information

  • Terminal/Tray: 12191819/8
  • Core/Insulation Crimp: Pins: C, E, F, H, J : 2/A
  • Core/Insulation Crimp: Pins: A, B, D, G, K, L, M, N, P, R : E/A
  • Release Tool/Test Probe: 15315247/J-35616-2A (GY)

Terminal Part Information

  • Pins: A
  • Terminal/Tray: 15304722/8
  • Core/Insulation Crimp: E/C
  • Release Tool/Test Probe: 15315247/J-35616-5 (PU)
  • Pins: B-G, K-R
  • Terminal/Tray: 15304702/19
  • Core/Insulation Crimp: Pins: C, F : 2/4
  • Core/Insulation Crimp: Pins: B, D, G, M, N, P, R : E/4
  • Core/Insulation Crimp: Pins: E, K, L : E/C
  • Release Tool/Test Probe: 15315247/J-35616-3 (GY)
  • Pins: H, J
  • Terminal/Tray: 15304724/8
  • Core/Insulation Crimp: 2/A
  • Release Tool/Test Probe: 15315247/J-35616-5 (PU)

X215 Body Harness to I/P Harness (HP2)

Pin

Wire

Circuit

Function

Pin

Wire

Circuit

Function

A

0.5 TN/BK

2500

High Speed GMLAN Serial Data Bus +

A

0.5 TN/BK

2500

High Speed GMLAN Serial Data Bus +

B

0.5 TN

2501

High Speed GMLAN Serial Data Bus -

B

0.5 TN

2501

High Speed GMLAN Serial Data Bus -

C

1 RD/WH

4140

Battery Positive Voltage

C

1 RD/WH

4140

Battery Positive Voltage

D

0.5 OG

300

Ignition Voltage

D

0.5 BN

241

Ignition Voltage

E

0.8 L-BU

5986

Serial Data Communication Enable

E

0.35 L-BU

5986

Serial Data Communication Enable

F

0.8 PK

988

Contactor Control

F

0.8 PK

988

Contactor Control

G

0.5 PK

968

Audio Common

G

0.5 TN

968

Audio Common

H

1 RD/WH

4240

Battery Positive Voltage

H

0.8 RD/WH

4240

Battery Positive Voltage

J

0.8 PK

739

Ignition Voltage

J

0.8 RD/WH

4640

Ignition Voltage

K

0.35 PU

5087

High Voltage Interlock Circuit +

K

0.35 PU

5087

High Voltage Interlock Circuit +

L

0.35 YE

5690

High Voltage Interlock Circuit -

L

0.35 YE

5690

High Voltage Interlock Circuit -

M

0.5 TN

948

Yaw Rate and Lateral Acceleration Sensor Feed

M

0.5 TN

948

Yaw Rate and Lateral Acceleration Sensor Feed

N

0.5 TN

950

Yaw Rate and Lateral Acceleration Sensor Ground

N

0.5 TN

950

Yaw Rate and Lateral Acceleration Sensor Ground

P

0.5 D-BU

6105

PTLAN +

P

0.5 D-BU

6105

PTLAN +

R

0.5 L-BU

6106

PTLAN -

R

0.5 L-BU

6106

PTLAN -

S

--

--

Not Used

S

--

--

Not Used

X220 Brake/Clutch Harness to Fuse Block Jumper Harness (9L4)


Object Number: 646420  Size: CH

Object Number: 744044  Size: CH

Connector Part Information

  • OEM: 15332135
  • Service: 15306414
  • Description: 4-Way F Metri-Pack 150 Series (BK)

Connector Part Information

  • OEM: 15332116
  • Service: See Catalog
  • Description: 4-Way M (BK)

Terminal Part Information

  • Terminal: 12191812/19
  • Core/Insulation Crimp: E/C
  • Release Tool/Test Probe: 15315247/J-35616-2A (GY)

Terminal Part Information

  • Terminal: 15304702/19
  • Core/Insulation Crimp: E/4
  • Release Tool/Test Probe: 15315247/J-35616-3 (GY)

X220 Brake/Clutch Harness to Fuse Block Jumper Harness (9L4)

Pin

Wire

Circuit

Function

Pin

Wire

Circuit

Function

A

0.5 BK

1050

Ground

A

0.5 BK

1050

Ground

B

0.5 YE/BK

5813

Park Enable Control

B

0.5 YE/BK

5813

Park Enable Control

C

0.5 PK

739

Ignition Voltage

C

0.5 PK

739

Ignition Voltage

D

0.5 YE

143

Ignition Voltage

D

0.5 YE

143

Ignition Voltage

X221 Brake/Clutch Harness to Fuse Block Jumper Harness (9L4)


Object Number: 2042479  Size: CH

Object Number: 309512  Size: CH

Connector Part Information

  • OEM: 13520916
  • Service: See Catalog
  • Description: 1-Way F Power Pack Series, Sealed (BK)

Connector Part Information

  • OEM: 15320909
  • Service: See Catalog
  • Description: 1-Way M Power Pack 2000 Series, Sealed (BK)

Terminal Part Information

  • Terminal: Not Serviced
  • Core/Insulation Crimp: Not Serviced
  • Release Tool/Test Probe: Not Serviced

Terminal Part Information

  • Terminal: Not Serviced
  • Core/Insulation Crimp: Not Serviced
  • Release Tool/Test Probe: Not Serviced

X221 Brake/Clutch Harness to Fuse Block Jumper Harness (9L4)

Pin

Wire

Circuit

Function

Pin

Wire

Circuit

Function

A

19 RD

202

Battery Positive Voltage

A

19 RD

202

Battery Positive Voltage

X222 Accessory Power Harness to Body Harness (5W4 or PPV)


Object Number: 365960  Size: CH

Object Number: 1644503  Size: CH

Connector Part Information

  • OEM: 12160893
  • Service: 15306159
  • Description: 1-Way F Metri-Pack 800 Series (BK)

Connector Part Information

  • OEM: 12160894
  • Service: See Catalog
  • Description: 1-Way M Metri-Pack 800 Series (BK)

Terminal Part Information

  • Terminal: 12110127/19
  • Core/Insulation Crimp: F/G
  • Release Tool/Test Probe: 12150860/J-35616-44 (YE)

Terminal Part Information

  • Terminal: 12110700/24
  • Core/Insulation Crimp: G/3/5
  • Release Tool/Test Probe: 12150860/J-35616-45 (YE)

X222 Accessory Power Harness to Body Harness (5W4 or PPV)

Pin

Wire

Circuit

Function

Pin

Wire

Circuit

Function

A

5 RD/BK

1442

Upfitter Provision

A

5 RD/BK

1442

Upfitter Provision

X223 Accessory Power Harness to Body Harness (5W4 or PPV)


Object Number: 365960  Size: CH

Object Number: 1644503  Size: CH

Connector Part Information

  • OEM: 12160893
  • Service: 15306159
  • Description: 1-Way F Metri-Pack 800 Series (BK)

Connector Part Information

  • OEM: 12160894
  • Service: See Catalog
  • Description: 1-Way M Metri-Pack 800 Series (BK)

Terminal Part Information

  • Terminal: 12110127/19
  • Core/Insulation Crimp: F/G
  • Release Tool/Test Probe: 12150860/J-35616-44 (YE)

Terminal Part Information

  • Terminal: 12110700/24
  • Core/Insulation Crimp: G/3/5
  • Release Tool/Test Probe: 12150860/J-35616-45 (YE)

X223 Accessory Power Harness to Body Harness (5W4 or PPV)

Pin

Wire

Circuit

Function

Pin

Wire

Circuit

Function

A

5 RD/BK

1542

Upfitter Provision

A

5 RD/BK

1542

Upfitter Provision

X229 Body Harness to Steering Column Harness (N48)


Object Number: 646374  Size: CH

Object Number: 715111  Size: CH

Connector Part Information

  • OEM: 15332145
  • Service: 15306407
  • Description: 8-Way F GT 150 Series (BK)

Connector Part Information

  • OEM: 15332150
  • Service: 88986250
  • Description: 8-Way M GT 150 Series (BK)

Terminal Part Information

  • Terminal: 12191812/19
  • Core/Insulation Crimp: Pins A-F: E/C
  • Core/Insulation Crimp: Pins G-H: C/A
  • Release Tool/Test Probe: 15315247/J-35616-2A (GY)

Terminal Part Information

  • Terminal: See Terminal Repair Kit
  • Core/Insulation Crimp: See Terminal Repair Kit
  • Release Tool/Test Probe: See Terminal Repair Kit

X229 Body Harness to Steering Column Harness (N48)

Pin

Wire

Circuit

Function

Pin

Wire

Circuit

Function

A

0.35 PU/WH

6205

Reference Voltage

A

0.35 PU/WH

6205

Reference Voltage

B

0.35 YE

2097

Steering Column Tilt Down Signal

B

0.35 YE

2097

Steering Column Tilt Down Signal

C

0.35 GY

2096

Steering Column Tilt Up Signal

C

0.35 GY

2096

Steering Column Tilt Up Signal

D

0.5 GY

6206

Signal Return

D

0.5 GY

6206

Signal Return

E

0.5 OG

2154

Steering Wheel Tilt Actuator Position Signal

E

0.5 OG

2154

Steering Wheel Tilt Actuator Position Signal

F

0.5 TN

6207

Reference Voltage

F

0.5 TN

6207

Reference Voltage

G

1 BN

2112

Steering Column Actuator Down Control

G

1 BN

2112

Steering Column Actuator Down Control

H

1 PK

2111

Steering Column Actuator Up Control

H

1 PK

2111

Steering Column Actuator Up Control

X275 Steering Wheel Module Coil to Body Harness


Object Number: 1715215  Size: CH

Object Number: 684931  Size: CH

Connector Part Information

  • OEM: 15479525
  • Service: 19149302
  • Description: 4-Way F Metri-Pack 280 Series (YE)

Connector Part Information

  • OEM: 15336476
  • Service: 15306363
  • Description: 4-Way M Metri-Pack 280 Series (YE)

Terminal Part Information

  • Terminal: See Terminal Repair Kit
  • Core/Insulation Crimp: See Terminal Repair Kit
  • Release Tool/Test Probe: See Terminal Repair Kit

Terminal Part Information

  • Terminal: 12034047/2
  • Core/Insulation Crimp: E/A
  • Release Tool/Test Probe: 12094430/J-35616-5 (PU)

X275 Steering Wheel Module Coil to Body Harness

Pin

Wire

Circuit

Function

Pin

Wire

Circuit

Function

A1

0.35 TN

3021

Steering Wheel Module - Stage 1 - High Control

A1

0.5 TN

3021

Steering Wheel Module - Stage 1 - High Control

A2

0.35 BN

3020

Steering Wheel Module - Stage 1 - Low Control

A2

0.5 BN

3020

Steering Wheel Module - Stage 1 - Low Control

B1

0.35 WH

3023

Steering Wheel Module - Stage 2 - High Control

B1

0.5 WH

3023

Steering Wheel Module - Stage 2 - High Control

B2

0.35 PK

3022

Steering Wheel Module - Stage 2 - Low Control

B2

0.5 PK

3022

Steering Wheel Module - Stage 2 - Low Control

X276 Steering Column Harness to Steering Wheel Module Coil Harness (KA9)


Object Number: 646421  Size: CH

Object Number: 258301  Size: CH

Connector Part Information

  • OEM: 12059253
  • Service: 12059253
  • Description: 2-Way F Metri-Pack 150 Series (L-GN)

Connector Part Information

  • OEM: 12059254
  • Service: 12059254
  • Description: 2-Way M Metri-Pack 150 Series (L-GN)

Terminal Part Information

  • Terminal: See Terminal Repair Kit
  • Core/Insulation Crimp: See Terminal Repair Kit
  • Release Tool/Test Probe: See Terminal Repair Kit

Terminal Part Information

  • Terminal: See Terminal Repair Kit
  • Core/Insulation Crimp: See Terminal Repair Kit
  • Release Tool/Test Probe: See Terminal Repair Kit

X276 Steering Column Harness to Steering Wheel Module Coil Harness (KA9)

Pin

Wire

Circuit

Function

Pin

Wire

Circuit

Function

A

0.35 TN

--

Ignition Voltage

A

0.35 TN

--

Ignition Voltage

B

0.35 BK

--

Ground

B

0.35 BK

--

Ground

X277 Steering Wheel Module Coil to Heated Steering Wheel Harness (KA9)


Object Number: 646421  Size: CH

Object Number: 258301  Size: CH

Connector Part Information

  • OEM: 12059253
  • Service: 12059253
  • Description: 2-Way F Metri-Pack 150 Series (L-GN)

Connector Part Information

  • OEM: 12059254
  • Service: 12059254
  • Description: 2-Way M Metri-Pack 150 Series (L-GN)

Terminal Part Information

  • Terminal: See Terminal Repair Kit
  • Core/Insulation Crimp: See Terminal Repair Kit
  • Release Tool/Test Probe: See Terminal Repair Kit

Terminal Part Information

  • Terminal: See Terminal Repair Kit
  • Core/Insulation Crimp: See Terminal Repair Kit
  • Release Tool/Test Probe: See Terminal Repair Kit

X277 Steering Wheel Module Coil to Heated Steering Wheel Harness (KA9)

Pin

Wire

Circuit

Function

Pin

Wire

Circuit

Function

A

0.35 TN

--

Ignition Voltage

A

0.35 TN

--

Ignition Voltage

B

0.35 BK

--

Ground

B

0.35 BK

--

Ground

X278 Body Harness to Body Jumper Harness (SPO Rear Vision Camera)


Object Number: 695495  Size: CH

Object Number: 646366  Size: CH

Connector Part Information

  • OEM: 15326870
  • Service: 88953160
  • Description: 2-Way F GT 280 Series (BK)

Connector Part Information

  • OEM: 15326874
  • Service: 15306379
  • Description: 2-Way M GT 280 Series (BK)

Terminal Part Information

  • Terminal/Tray: 15304711/8
  • Core/Insulation Crimp: E/A
  • Release Tool/Test Probe: 15315247/J-35616-4A (PU)

Terminal Part Information

  • Terminal: 15304722/8
  • Core/Insulation Crimp: E/C
  • Release Tool/Test Probe: 15315247/J-35616-5 (PU)

X278 Body Harness to Body Jumper Harness (SPO Rear Vision Camera)

Pin

Wire

Circuit

Function

Pin

Wire

Circuit

Function

A

0.35 PK

239

Ignition Voltage

A

0.5 PK

239

Ignition Voltage

B

--

--

Not Used

B

--

--

Not Used

X300 Engine Harness to Chassis Harness (HP2)


Object Number: 831375  Size: CH

Object Number: 1394019  Size: CH

Connector Part Information

  • OEM: 15326939
  • Service: 15326939
  • Description: 12-Way F GT 150 280 Series, Sealed (BK)

Connector Part Information

  • OEM: 15336034
  • Service: See Catalog
  • Description: 12-Way M GT 150/280 Series, Sealed (BK)

Terminal Part Information

  • Pins: A
  • Terminal/Tray: 15304719/19
  • Core/Insulation Crimp: E/5
  • Release Tool/Test Probe: 15315247/J-35616-4A (PU)
  • Pins: B
  • Terminal/Tray: 15326427/5
  • Core/Insulation Crimp: E/A
  • Release Tool/Test Probe: 15315247/J-35616-2A (GY)
  • Pins: C, D, H, J, K, L
  • Terminal/Tray: 12191819/8
  • Core/Insulation Crimp: E/A
  • Release Tool/Test Probe: 15315247/J-35616-2A (GY)
  • Pins: F
  • Terminal/Tray: 15491972/24
  • Core/Insulation Crimp: E/5
  • Release Tool/Test Probe: 15315247/J-35616-4A (PU)

Terminal Part Information

  • Pins: A, F, G, M
  • Terminal/Tray: 15304731/19
  • Core/Insulation Crimp: E/5
  • Release Tool/Test Probe: 15315247/J-35616-5 (PU)
  • Pins: B, C, D, E, H, J, K, L
  • Terminal/Tray: 15326269/19
  • Core/Insulation Crimp: E/4
  • Release Tool/Test Probe: 15315247/J-35616-3 (GY)

X300 Engine Harness to Chassis Harness (HP2)

Pin

Wire

Circuit

Function

Pin

Wire

Circuit

Function

A

0.35 PU

1589

Fuel Level Sensor Signal - Primary

A

0.5 PU

1589

Fuel Level Sensor Signal - Primary

B

0.35 D-GN/WH

465

Fuel Pump Relay Control

B

0.5 D-GN/WH

465

Fuel Pump Relay Control

C

0.35 GY

2709

5-Volt Reference

C

0.5 GY

2709

5-Volt Reference

D

0.35 D-GN

890

Fuel Tank Pressure Sensor Signal

D

0.5 D-GN

890

Fuel Tank Pressure Sensor Signal

E

0.5 D-BU

6105

High Speed GMLAN Serial Data (+)

E

0.5 D-BU/WH

6105

High Speed GMLAN Serial Data (+)

F

0.5 WH

1310

EVAP Canister Vent Solenoid Control

F

0.5 WH

1310

EVAP Canister Vent Solenoid Control

G

--

--

Not Used

G

--

--

Not Used

H

0.35 TN/BK

6049

Low Reference

H

0.5 TN/BK

6049

Low Reference

J

0.5 L-BU

6106

PTLAN -

J

0.5 L-BU

6106

PTLAN -

K

0.5 D-BU

6105

PTLAN +

K

0.5 D-BU

6105

PTLAN +

L

0.5 L-BU/WH

6311

Brake Pedal Switch Signal

L

0.5 L-BU/WH

6311

Brake Pedal Switch Signal

M

0.5 L-BU

6106

High Speed GMLAN Serial Data (-)

M

0.5 L-BU/WH

6106

High Speed GMLAN Serial Data (-)

X300 Chassis Harness to Engine Harness (except HP2)


Object Number: 646400  Size: CH

Object Number: 684916  Size: CH

Connector Part Information

  • OEM: 15326835
  • Service: 88986452
  • Description: 8-Way F GT 150 Series Sealed (BK)

Connector Part Information

  • OEM: 15326840
  • Service: See Catalog
  • Description: 8-Way M GT 150 Series Sealed (BK)

Terminal Part Information

  • Terminal: 12191819/8
  • Core/Insulation Crimp: E/A
  • Release Tool/Test Probe: 15315247/J-35616-2A (GY)

Terminal Part Information

  • Terminal: 15326269/19
  • Core/Insulation Crimp: E/4
  • Release Tool/Test Probe: 15315247/J-35616-3 (GY)

X300 Chassis Harness to Engine Harness (except HP2)

Pin

Wire

Circuit

Function

Pin

Wire

Circuit

Function

A

0.35 PU

1589

Fuel Level Sensor Signal - Primary

A

0.5 PU

1589

Fuel Level Sensor Signal - Primary

B

0.5 D-GN/WH

465

Fuel Pump Relay Control - Secondary (LY6)

B

0.35 D-GN/WH

465

Fuel Pump Relay Control - Secondary (LY6)

C

0.35 GY

2709

5-Volt Reference

C

0.5 GY

2709

5-Volt Reference

D

0.35 D-GN

890

Fuel Tank Pressure Sensor Signal

D

0.5 D-GN

890

Fuel Tank Pressure Sensor Signal

E

0.35 YE/BK

1827

Vehicle Speed Signal (JH6)

E

0.5 YE/BK

1827

Vehicle Speed Signal (JH6)

F

0.5 WH

1310

EVAP Canister Vent Solenoid Control

F

0.5 WH

1310

EVAP Canister Vent Solenoid Control

G

--

--

Not Used

G

--

--

Not Used

H

0.35 TN/BK

6049

Low Reference

H

0.5 TN/BK

6049

Low Reference

X303 Body Harness to Driver Seat Harness (AN3 or HP2 with AG1)


Object Number: 655763  Size: CH

Object Number: 655824  Size: CH

Connector Part Information

  • OEM: 15304908
  • Service: 15304908
  • Description: 30-Way F GT 150 280 Series (BK)

Connector Part Information

  • OEM: 15326762
  • Service: 15326762
  • Description: 30-Way M GT 150 280 Series (BK)

Terminal Part Information

  • Pins: A1-A6, A10-A15, B1-B6, B10-B15
  • Terminal/Tray: 12191812/19
  • Core/Insulation Crimp: Pins: A1-A2, B3-B4: C/A
  • Core/Insulation Crimp: Pins: A3-A6, A10-A15, B1-B2, B5-B6, B10-B15: E/C
  • Release Tool/Test Probe: 15315247/J-35616-2A (GY)
  • Pins: A7, B8
  • Terminal/Tray: 15304713/19
  • Core/Insulation Crimp: F/D
  • Release Tool/Test Probe: 15315247/J-35616-4A (PU)
  • Pins: A8, B7, B9
  • Terminal/Tray: 15304711/8
  • Core/Insulation Crimp: Pins A8: E/A
  • Core/Insulation Crimp: Pins B7, B9: 2/A
  • Release Tool/Test Probe: 15315247/J-35616-4A (PU)

Terminal Part Information

  • Terminal: See Terminal Repair Kit
  • Core/Insulation Crimp: See Terminal Repair Kit
  • Release Tool/Test Probe: See Terminal Repair Kit

X303 Body Harness to Driver Seat Harness (AN3 or HP2 with AG1)

Pin

Wire

Circuit

Function

Pin

Wire

Circuit

Function

A1

1 L-BU

2433

Passenger Heated Seat Back Element Control (without KB6)

A1

0.35 L-BU

2433

Passenger Heated Seat Back Element Control (without KB6)

1 OG

6194

Driver Cooled Back Signal Low (KB6)

0.35 OG

6194

Driver Cooled Back Signal Low (KB6)

A2

1 PK

2480

Passenger Heated Seat Cushion Element Control (without KB6)

A2

0.35 PK

2480

Passenger Heated Seat Cushion Element Control (without KB6)

1 PU

6196

Driver Cooled Cushion Signal Low (KB6)

0.35 PU

6196

Driver Cooled Cushion Signal Low (KB6)

A3

0.5 PK

5289

Adjustable Pedal Sensor Signal (AN3 with JF4)

A3

0.35 PK

5289

Adjustable Pedal Sensor Signal (AN3 with JF4)

A4

0.35 D-GN

5060

Low Speed GMLAN Serial Data

A4

0.35 D-GN

5060

Low Speed GMLAN Serial Data

A5

0.35 TN/WH

238

Seat Belt Switch - Left

A5

0.35 TN/WH

238

Seat Belt Switch - Left

A6

0.35 L-GN

5055

Seat Position Sensor - Left - Signal

A6

0.35 L-GN

5055

Seat Position Sensor - Left - Signal

A7

3 RD/WH

5040

Battery Positive Voltage

A7

0.35 RD/WH

5040

Battery Positive Voltage

A8

0.35 PK

5057

Low Reference

A8

0.35 PK

5057

Low Reference

0.35 PK

5057

Low Reference

A9

--

--

Not Used

A9

--

--

Not Used

A10

0.35 GY

2434

Passenger Heated Seat Cushion Temperature Sensor Signal (without KB6)

A10

0.35 GY

2434

Passenger Heated Seat Cushion Temperature Sensor Signal (without KB6)

0.35 YE/BK

2079

Heated Seat Cushion Temperature Sensor Signal (KB6)

0.35 YE/BK

2079

Heated Seat Cushion Temperature Sensor Signal (KB6)

A11

0.35 PK

2435

Low Reference (without KB6)

A11

0.35 PK

2435

Low Reference (without KB6)

0.35 YE

2080

Low Reference (KB6)

0.35 YE

2080

Low Reference (KB6)

A12

0.35 TN

2436

Passenger Heated Seat Back Temperature Sensor Signal (without KB6)

A12

0.35 TN

2436

Passenger Heated Seat Back Temperature Sensor Signal (without KB6)

0.35 D-BU

2425

Driver Heated Seat Back Temperature Sensor Signal (KB6)

0.35 D-BU

2425

Driver Heated Seat Back Temperature Sensor Signal (KB6)

A13

0.35 TN

2482

Low Reference (without KB6)

A13

0.35 TN

2482

Low Reference (without KB6)

0.35 PK

2426

Low Reference (KB6)

0.35 PK

2426

Low Reference (KB6)

A14

0.5 TN

6207

Memory Sensor High Reference (AN3)

A14

0.35 TN

6207

Memory Sensor High Reference (AN3)

A15

0.5 GY

6206

Low Reference (AN3)

A15

0.35 GY

6206

Low Reference (AN3)

B1

0.35 PU

5286

Adjustable Pedals Motor Forward Control (JF4)

B1

0.35 PU

5286

Adjustable Pedals Motor Forward Control (JF4)

B2

0.35 OG/BK

5285

Adjustable Pedals Motor Rearward Control (JF4)

B2

0.35 YE

5285

Adjustable Pedals Motor Rearward Control (JF4)

B3

1 PU

5130

Adjustable Pedal Actuator Forward Control (JF4)

B3

0.35 PU

5130

Adjustable Pedal Actuator Forward Control (JF4)

B4

1 YE

5129

Adjustable Pedal Actuator Rearward Control (JF4)

B4

0.35 OG/BK

5129

Adjustable Pedal Actuator Rearward Control (JF4)

B5

0.35 PU/WH

6205

Driver Position Switch High Reference (AN3)

B5

0.35 PU/WH

6205

Driver Position Switch High Reference (AN3)

B6

0.5 RD/WH

1140

Battery Positive Voltage

B6

0.35 RD/WH

1140

Battery Positive Voltage

B7

1 D-BU

2479

Passenger Heated Seat Element Control (without KB6)

B7

0.35 D-BU

2479

Passenger Heated Seat Element Control (without KB6)

1 BN

6193

Driver Cooled Back Signal High (KB6)

0.35 BN

6193

Driver Cooled Back Signal High (KB6)

B8

3 BK

1150

Ground

B8

0.35 BK

1150

Ground

B9

1 D-GN

6195

Driver Cooled Cushion Signal High (KB6)

B9

0.35 D-GN

6195

Driver Cooled Cushion Signal High (KB6)

B10

0.35 OG

7009

Driver Cushion Fan Speed Control (KB6)

B10

0.35 OG

7009

Driver Cushion Fan Speed Control (KB6)

B11

0.35 D-GN

5918

Driver Seat Blower Voltage Reference (KB6)

B11

0.35 D-GN

5918

Driver Seat Blower Voltage Reference (KB6)

B12

0.35 WH

5908

Passenger Seat Vent Motor Control (KB6)

B12

0.35 WH

5908

Passenger Seat Vent Motor Control (KB6)

B13

0.35 D-GN

5906

Driver Seat Vent Motor Control (KB6)

B13

0.35 D-GN

5906

Driver Seat Vent Motor Control (KB6)

B14

0.35 GY

5912

Low Reference (KB6)

B14

0.35 GY

5912

Low Reference (KB6)

B15

0.35 TN

7010

Driver Back Fan Speed Control (KB6)

B15

0.35 TN

7010

Driver Back Fan Speed Control (KB6)

X303 Body Harness to Driver Seat Harness (without AN3 or HP2 with AG1)


Object Number: 646380  Size: CH

Object Number: 814091  Size: CH

Connector Part Information

  • OEM: 15326900
  • Service: 15306380
  • Description: 6-Way F GT 280 Series (BK)

Connector Part Information

  • OEM: 15326904
  • Service: 88988314
  • Description: 6-Way M GT 280 Series (BK)

Terminal Part Information

  • Pins: A, F
  • Terminal/Tray: 15304713/19
  • Core/Insulation Crimp: F/D
  • Release Tool/Test Probe: 15315247/J-35616-4A (PU)
  • Pins: B-D
  • Terminal/Tray: 15304711/8
  • Core/Insulation Crimp: E/A
  • Release Tool/Test Probe: 15315247/J-35616-4A (PU)

Terminal Part Information

  • Terminal: See Terminal Repair Kit
  • Core/Insulation Crimp: See Terminal Repair Kit
  • Release Tool/Test Probe: See Terminal Repair Kit

X303 Body Harness to Driver Seat Harness (without AN3 or HP2 with AG1)

Pin

Wire

Circuit

Function

Pin

Wire

Circuit

Function

A

3 RD/WH

5040

Battery Positive Voltage

A

0.35 RD/WH

5040

Battery Positive Voltage

B

0.35 TN/WH

238

Seat Belt Switch - Left

B

0.35 TN/WH

238

Seat Belt Switch - Left

C

0.35 L-GN

5055

Seat Position Sensor - Left - Signal

C

0.35 L-GN

5055

Seat Position Sensor - Left - Signal

D

0.35 PK

5057

Low Reference

D

0.35 PK

5057

Low Reference

E

--

--

Not Used

E

--

--

Not Used

F

3 BK

1150

Ground

F

0.35 BK

1150

Ground

X304 Headliner Harness to Overhead Console Harness


Object Number: 1711010  Size: CH

Object Number: 646377  Size: CH

Connector Part Information

  • OEM: 13516905
  • Service: 19115728
  • Description: 16-Way F GT 150 Series (BK)

Connector Part Information

  • OEM: 15332182
  • Service: 15306371
  • Description: 16-Way M GT 150 Series (BK)

Terminal Part Information

  • Terminal: 12191812/19
  • Core/Insulation Crimp: E/C
  • Release Tool/Test Probe: 15315247/J-35616-2A (GY)

Terminal Part Information

  • Terminal: 15304702/19
  • Core/Insulation Crimp: E/4
  • Release Tool/Test Probe: 15315247/J-35616-3 (GY)

X304 Headliner Harness to Overhead Console Harness

Pin

Wire

Circuit

Function

Pin

Wire

Circuit

Function

A

0.5 BK

1050

Ground

A

0.35 BK

1050

Ground

B

0.5 RD/WH

240

Battery Positive Voltage

B

0.35 RD/WH

240

Battery Positive Voltage

C

0.35 BN/WH

230

Instrument Panel Lamp Dimming Control

C

0.35 BN/WH

230

Instrument Panel Lamp Dimming Control

D

0.35 PK

1139

Ignition Voltage

D

0.35 PK

1139

Ignition Voltage

E

0.35 D-GN/WH

5800

Front Liftgate Open/Close Switch Signal

E

0.35 D-GN/WH

5800

Front Liftgate Open/Close Switch Signal (E61)

F

0.35 GY

655

Cellular Microphone Signal

F

0.35 GY

655

Cellular Microphone Signal

G

0.35 BARE

514

Ground

G

0.35 D-GN

654

Low Reference

H

0.35 OG

6815

Inadvertent Power Control

H

0.35 OG

6815

Inadvertent Power Control

J

0.5 GY

157

Interior Lamp Control

J

0.35 GY

157

Interior Lamp Control

K

0.5 YE/BK

5813

Park Enable Control

K

0.35 YE/BK

5813

Park Enable Control (ARS)

L

0.5 PU

6811

Left Rear Seat Fold Tumble Signal

L

0.35 PU

6811

Left Rear Seat Fold Tumble Signal (ARS)

M

0.5 OG/BK

6810

Right Rear Seat Fold Tumble Signal

M

0.35 OG/BK

6810

Right Rear Seat Fold Tumble Signal (ARS)

N

0.35 D-BU

2307

Passenger Air Bag On Indicator Control

N

0.35 D-BU

2307

Passenger Air Bag On Indicator Control

P

0.35 D-GN/BK

2308

Passenger Air Bag Off Indicator Control

P

0.35 D-GN/BK

2308

Passenger Air Bag Off Indicator Control

R

0.35 PU

5234

Passenger Seat Belt Indicator

R

0.35 PU

5234

Passenger Seat Belt Indicator

S

0.35 D-GN

6112

Power Liftgate On/Off Switch Signal

S

0.35 D-GN

6112

Power Liftgate On/Off Switch Signal (E61)

X305 Body Harness to Passenger Seat Harness (AN3 or HP2 with AG1)


Object Number: 655763  Size: CH

Object Number: 655824  Size: CH

Connector Part Information

  • OEM: 15304908
  • Service: 15304908
  • Description: 30-Way F GT 150 280 Series (BK)

Connector Part Information

  • OEM: 15326762
  • Service: 15326762
  • Description: 30-Way M GT 150 280 Series (BK)

Terminal Part Information

  • Pins: A1-A6, A10-A15, B2-B6, B10
  • Terminal/Tray: 12191812/19
  • Core/Insulation Crimp: Pins: A1-A3: C/A
  • Core/Insulation Crimp: Pins: A4-A6, A10-A15, B2-B6, B10: E/C
  • Release Tool/Test Probe: 15315247/J-35616-2A (GY)
  • Pins: A7-A8, B7
  • Terminal/Tray: 15304711/8
  • Core/Insulation Crimp: Pins A7, B7: E/A
  • Core/Insulation Crimp: Pins A8: 2/A
  • Release Tool/Test Probe: 15315247/J-35616-4A (PU)
  • Pins: A9, B8-B9
  • Terminal/Tray: 15304713/19
  • Core/Insulation Crimp: Pins A9, B9: F/D
  • Core/Insulation Crimp: Pin B8: 4/4
  • Release Tool/Test Probe: 15315247/J-35616-4A (PU)

Terminal Part Information

  • Terminal: See Terminal Repair Kit
  • Core/Insulation Crimp: See Terminal Repair Kit
  • Release Tool/Test Probe: See Terminal Repair Kit

X305 Body Harness to Passenger Seat Harness (AN3 or HP2 with AG1)

Pin

Wire

Circuit

Function

Pin

Wire

Circuit

Function

A1

1 D-GN

6195

Driver Cooled Cushion Signal High (KB6)

A1

1 D-GN

6195

Driver Cooled Cushion Signal High (KB6)

A2

1 PK

2480

Passenger Heated Seat Cushion Element Control (without KB6)

A2

1 PK

2480

Passenger Heated Seat Cushion Element Control (without KB6)

1 PU

6196

Driver Cooled Cushion Signal Low (KB6)

1 PU

6196

Driver Cooled Cushion Signal Low (KB6)

A3

1 L-BU

2433

Passenger Heated Seat Back Element Control (without KB6)

A3

1 L-BU

2433

Passenger Heated Seat Back Element Control (without KB6)

1 OG

6194

Driver Cooled Back Signal Low (KB6)

1 OG

6194

Driver Cooled Back Signal Low (KB6)

A4

0.35 PK

239

Ignition Voltage (KB6)

A4

0.35 PK

239

Ignition Voltage (KB6)

A5

0.35 OG

1362

Seat Belt Switch - Right - Signal

A5

0.35 OG

1362

Seat Belt Switch - Right - Signal

A6

--

--

Not Used

A6

--

--

Not Used

A7

0.35 GY

2434

Passenger Heated Seat Cushion Temperature Sensor Signal (without KB6)

A7

0.35 GY

2434

Passenger Heated Seat Cushion Temperature Sensor Signal (without KB6)

0.35 YE/BK

2079

Heated Seat Cushion Temperature Sensor Signal (KB6)

0.35 YE/BK

2079

Heated Seat Cushion Temperature Sensor Signal (KB6)

A8

1 D-BU

2479

Passenger Heated Seat Element Control (without KB6)

A8

1 D-BU

2479

Passenger Heated Seat Element Control (without KB6)

1 BN

6193

Driver Cooled Back Signal High (KB6)

1 BN

6193

Driver Cooled Back Signal High (KB6)

A9

3 BK

1250

Ground

A9

3 BK

1250

Ground

A10

0.35 D-GN

5060

Low Speed GMLAN Serial Data

A10

0.35 D-GN

5060

Low Speed GMLAN Serial Data

A11

0.35 D-GN

5906

Driver Seat Vent Motor Control (KB6)

A11

0.35 D-GN

5906

Driver Seat Vent Motor Control (KB6)

A12

0.35 OG

7009

Driver Cushion fan Speed Control (KB6)

A12

0.35 OG

7009

Driver Cushion fan Speed Control (KB6)

A13

0.35 D-GN

5918

Driver Seat Blower Voltage Reference (KB6)

A13

0.35 D-GN

5918

Driver Seat Blower Voltage Reference (KB6)

A14

0.35 GY

5912

Low Reference (KB6)

A14

0.35 GY

5912

Low Reference (KB6)

A15

0.35 TN

7010

Driver Back Fan Speed Control (KB6)

A15

0.35 TN

7010

Driver Back Fan Speed Control (KB6)

B1

--

--

Not Used

B1

--

--

Not Used

B2

0.5 RD/WH

4440

Battery Positive Voltage

B2

0.5 RD/WH

4440

Battery Positive Voltage

B3

0.5 BK/WH

2751

Low Reference

B3

0.5 BK/WH

2751

Low Reference

B4

0.35 PK

2435

Low Reference (without KB6)

B4

0.35 PK

2435

Low Reference (without KB6)

0.35 YE

2080

Low Reference (KB6)

0.35 YE

2080

Low Reference (KB6)

B5

0.35 PK

5057

Low Reference

B5

0.35 PK

5057

Low Reference

B6

0.35 TN

2482

Low Reference (without KB6)

B6

0.35 TN/BK

2482

Low Reference (without KB6)

0.35 PK

2426

Low Reference (KB6)

0.35 PK

2426

Low Reference (KB6)

B7

0.35 TN

2436

Passenger Heated Seat Back Temperature Sensor Signal (without KB6)

B7

0.35 TN

2436

Passenger Heated Seat Back Temperature Sensor Signal (without KB6)

0.35 D-BU

2425

Driver Heated Seat Back Temperature Sensor Signal (KB6)

0.35 D-BU

2425

Driver Heated Seat Back Temperature Sensor Signal (KB6)

B8

3 RD/WH

4740

Battery Positive Voltage (KB6)

B8

3 RD/WH

4740

Battery Positive Voltage (KB6)

B9

3 RD/WH

1440

Battery Positive Voltage

B9

3 RD/WH

1440

Battery Positive Voltage

B10

3 WH

5908

Passenger Seat Vent Motor Control (KB6)

B10

3 WH

5908

Passenger Seat Vent Motor Control (KB6)

B11-B15

--

--

Not Used

B11-B15

--

--

Not Used

X305 Body Harness to Passenger Seat Harness (without AN3 or HP2 with AG1)


Object Number: 655835  Size: CH

Object Number: 542307  Size: CH

Connector Part Information

  • OEM: 15326923
  • Service: 15306174
  • Description: 8-Way F GT 280 Series (BK)

Connector Part Information

  • OEM: 15326928
  • Service: 15306176
  • Description: 8-Way M GT 280 Series (BK)

Terminal Part Information

  • Terminal: 15304711/8
  • Core/Insulation Crimp: E/A
  • Release Tool/Test Probe: 15315247/J-35616-4A (PU)

Terminal Part Information

  • Terminal: See Terminal Repair Kit
  • Core/Insulation Crimp: See Terminal Repair Kit
  • Release Tool/Test Probe: See Terminal Repair Kit

X305 Body Harness to Passenger Seat Harness (without AN3 or HP2 with AG1)

Pin

Wire

Circuit

Function

Pin

Wire

Circuit

Function

A

3 RD/WH

1440

Battery Positive Voltage

A

3 RD/WH

--

Battery Positive Voltage

B

3 BK

1250

Ground

B

3 BK

--

Ground

C

--

--

Not Used

C

--

--

Not Used

D

0.35 PK

5057

Low Reference

D

0.35 PK

--

Low Reference

E

0.35 OG

1362

Seat Belt Switch - Right - Signal

E

0.35 OG

--

Seat Belt Switch - Right - Signal

F

0.35 D-GN

5060

Low Speed GMLAN Serial Data

F

0.35 D-GN

--

Low Speed GMLAN Serial Data

G

0.5 RD/WH

4440

Battery Positive Voltage

G

0.35 RD/WH

--

Battery Positive Voltage

H

0.5 BK/WH

2751

Low Reference

H

0.35 BK/WH

--

Low Reference

X306 Headliner Harness to Right A-Pillar Harness (Z75 with DNU)


Object Number: 813079  Size: CH

Object Number: 813080  Size: CH

Connector Part Information

  • OEM: 15336205
  • Service: 88986267
  • Description: 12-Way F GT 150 280 Series (BK)

Connector Part Information

  • OEM: 15336209
  • Service: 88986259
  • Description: 12-Way M GT 150 280 Series (BK)

Terminal Part Information

  • Pins: A, F, G, M
  • Terminal/Tray: 15304711/8
  • Core/Insulation Crimp: E/A
  • Release Tool/Test Probe: 15315247/J-35616-4A (PU)
  • Pins: B-E, H-L
  • Terminal/Tray: 12191812/19
  • Core/Insulation Crimp: See Terminal Repair Kit
  • Release Tool/Test Probe: See Terminal Repair Kit

Terminal Part Information

  • Pins: A, F, G, M
  • Terminal/Tray: 15304722/8
  • Core/Insulation Crimp: E/C
  • Release Tool/Test Probe: 15315247/J-35616-5 (PU)
  • Pins: B-E, H-L
  • Terminal/Tray: 15304702/19
  • Core/Insulation Crimp: See Terminal Repair Kit
  • Release Tool/Test Probe: See Terminal Repair Kit

X306 Headliner Harness to Right A-Pillar Harness (Z75 with DNU)

Pin

Wire

Circuit

Function

Pin

Wire

Circuit

Function

A

0.35 PK/BK

5844

Video Bright Control

A

0.35 PK/BK

5844

Video Bright Control

0.35 PK/BK

5844

Video Bright Control

B

0.35 WH/BK

5335

DVD Video Signal (-)

B

0.35 WH/BK

5335

DVD Video Signal (-)

C

0.35 BARE

6976

DVD Video Drain Wire

C

0.35 BARE

6976

DVD Video Drain Wire

D

0.35 D-GN

6975

DVD Video Signal (+)

D

0.35 D-GN

6975

DVD Video Signal (+)

E

0.35 L-GN/BK

5845

Video Module Signal

E

0.35 L-GN/BK

5845

Video Module Signal

F

0.5 RD/WH

1540

Battery Positive Voltage

F

0.5 RD/WH

1540

Battery Positive Voltage

0.5 RD/WH

1540

Battery Positive Voltage

G

0.35 BARE

2099

Drain Wire

G

0.35 BARE

2099

Drain Wire

H

0.35 L-GN

7396

DVD Video Signal 2 (+)

H

0.35 L-GN

7396

DVD Video Signal 2 (+)

J

0.35 WH

7394

DVD Video Signal 2 (-)

J

0.35 WH

7394

DVD Video Signal 2 (-)

K

0.35 D-GN/WH

7395

Video Mode 2 Signal

K

0.35 D-GN/WH

7395

Video Mode 2 Signal

L

--

--

Not Used

L

--

--

Not Used

M

0.35 WH

7066

Entertainment Remote Enable Signal

M

0.35 WH

7066

Entertainment Remote Enable Signal

0.35 WH

7066

Entertainment Remote Enable Signal

X306 Headliner Harness to Right A-Pillar Harness (except Z75 with DNU)


Object Number: 646374  Size: CH

Object Number: 1710973  Size: CH

Connector Part Information

  • OEM: 15332145
  • Service: 15306407
  • Description: 8-Way F GT 150 Series (BK)

Connector Part Information

  • OEM: 15332149
  • Service: 19149300
  • Description: 8-Way M GT 150 Series (BK)

Terminal Part Information

  • Terminal: 12191812/19
  • Core/Insulation Crimp: See Terminal Repair Kit
  • Release Tool/Test Probe: See Terminal Repair Kit

Terminal Part Information

  • Terminal: 15304702/19
  • Core/Insulation Crimp: See Terminal Repair Kit
  • Release Tool/Test Probe: See Terminal Repair Kit

X306 Headliner Harness to Right A-Pillar Harness (except Z75 with DNU)

Pin

Wire

Circuit

Function

Pin

Wire

Circuit

Function

A

0.35 PK/BK

5844

Video Bright Control

A

0.35 PK/BK

5844

Video Bright Control

B

0.35 WH/BK

5335

DVD Video Signal (-)

B

0.35 WH/BK

5335

DVD Video Signal (-)

C

0.35 BARE

6976

DVD Video Drain Wire

C

0.35 BARE

6976

DVD Video Drain Wire

D

0.35 D-GN

6975

DVD Video Signal (+)

D

0.35 D-GN

6975

DVD Video Signal (+)

E

0.35 L-GN/BK

5845

Video Module Signal

E

0.35 L-GN/BK

5845

Video Module Signal

F

0.5 RD/WH

1540

Battery Positive Voltage

F

0.5 RD/WH

1540

Battery Positive Voltage

G

--

--

Not Used

G

--

--

Not Used

H

0.35 WH

7066

Entertainment Remote Enable Signal

H

0.35 WH

7066

Entertainment Remote Enable Signal

X307 Body Harness to Right Rear Seat Harness (ARS and/or KA6)


Object Number: 556473  Size: CH

Object Number: 715111  Size: CH

Connector Part Information

  • OEM: 15326924
  • Service: 15306174
  • Description: 8-Way F GT 280 Series (BK)

Connector Part Information

  • OEM: 15332150
  • Service: 88986250
  • Description: 8-Way M GT 280 Series (BK)

Terminal Part Information

  • Terminal/Tray: 12191812/19
  • Core/Insulation Crimp: Pins: A-B, F-G: C/A
  • Core/Insulation Crimp: Pins: D-E, H: E/C
  • Release Tool/Test Probe: 15315247/J-35616-2A (GY)

Terminal Part Information

  • Terminal: See Terminal Repair Kit
  • Core/Insulation Crimp: See Terminal Repair Kit
  • Release Tool/Test Probe: See Terminal Repair Kit

X307 Body Harness to Right Rear Seat Harness (ARS and/or KA6)

Pin

Wire

Circuit

Function

Pin

Wire

Circuit

Function

A

0.8 RD/WH

4840

Battery Positive Voltage

A

0.8 RD/WH

4840

Battery Positive Voltage

B

0.8 BK

1250

Ground

B

0.8 BK

1250

Ground

C

--

--

Not Used

C

--

--

Not Used

D

0.35 OG

2300

Right Rear Heated Seat Sensor Signal (KA6)

D

0.35 OG

2300

Right Rear Heated Seat Sensor Signal (KA6)

E

0.35 WH/BK

2301

Low Reference (KA6)

E

0.35 WH/BK

2301

Low Reference (KA6)

F

1 D-BU

2455

Right Rear Passenger Heated Seat Cushion Element Control (KA6)

F

1 D-BU

2455

Right Rear Passenger Heated Seat Cushion Element Control (KA6)

G

1 BN

2297

Low Reference (KA6)

G

1 BN

2297

Low Reference (KA6)

H

0.35 OG/BK

6810

Right Rear Seat Fold Tumble Signal (ARS)

H

0.35 OG/BK

6810

Right Rear Seat Fold Tumble Signal (ARS)

X308 Body Harness to Left Rear Seat Harness (ARS and/or KA6)


Object Number: 646374  Size: CH

Object Number: 715111  Size: CH

Connector Part Information

  • OEM: 15332145
  • Service: 15306407
  • Description: 8-Way F GT 150 Series (BK)

Connector Part Information

  • OEM: 15332150
  • Service: 88986250
  • Description: 8-Way M GT 150 Series (BK)

Terminal Part Information

  • Terminal/Tray: 12191812/19
  • Core/Insulation Crimp: Pins: A-B, F-G: C/A
  • Core/Insulation Crimp: Pins: D-E, H: E/C
  • Release Tool/Test Probe: 15315247/J-35616-2A (GY)

Terminal Part Information

  • Terminal: See Terminal Repair Kit
  • Core/Insulation Crimp: See Terminal Repair Kit
  • Release Tool/Test Probe: See Terminal Repair Kit

X308 Body Harness to Left Rear Seat Harness (ARS and/or KA6)

Pin

Wire

Circuit

Function

Pin

Wire

Circuit

Function

A

0.8 RD/WH

4840

Battery Positive Voltage

A

0.8 RD/WH

4840

Battery Positive Voltage

B

0.8 BK

1150

Ground

B

0.8 BK

1150

Ground

C

0.35 D-GN

5060

Low Speed GMLAN Serial Data

C

0.35 D-GN

5060

Low Speed GMLAN Serial Data

D

0.35 OG

2300

Right Rear Heated Seat Sensor Signal (KA6)

D

0.35 OG

2300

Right Rear Heated Seat Sensor Signal (KA6)

E

0.35 WH/BK

2301

Low Reference (KA6)

E

0.35 WH/BK

2301

Low Reference (KA6)

F

1 D-BU

2455

Right Rear Passenger Heated Seat Cushion Element Control (KA6)

F

1 D-BU

2455

Right Rear Passenger Heated Seat Cushion Element Control (KA6)

G

1 BN

2297

Low Reference (KA6)

G

1 BN

2297

Low Reference (KA6)

H

0.5 PU

6811

Left Rear Seat Fold Tumble Signal (ARS)

H

0.5 PU

6811

Left Rear Seat Fold Tumble Signal (ARS)

X309 Body Harness to Console Harness (UQS)


Object Number: 646374  Size: CH

Object Number: 715111  Size: CH

Connector Part Information

  • OEM: 15332145
  • Service: 15306407
  • Description: 8-Way F GT 150 Series (BK)

Connector Part Information

  • OEM: 15332150
  • Service: 88986250
  • Description: 8-Way M GT 150 Series (BK)

Terminal Part Information

  • Terminal: 12191812/19
  • Core/Insulation Crimp: C/A
  • Release Tool/Test Probe: 15315247/J-35616-2A (GY)

Terminal Part Information

  • Terminal: 15304702/19
  • Core/Insulation Crimp: 2/4
  • Release Tool/Test Probe: 15315247/J-35616-3 (GY)

X309 Body Harness to Console Harness (UQS)

Pin

Wire

Circuit

Function

Pin

Wire

Circuit

Function

A

0.8 TN

1859

Left Rear Midrange Speaker Output (+)

A

0.8 TN

1859

Left Rear Midrange Speaker Output (+)

B

0.8 WH

1959

Left Rear Midrange Speaker Output (-)

B

0.8 WH

1959

Left Rear Midrange Speaker Output (-)

C

0.8 TN

1855

Right Rear Midrange Speaker Output (+)

C

0.8 TN/WH

1855

Right Rear Midrange Speaker Output (+)

D

0.8 OG

1955

Right Rear Midrange Speaker Output (-)

D

0.8 OG

1955

Right Rear Midrange Speaker Output (-)

E

0.8 BN

199

Left Rear Speaker Output (+)

E

0.8 BN

199

Left Rear Speaker Output (+)

F

0.8 YE

116

Left Rear Speaker Output (-)

F

0.8 YE

116

Left Rear Speaker Output (-)

G

0.8 D-BU

46

Right Rear Speaker Output (+)

G

0.8 D-BU

46

Right Rear Speaker Output (+)

H

0.8 L-BU

115

Right Rear Speaker Output (-)

H

0.8 L-BU

115

Right Rear Speaker Output (-)

X310 Body Harness to Chassis Harness (UD7 with UVC, without E52 or TB7)


Object Number: 831372  Size: CH

Object Number: 831369  Size: CH

Connector Part Information

  • OEM: 15326849
  • Service: 88986260
  • Description: 12-Way F GT 150 Series Sealed (BK)

Connector Part Information

  • OEM: 15326854
  • Service: 88986252
  • Description: 12-Way M GT 150 Series Sealed (BK)

Terminal Part Information

  • Terminal: 12191819/8
  • Core/Insulation Crimp: E/A
  • Release Tool/Test Probe: 15315247/J-35616-2A (GY)

Terminal Part Information

  • Terminal: 15326269/19
  • Core/Insulation Crimp: E/4
  • Release Tool/Test Probe: 15315247/J-35616-3 (GY)

X310 Body Harness to Chassis Harness (UD7 with UVC, without E52 or TB7)

Pin

Wire

Circuit

Function

Pin

Wire

Circuit

Function

A

0.5 D-BU

2374

Object Sensor Control

A

0.5 D-BU

2374

Object Sensor Control

B

0.5 YE

2375

Left Rear Corner Object Sensor Signal

B

0.5 YE

2375

Left Rear Corner Object Sensor Signal

C

0.5 GY

2379

Low Reference

C

0.5 GY

2379

Low Reference

D

0.5 OG

2376

Left Rear Middle Object Sensor Signal

D

0.5 OG

2376

Left Rear Middle Object Sensor Signal

E

0.5 D-GN

2377

Right Rear Middle Object Sensor Signal

E

0.5 D-GN

2377

Right Rear Middle Object Sensor Signal

F

0.5 PU

2378

Right Rear Corner Object Sensor Signal

F

0.5 PU

2378

Right Rear Corner Object Sensor Signal

G

0.35 GY

6799

Drain Wire

G

0.5 GY

6799

Drain Wire

H

0.35 WH

7641

Camera Signal (+)

H

0.5 WH

7641

Camera Signal (+)

J

0.35 D-BU

7642

Camera Signal (-)

J

0.5 D-BU

7642

Camera Signal (-)

K

0.35 PK

239

Ignition Voltage

K

0.5 PK

239

Ignition Voltage

L

0.35 BK/WH

2751

Ground

L

0.5 BK/WH

2751

Ground

M

0.35 D-BU

38

Backup Lamp Signal

M

0.5 D-BU

38

Backup Lamp Signal

X310 Body Harness to Chassis Harness (UD7 without UVC, without E52 or TB7)


Object Number: 632344  Size: CH

Object Number: 632342  Size: CH

Connector Part Information

  • OEM: 15326842
  • Service: 15326842
  • Description: 10-Way F GT 150 Series Sealed (BK)

Connector Part Information

  • OEM: 15326847
  • Service: 15326847
  • Description: 10-Way M GT 150 Series Sealed (BK)

Terminal Part Information

  • Terminal: 12191819/8
  • Core/Insulation Crimp: See Terminal Repair Kit
  • Release Tool/Test Probe: See Terminal Repair Kit

Terminal Part Information

  • Terminal: 15326269/19
  • Core/Insulation Crimp: E/4
  • Release Tool/Test Probe: 15315247/J-35616-3 (GY)

X310 Body Harness to Chassis Harness (UD7 without UVC, without E52 or TB7)

Pin

Wire

Circuit

Function

Pin

Wire

Circuit

Function

A

0.5 D-BU

2374

Object Sensor Control

A

0.5 D-BU

2374

Object Sensor Control

B

0.5 YE

2375

Left Rear Corner Object Sensor Signal

B

0.5 YE

2375

Left Rear Corner Object Sensor Signal

C

0.5 GY

2379

Low Reference

C

0.5 GY

2379

Low Reference

D

0.5 OG

2376

Left Rear Middle Object Sensor Signal

D

0.5 OG

2376

Left Rear Middle Object Sensor Signal

E

0.5 D-GN

2377

Right Rear Middle Object Sensor Signal

E

0.5 D-GN

2377

Right Rear Middle Object Sensor Signal

F

0.5 PU

2378

Right Rear Corner Object Sensor Signal

F

0.5 PU

2378

Right Rear Corner Object Sensor Signal

G

0.35 GY

7069

Camera Shield Extension

G

0.5 GY

7069

Camera Shield Extension

H

0.35 OG

6201

Camera Control

H

0.5 OG

6201

Camera Control

J

0.35 TN/BK

6202

Camera Ground

J

0.5 TN/BK

6202

Camera Ground

K

0.35 WH

6798

Camera Video Signal

K

0.5 WH

6798

Camera Video Signal

X311 Ctrsail Harness to Body Harness (without E52)


Object Number: 698669  Size: CH

Object Number: 698671  Size: CH

Connector Part Information

  • OEM: 15326886
  • Service: 88988300
  • Description: 4-Way F GT 280 Series (BK)

Connector Part Information

  • OEM: 15326890
  • Service: 88953361
  • Description: 4-Way M GT 280 Series (BK)

Terminal Part Information

  • Terminal: See Terminal Repair Kit
  • Core/Insulation Crimp: See Terminal Repair Kit
  • Release Tool/Test Probe: See Terminal Repair Kit

Terminal Part Information

  • Pins: A, C, D
  • Terminal/Tray: 15304722/8
  • Core/Insulation Crimp: E/C
  • Release Tool/Test Probe: 15315247/J-35616-5 (PU)
  • Pins: B, D
  • Terminal/Tray: 15304724/8
  • Core/Insulation Crimp: 2/A
  • Release Tool/Test Probe: 15315247/J-35616-5 (PU)

X311 Ctrsail Harness to Body Harness (without E52)

Pin

Wire

Circuit

Function

Pin

Wire

Circuit

Function

A

1 PK

157

Interior Lamp Control

A

0.5 GY

157

Interior Lamp Control

B

1 D-BU/WH

1150

Ground

B

0.8 BK

1150

Ground

C

0.5 L-BU

1320

CHMSL Control

C

0.5 L-BU

1320

CHMSL Control

D

0.5 BK

1250

Ground

D

0.5 BK

1250

Ground

X313 Sunroof Harness (CF5) or Overhead Console Harness (TRW) to Right A-Pillar Harness


Object Number: 1333948  Size: CH

Object Number: 1385122  Size: CH

Connector Part Information

  • OEM: 15326893
  • Service: 89046647
  • Description: 5-Way F GT 280 Series (BK)

Connector Part Information

  • OEM: 15326897
  • Service: 88987846
  • Description: 5-Way M GT 280 Series (BK)

Terminal Part Information

  • Terminal: See Terminal Repair Kit
  • Core/Insulation Crimp: See Terminal Repair Kit
  • Release Tool/Test Probe: See Terminal Repair Kit

Terminal Part Information

  • Pins: A, E
  • Terminal/Tray: 15304724/8
  • Core/Insulation Crimp: C/D
  • Release Tool/Test Probe: 15315247/J-35616-5 (PU)
  • Pins: B-D
  • Terminal/Tray: 15304722/8
  • Core/Insulation Crimp: E/C
  • Release Tool/Test Probe: 15315247/J-35616-5 (PU)

X313 Sunroof Harness (CF5) or Overhead Console Harness (TRW) to Right A-Pillar Harness

Pin

Wire

Circuit

Function

Pin

Wire

Circuit

Function

A

2 RD/WH

3140

Battery Positive Voltage

A

2 RD/WH

3140

Battery Positive Voltage

B

0.5 YE

43

Ignition Voltage (CF5)

B

0.5 YE

43

Ignition Voltage (CF5 except EXP)

0.5 OG

300

Ignition Voltage (EXP with CF5)

C

0.5 BN/WH

230

Instrument Panel Lamp Dimming Control (CF5)

C

0.35 BN/WH

230

Instrument Panel Lamp Dimming Control (CF5)

D

0.35 WH

5429

Ignition Voltage (CF5)

D

0.35 WH

43

Ignition Voltage (EXP with CF5)

E

2 BK

1050

Ground (CF5)

E

2 BK

1050

Ground (CF5)

3 BK

1050

Ground (TRW)

3 BK

1050

Ground (TRW)

X319 Body Harness to AC Outlet Jumper Harness (HP2)


Object Number: 82383  Size: CH

Object Number: 1715227  Size: CH

Connector Part Information

  • OEM: 12047662
  • Service: 12085535
  • Description: 2-Way F Metri-Pack 150 Series (BK)

Connector Part Information

  • OEM: 12047663
  • Service: 12985481
  • Description: 2-Way M Metri-Pack 150 Series (BK)

Terminal Part Information

  • Terminal/Tray: 12064971/5
  • Core/Insulation Crimp: E/C
  • Release Tool/Test Probe: 12094429/J-35616-14 (GN)

Terminal Part Information

  • Terminal/Tray: See Terminal Repair Kit
  • Core/Insulation Crimp: See Terminal Repair Kit
  • Release Tool/Test Probe: See Terminal Repair Kit

X319 Body Harness to AC Outlet Jumper Harness (HP2)

Pin

Wire

Circuit

Function

Pin

Wire

Circuit

Function

A

0.5 BN

241

Ignition Voltage

A

0.5 BN

241

Ignition Voltage

B

--

--

Not Used

B

--

--

Not Used

X320 Body Harness to Console Harness (AZ3 or A95)


Object Number: 695495  Size: CH

Object Number: 646366  Size: CH

Connector Part Information

  • OEM: 15326870
  • Service: 88953160
  • Description: 2-Way F GT 280Series (BK)

Connector Part Information

  • OEM: 15326874
  • Service: 15306379
  • Description: 2-Way M 280 Series (BK)

Terminal Part Information

  • Terminal: 15304711/8
  • Core/Insulation Crimp: 2/A
  • Release Tool/Test Probe: 15315247/J-35616-4A (PU)

Terminal Part Information

  • Terminal: 15304724/8
  • Core/Insulation Crimp: 2/A
  • Release Tool/Test Probe: 15315247/J-35616-5 (PU)

X320 Body Harness to Console Harness (AZ3 or A95)

Pin

Wire

Circuit

Function

Pin

Wire

Circuit

Function

A

0.8 RD/WH

6040

Battery Positive Voltage

A

0.8 RD/WH

6040

Battery Positive Voltage

B

0.8 BK

1250

Ground

B

0.8 BK

1250

Ground

X321 Cargo Box Jumper Harness to Ctrsail Harness (without E52)


Object Number: 523630  Size: CH

Object Number: 632349  Size: CH

Connector Part Information

  • OEM: 15326801
  • Service: 15306156
  • Description: 2-Way F GT 150 Series Sealed (BK)

Connector Part Information

  • OEM: 15326806
  • Service: 15306166
  • Description: 2-Way M GT 150 Series Sealed (BK)

Terminal Part Information

  • Terminal: See Terminal Repair Kit
  • Core/Insulation Crimp: See Terminal Repair Kit
  • Release Tool/Test Probe: See Terminal Repair Kit

Terminal Part Information

  • Terminal/Tray: See Terminal Repair Kit
  • Core/Insulation Crimp: See Terminal Repair Kit
  • Release Tool/Test Probe: See Terminal Repair Kit

X321 Cargo Box Jumper Harness to Ctrsail Harness (without E52)

Pin

Wire

Circuit

Function

Pin

Wire

Circuit

Function

A

1 GY

157

Cargo Lamp Feed

A

1 GY

157

Cargo Lamp Feed

B

1 BK

1150

Ground

B

1 BK

1150

Ground

X322 Body Harness to Headliner Harness (UVC without UVB, E52 or TB7)


Object Number: 646384  Size: CH

Object Number: 646388  Size: CH

Connector Part Information

  • OEM: 15332153
  • Service: 88986440
  • Description: 10-Way F GT 150 Series (BK)

Connector Part Information

  • OEM: 15332158
  • Service: 88953270
  • Description: 10-Way M GT 150 Series (BK)

Terminal Part Information

  • Terminal: 12191812/19
  • Core/Insulation Crimp: E/C
  • Release Tool/Test Probe: 15315247/J-35616-2A (GY)

Terminal Part Information

  • Terminal: 15304702/19
  • Core/Insulation Crimp: E/C
  • Release Tool/Test Probe: 15315247/J-35616-3 (GY)

X322 Body Harness to Headliner Harness (UVC without UVB, E52 or TB7)

Pin

Wire

Circuit

Function

Pin

Wire

Circuit

Function

A-D

--

--

Not Used

A-D

--

--

Not Used

E

0.35 WH

7641

Camera Video Signal (+)

E

0.35 WH

7641

Camera Video Signal (+)

F-H

--

--

Not Used

F-H

--

--

Not Used

J

0.5 BARE

6799

Drain Wire

J

0.5 BARE

6799

Drain Wire

K

0.35 D-BU

7642

Camera Video Signal (-)

K

0.35 D-BU

7642

Camera Video Signal (-)

X323 Body Harness to Driver Seat Harness (N48)


Object Number: 831380  Size: CH

Object Number: 1464340  Size: CH

Connector Part Information

  • OEM: 15332141
  • Service: 88986249
  • Description: 6-Way F GT 150 Series (BK)

Connector Part Information

  • OEM: 15332142
  • Service: 89046638
  • Description: 6-Way M GT 150 Series (BK)

Terminal Part Information

  • Terminal: 12191812/19
  • Core/Insulation Crimp: Pins A-C: E/C
  • Core/Insulation Crimp: Pins E-F: C/A
  • Release Tool/Test Probe: 15315247/J-35616-2A (GY)

Terminal Part Information

  • Terminal: See Terminal Repair Kit
  • Core/Insulation Crimp: See Terminal Repair Kit
  • Release Tool/Test Probe: See Terminal Repair Kit

X323 Body Harness to Driver Seat Harness (N48)

Pin

Wire

Circuit

Function

Pin

Wire

Circuit

Function

A

0.35 GY

2096

Steering Column Titl Up Signal

A

0.35 GY

2096

Steering Column Titl Up Signal

B

0.35 YE

2097

Steering Column Tilt Down Switch

B

0.35 YE

2097

Steering Column Tilt Down Switch

C

0.5 OG

2154

Steering Column Actuator Position Sensor Signal

C

0.35 WH

7641

Steering Column Actuator Position Sensor Signal

D

--

--

Not Used

D

--

--

Not Used

E

1 BN

2112

Steering Column Tilt Actuator Up Control

E

0.5 BARE

6799

Steering Column Tilt Actuator Up Control

F

1 PK

2111

Steering Column Tilt Actuator Down Control

F

0.35 D-BU

7642

Steering Column Tilt Actuator Down Control

X350 Body Harness to Drive Motor Generator Battery Control Harness (HP2)


Object Number: 2001237  Size: CH

Object Number: 2001238  Size: CH

Connector Part Information

  • OEM: 13609515
  • Service: See Catalog
  • Description: 18-Way F 1.5 Series, Sealed (BK)

Connector Part Information

  • OEM: 7282-6493-30
  • Service: See Catalog
  • Description: 18-Way M (BK)

Terminal Part Information

  • Terminal/Tray: 7116-4102-08/9
  • Core/Insulation Crimp: E/1
  • Release Tool/Test Probe: 12094430/J-35616-2A (GY)

Terminal Part Information

  • Terminal/Tray: See Terminal Repair Kit
  • Core/Insulation Crimp: See Terminal Repair Kit
  • Release Tool/Test Probe: See Terminal Repair Kit

X350 Body Harness to Drive Motor Generator Battery Control Harness (HP2)

Pin

Wire

Circuit

Function

Pin

Wire

Circuit

Function

1

1 RD/WH

4240

Battery Positive Voltage

1

PU

--

Battery Positive Voltage

2

0.8 L-BU

5986

Serial Data Communication Enable

2

GY

--

Serial Data Communication Enable

3

--

--

Not Used

3

--

--

Not Used

4

0.35 PU

5087

High Voltage Interlock Circuit Source

4

L-GN

--

High Voltage Interlock Circuit Source

5

--

--

Not Used

5

--

--

Not Used

6

0.5 TN

2501

High Speed GMLAN Serial Data Bus +

6

RD

--

High Speed GMLAN Serial Data Bus +

7

0.5 TN

2501

High Speed GMLAN Serial Data Bus +

7

BK

--

High Speed GMLAN Serial Data Bus +

8

--

--

Not Used

8

D-GN/WH

--

Not Used

9

0.8 BK/WH

2751

Ground

9

BK/WH

--

Ground

10

0.5 PK

968

Wake Up Signal

10

D-GN/BN

--

Wake Up Signal

11

0.8 PK

739

Battery Positive Voltage

11

RD/WH

--

Battery Positive Voltage

12

0.35 YE

5690

High Voltage Interlock Circuit Return

12

PK

--

High Voltage Interlock Circuit Return

13

0.8 PK

988

Contactor Control Signal

13

BN

--

Contactor Control Signal

14

--

--

Not Used

14

--

--

Not Used

15

0.5 TN/BK

2500

High Speed GMLAN Serial Data Bus -

15

D-GN

--

High Speed GMLAN Serial Data Bus -

16

0.5 TN/BK

2500

High Speed GMLAN Serial Data Bus -

16

WH

--

High Speed GMLAN Serial Data Bus -

17

--

--

Not Used

17

D-GN/YE

--

Not Used

18

0.8 BK/WH

2751

Ground

18

BK

--

Ground

X400 Chassis Harness to Compressor Harness (Z55)


Object Number: 646372  Size: CH

Object Number: 847234  Size: CH

Connector Part Information

  • OEM: 15326654
  • Service: 88986254
  • Description: 8-Way F GT 280 Series Sealed (BK)

Connector Part Information

  • OEM: 15326655
  • Service: 15306424
  • Description: 8-Way M GT 280 Series Sealed (BK)

Terminal Part Information

  • Pins: A, C, F, H
  • Terminal/Tray: 15304719/19
  • Core/Insulation Crimp: E/5
  • Release Tool/Test Probe: 15315247/J-35616-4A (PU)
  • Pins: B, E, G
  • Terminal/Tray: 15304720/19
  • Core/Insulation Crimp: 4/5
  • Release Tool/Test Probe: 15315247/J-35616-4A (PU)

Terminal Part Information

  • Terminal/Tray: See Terminal Repair Kit
  • Core/Insulation Crimp See Terminal Repair Kit
  • Release Tool/Test Probe: See Terminal Repair Kit

X400 Chassis Harness to Compressor Harness (Z55)

Pin

Wire

Circuit

Function

Pin

Wire

Circuit

Function

A

0.5 TN

6075

Real Time Damping Pressure Sensor Signal

A

0.5 TN

6075

Real Time Damping Pressure Sensor Signal

B

3 RD/WH

2440

Battery Positive Voltage

B

3 RD/WH

2440

Battery Positive Voltage

C

0.5 WH

320

Automatic Level Control Exhaust Solenoid Control

C

0.5 WH

320

Automatic Level Control Exhaust Solenoid Control

D

--

--

Not Used

D

--

--

Not Used

E

3 L-BU

2248

Automatic Level Control Compressor Relay Control

E

3 L-BU

2248

Automatic Level Control Compressor Relay Control

F

0.5 BN

6077

Low Reference

F

0.5 BN

6077

Low Reference

G

3 BK

1750

Ground

G

3 BK

1750

Ground

H

0.5 GY

6076

5-Volt Reference

H

0.5 GY

6076

5-Volt Reference

X403 Headliner Harness to Body Harness (E52)


Object Number: 813079  Size: CH

Object Number: 813080  Size: CH

Connector Part Information

  • OEM: 15336205
  • Service: 88986267
  • Description: 12-Way F GT 150 280 Series (BK)

Connector Part Information

  • OEM: 15336209
  • Service: 88986259
  • Description: 12-Way M GT 150 280 Series (BK)

Terminal Part Information

  • Pins: A, F-G, M
  • Terminal/Tray: 15304711/8
  • Core/Insulation Crimp: E/A
  • Release Tool/Test Probe: 15315247/J-35616-4A (PU)
  • Pins: B-E, H-L
  • Terminal/Tray: 12191811/3
  • Core/Insulation Crimp: See Terminal Repair Kit
  • Release Tool/Test Probe: See Terminal Repair Kit

Terminal Part Information

  • Pins: A, M
  • Terminal/Tray: 15304722/8
  • Core/Insulation Crimp: E/C
  • Release Tool/Test Probe: 15315247/J-35616-5 (PU)
  • Pins: B-L
  • Terminal/Tray: 15304702/19
  • Core/Insulation Crimp: E/C
  • Release Tool/Test Probe: 15315247/J-35616-3 (GY)

X403 Headliner Harness to Body Harness (E52)

Pin

Wire

Circuit

Function

Pin

Wire

Circuit

Function

A

0.35 GY

597

5-Volt Reference (CJ3 with C69)

A

0.35 GY

597

5-Volt Reference (CJ3 with C69)

B

0.35 D-GN

6112

Power Liftgate On/Off Switch Signal (E61)

B

0.35 D-GN

6112

Power Liftgate On/Off Switch Signal (E61)

C

0.35 PU/WH

760

Auxiliary Blower Motor Speed Control (CJ3 with C69)

C

0.35 PU/WH

760

Auxiliary Blower Motor Speed Control (CJ3 with C69)

D

0.35 YE

2214

Auxiliary Air Temperature Door Control (CJ3 with C69)

D

0.35 YE

2214

Auxiliary Air Temperature Door Control (CJ3 with C69)

E

0.35 OG

2615

Auxiliary Mode Door Control (CJ3 with C69)

E

0.35 OG

2615

Auxiliary Mode Door Control (CJ3 with C69)

F

0.5 OG/BK

6810

Right Rear Seat Fold Tumble Signal (ARS)

F

0.5 OG/BK

6810

Right Rear Seat Fold Tumble Signal (ARS)

0.5 OG/BK

6810

Right Rear Seat Fold Tumble Signal (ARS)

G

0.5 PU

6811

Left Rear Seat Fold Tumble Signal (ARS)

G

0.5 PU

6811

Left Rear Seat Fold Tumble Signal (ARS)

0.5 PU

6811

Left Rear Seat Fold Tumble Signal (ARS)

H

0.35 BN

5516

Inside Air Temperature Sensor Assembly Control (CJ2 with C69)

H

0.35 BN

5516

Inside Air Temperature Sensor Assembly Control

J

0.35 D-GN/WH

5800

Front Liftgate Open/Close Switch Signal (E61)

J

0.35 D-GN/WH

5800

Front Liftgate Open/Close Switch Signal (E61)

K

0.35 BN

404

Upper Air Temperature Sensor Signal (CJ2 with C69)

K

0.35 BN

404

Upper Air Temperature Sensor Signal

L

0.35 D-GN/BK

5518

Auxiliary Inside Air Temperature Sensor Signal (CJ2 with C69)

L

0.35 D-GN

5518

Auxiliary Inside Air Temperature Sensor Signal

M

0.35 D-GN

6101

Low Reference (CJ2 with C69)

M

0.35 D-GN

6101

Low Reference

X404 CHMSL Jumper Harness to Body Harness (E52)


Object Number: 82383  Size: CH

Object Number: 35441  Size: CH

Connector Part Information

  • OEM: 12047662
  • Service: 12085535
  • Description: 2-Way F Metri-Pack 150 Series (BK)

Connector Part Information

  • OEM: 12047663
  • Service: 12085481
  • Description: 2-Way M Metri-Pack 150 Series (BK)

Terminal Part Information

  • Terminal: See Terminal Repair Kit
  • Core/Insulation Crimp: See Terminal Repair Kit
  • Release Tool/Test Probe: See Terminal Repair Kit

Terminal Part Information

  • Terminal/Tray: 12047581/2
  • Core/Insulation Crimp: E/C
  • Release Tool/Test Probe: 12094429/J-35616-3 (GY)

X404 CHMSL Jumper Harness to Body Harness (E52)

Pin

Wire

Circuit

Function

Pin

Wire

Circuit

Function

A

0.5 L-BU

1320

CHMSL Control

A

0.5 L-BU

1320

CHMSL Control

B

0.5 BK

1450

Ground

B

0.5 BK

1450

Ground

X405 Liftgate Harness to Body Harness (E52)


Object Number: 655774  Size: CH

Object Number: 655773  Size: CH

Connector Part Information

  • OEM: 15317325
  • Service: 15317325
  • Description: 22-Way F GT 150 280 Series (L-GY)

Connector Part Information

  • OEM: 15317322
  • Service: 15317322
  • Description: 22-Way M GT 150 280 Series (L-GY)

Terminal Part Information

  • Pins: A1-A3, A9-A11, B1-B2, B9-B11
  • Terminal/Tray: 12191812/19
  • Core/Insulation Crimp: Pins: A1-A3, A9-A11, B1-B2, B9 (with E61): E/C
  • Core/Insulation Crimp: Pin B9 (without E61): C/A
  • Release Tool/Test Probe: 15315247/J-35616-2A (GY)
  • Pins: A4, A8, B4, B7-B8
  • Terminal/Tray: 15304711/8
  • Core/Insulation Crimp: E/A
  • Release Tool/Test Probe: 15315247/J-35616-4A (PU)
  • Pins: A5-A7, B5-B6
  • Terminal/Tray: 15304713/19
  • Core/Insulation Crimp: Pins A5, A7, B5: 4/4
  • Core/Insulation Crimp: Pins A6, B6: F/D
  • Release Tool/Test Probe: 15315247/J-35616-4A (PU)

Terminal Part Information

  • Pins: A1-A3, A9-A11, B1-B2, B9-B11
  • Terminal/Tray: 15304702/19
  • Core/Insulation Crimp: Pins: A1-A3, A9-A11, B1-B2, B9-B11: E/C
  • Core/Insulation Crimp: Pin B9: 2/4
  • Release Tool/Test Probe: 15315247/J-35616-3 (GY)
  • Pins: A4, A8, B4, B7-B8
  • Terminal/Tray: 15304722/8
  • Core/Insulation Crimp: E/C
  • Release Tool/Test Probe: 15315247/J-35616-5 (PU)
  • Pins: A5-A7, B5-B6
  • Terminal/Tray: 15304724/8
  • Core/Insulation Crimp: Pins A5, A7, B5: C/D
  • Core/Insulation Crimp: Pins A6, B6: A/D
  • Release Tool/Test Probe: 15315247/J-35616-5 (PU)

X405 Liftgate Harness to Body Harness (E52)

Pin

Wire

Circuit

Function

Pin

Wire

Circuit

Function

A1

0.35 PU

2279

Liftglass Ajar Switch Signal (E61)

A1

0.35 PU

2279

Liftglass Ajar Switch Signal (E61)

A2

0.35 PK

6190

Liftglass/Trunk Exterior Release Signal (E52)

A2

0.35 PK

6190

Liftglass/Trunk Exterior Release Signal (E52)

A3

0.35 PU/WH

5801

Low Reference

A3

0.35 PU/WH

5801

Low Reference

A4

0.5 BN

2509

Left Rear Park Lamps Control

A4

0.5 BN

2509

Left Rear Park Lamps Control

A5

2 BN

5790

Liftgate Cinch Latch Motor Open Control (E61)

A5

2 BN

5790

Liftgate Cinch Latch Motor Open Control (E61)

A6

3 PU

293

Rear Defog Element Control

A6

3 PU

293

Rear Defog Element Control

A7

2 L-BU

5791

Liftgate Cinch Latch Motor Close Control (E61)

A7

2 L-BU

5791

Liftgate Cinch Latch Motor Close Control (E61)

A8

0.35 PK/BK

1303

Liftgate Ajar Switch Signal

A8

0.35 PK/BK

1303

Liftgate Ajar Switch Signal

A9

0.35 WH/BK

6126

Liftgate Object Sensor 2 Signal (E61)

A9

0.35 WH/BK

6126

Liftgate Object Sensor 2 Signal (E61)

 
 

A10-A11

--

--

Not Used

A10-A11

--

--

Not Used

B1

0.35 GY

391

Rear Window Wiper Switch Signal

B1

0.35 GY

391

Rear Window Wiper Switch Signal

B2

0.35 TN

6188

Liftglass/Trunk Motor Release Control

B2

0.35 TN

6188

Liftglass/Trunk Motor Release Control

B3

--

--

Not Used

B3

--

--

Not Used

B4

0.35 D-GN

5512

Latch Sector Switch Signal

B4

0.35 D-GN

5512

Latch Sector Switch Signal

B5

2 RD/WH

2040

Battery Positive Voltage

B5

2 RD/WH

2040

Battery Positive Voltage

B6

3 BK

1450

Ground

B6

3 BK

1450

Ground

B7

0.35 GY

7000

Latch Pawl Switch Signal (E61)

B7

0.35 GY

7000

Latch Pawl Switch Signal (E61)

B8

0.35 GY

5797

Rear Closure Handle Switch Open Signal

B8

0.35 GY

5797

Rear Closure Handle Switch Open Signal

0.35 GY

5797

Rear Closure Handle Switch Open Signal (E61)

B9

0.35 PK/BK

6000

Latch Ratchet Switch Signal (E61)

B9

0.35 PK/BK

6000

Latch Ratchet Switch Signal (E61)

1 L-BU

6128

Rear Closure Unlatch Motor Unlatch Control (without E61)

1 L-BU

6128

Rear Closure Unlatch Motor Unlatch Control (without E61)

B10-B11

--

--

Not Used

B10-B11

--

--

Not Used

X406 Dome Lamp Jumper Harness to Body Harness (LWB with E52)


Object Number: 333035  Size: CH

Object Number: 287973  Size: CH

Connector Part Information

  • OEM: 12047781
  • Service: 12101864
  • Description: 3-Way F Metri-Pack 150 Series (BK)

Connector Part Information

  • OEM: 12047782
  • Service: 12117371
  • Description: 3-Way M Metri-Pack 150 Series (BK)

Terminal Part Information

  • Terminal: See Terminal Repair Kit
  • Core/Insulation Crimp: See Terminal Repair Kit
  • Release Tool/Test Probe: See Terminal Repair Kit

Terminal Part Information

  • Terminal: 12047581/2
  • Core/Insulation Crimp: See Terminal Repair Kit
  • Release Tool/Test Probe: See Terminal Repair Kit

X406 Dome Lamp Jumper Harness to Body Harness (LWB with E52)

Pin

Wire

Circuit

Function

Pin

Wire

Circuit

Function

A

0.5 BK

1450

Ground

A

0.35 BK

1450

Ground

B

0.5 GY

157

Interior Lamp Control

B

0.5 GY

157

Interior Lamp Control

C

--

--

Not Used

C

--

--

Not Used

X407 Auxiliary HVAC Harness to Body Harness (LWB with C69)


Object Number: 813079  Size: CH

Object Number: 813080  Size: CH

Connector Part Information

  • OEM: 15336205
  • Service: 88986267
  • Description: 12-Way F GT 150 280 Series (BK)

Connector Part Information

  • OEM: 15336209
  • Service: 88986259
  • Description: 12-Way M GT 150 280 Series (BK)

Terminal Part Information

  • Pins: B-E, H-L
  • Terminal/Tray: 12191812/19
  • Core/Insulation Crimp: See Terminal Repair Kit
  • Release Tool/Test Probe: See Terminal Repair Kit
  • Pins: A
  • Terminal/Tray: 15304713/19
  • Core/Insulation Crimp: F/D
  • Release Tool/Test Probe: 15315247/J-35616-4A (PU)
  • Pins: F-G, M
  • Terminal/Tray: 15304711/8
  • Core/Insulation Crimp: E/A
  • Release Tool/Test Probe: 15315247/J-35616-4A (PU)

Terminal Part Information

  • Pins: B-E, H-L
  • Terminal/Tray: 15304702/19
  • Core/Insulation Crimp: E/C
  • Release Tool/Test Probe: 15315247/J-35616-3 (GY)
  • Pins: A
  • Terminal/Tray: 15304724/8
  • Core/Insulation Crimp: A/D
  • Release Tool/Test Probe: 15315247/J-35616-5 (PU)
  • Pins: F-G, M
  • Terminal/Tray: 15304722/8
  • Core/Insulation Crimp: E/C
  • Release Tool/Test Probe: 15315247/J-35616-5 (PU)

X407 Auxiliary HVAC Harness to Body Harness (LWB with C69)

Pin

Wire

Circuit

Function

Pin

Wire

Circuit

Function

A

3 RD/WH

1740

Battery Positive Voltage

A

3 BK

1740

Battery Positive Voltage

B

0.35 OG

2215

Auxiliary Mode Door Control

B

0.35 WH

2215

Auxiliary Mode Door Control

C

0.35 GY

2614

Auxiliary Air Temperature Door Control

C

0.35 GY

2614

Auxiliary Air Temperature Door Control

D

--

--

Not Used

D

--

--

Not Used

E

0.35 GY

2599

Auxiliary Mode Door Control

E

0.35 GY

2599

Auxiliary Mode Door Control

F

0.35 GY

596

5-Volt Reference

F

0.35 GY

596

5-Volt Reference

0.35 GY

596

5-Volt Reference

G

0.35 GY/BK

1798

Ground

G

0.35 GY/BK

1798

Ground

0.35 YE

1798

Ground

H

0.35 PK

2145

Air Temperature Switch Signal - Right

H

0.35 D-BU

2145

Air Temperature Switch Signal - Right

J

0.35 D-GN

2211

Auxiliary Blower Motor Speed Control

J

0.35 PU

2211

Auxiliary Blower Motor Speed Control

K

0.35 L-GN

405

Lower Air Temperature Sensor Signal

K

0.35 L-GN

405

Lower Air Temperature Sensor Signal

L

0.35 D-GN

6101

Low Reference

L

0.35 BK

6101

Low Reference

M

0.35 PK

1639

Ignition Voltage

M

0.35 BN

1639

Ignition Voltage

0.35 BN

1639

Ignition Voltage

X407 Body Harness to Auxiliary HVAC Harness (SWB with C69)


Object Number: 813079  Size: CH

Object Number: 813080  Size: CH

Connector Part Information

  • OEM: 15336205
  • Service: 88986267
  • Description: 12-Way F GT 150 280 Series (BK)

Connector Part Information

  • OEM: 15336209
  • Service: 88986259
  • Description: 12-Way M GT 150 280 Series (BK)

Terminal Part Information

  • Pins: A
  • Terminal/Tray: 15304713/19
  • Core/Insulation Crimp: F/D
  • Release Tool/Test Probe: 15315247/J-35616-4A (PU)
  • Pins: B-E, H-L
  • Terminal/Tray: 12191812/19
  • Core/Insulation Crimp: See Terminal Repair Kit
  • Release Tool/Test Probe: See Terminal Repair Kit
  • Pins: F-G, M
  • Terminal/Tray: 15304711/8
  • Core/Insulation Crimp: E/A
  • Release Tool/Test Probe: 15315247/J-35616-4A (PU)

Terminal Part Information

  • Pins: A
  • Terminal/Tray: 15304713/19
  • Core/Insulation Crimp: F/D
  • Release Tool/Test Probe: 15315247/J-35616-4A (PU)
  • Pins: B-E, H-L
  • Terminal/Tray: 12191812/19
  • Core/Insulation Crimp: See Terminal Repair Kit
  • Release Tool/Test Probe: See Terminal Repair Kit
  • Pins: F-G, M
  • Terminal/Tray: 15304711/8
  • Core/Insulation Crimp: E/A
  • Release Tool/Test Probe: 15315247/J-35616-4A (PU)

X407 Body Harness to Auxiliary HVAC Harness (SWB with C69)

Pin

Wire

Circuit

Function

Pin

Wire

Circuit

Function

A

3 RD/WH

1740

Battery Positive Voltage

A

3 RD/WH

1740

Battery Positive Voltage

B

0.35 OG

2215

Auxiliary Mode Door Control

B

0.35 OG

2215

Auxiliary Mode Door Control

C

0.35 GY

2614

Auxiliary Air Temperature Door Control

C

0.35 GY

2614

Auxiliary Air Temperature Door Control

D

--

--

Not Used

D

--

--

Not Used

E

0.35 GY

2599

Auxiliary Mode Door Control

E

0.35 GY

2599

Auxiliary Mode Door Control

F

0.35 GY

596

5-Volt Reference

F

0.35 GY

596

5-Volt Reference

0.35 GY

596

5-Volt Reference

G

0.35 GY/BK

1798

Ground

G

0.35 GY/BK

1798

Ground

0.35 GY/BK

1798

Ground

H

0.35 PK

2145

Air Temperature Switch Signal - Right

H

0.35 PK

2145

Air Temperature Switch Signal - Right

J

0.35 D-GN

2211

Auxiliary Blower Motor Speed Control

J

0.35 D-GN

2211

Auxiliary Blower Motor Speed Control

K

0.35 L-GN

405

Lower Air Temperature Sensor Signal

K

0.35 L-GN

405

Lower Air Temperature Sensor Signal

L

0.35 BK

6101

Low Reference

L

0.35 D-GN

6101

Low Reference

M

0.35 PK

1639

Ignition Voltage

M

0.35 PK

1639

Ignition Voltage

0.35 PK

1639

Ignition Voltage

X408 Body Harness to Rear Object Detection Harness (E52 with UD7)


Object Number: 1710987  Size: CH

Object Number: 684916  Size: CH

Connector Part Information

  • OEM: 15465945
  • Service: 88986452
  • Description: 6-Way F GT 150 Series Sealed (BK)

Connector Part Information

  • OEM: 15326840
  • Service: 15326840
  • Description: 8-Way M GT 150 Series Sealed (BK)

Terminal Part Information

  • Terminal/Tray: 12191819/8
  • Core/Insulation Crimp: E/A
  • Release Tool/Test Probe: 15315247/J-35616-2A (GY)

Terminal Part Information

  • Terminal: 15326269/19
  • Core/Insulation Crimp: E/4
  • Release Tool/Test Probe: 15315247/J-35616-3 (GY)

X408 Body Harness to Rear Object Detection Harness (E52 with UD7)

Pin

Wire

Circuit

Function

Pin

Wire

Circuit

Function

A

0.5 D-BU

2374

Object Sensor Control

A

0.5 D-BU

2374

Object Sensor Control

B

0.5 YE

2375

Left Rear Corner Object Sensor Signal

B

0.5 YE

2375

Left Rear Corner Object Sensor Signal

C

0.5 GY

2379

Low Reference

C

0.5 GY

2379

Low Reference

D

0.5 OG

2376

Left Rear Middle Object Sensor Signal

D

0.5 OG

2376

Left Rear Middle Object Sensor Signal

E

0.5 D-GN

2377

Right Rear Middle Object Sensor Signal

E

0.5 D-GN

2377

Right Rear Middle Object Sensor Signal

F

0.5 PU

2378

Right Rear Corner Object Sensor Signal

F

0.5 PU

2378

Right Rear Corner Object Sensor Signal

G-H

--

--

Not Available

G-H

--

--

Not Available

X408 Chassis Harness to Rear Bumper Harness (without E52 or UD7)


Object Number: 523630  Size: CH

Object Number: 632349  Size: CH

Connector Part Information

  • OEM: 15326801
  • Service: 15306156
  • Description: 2-Way F GT 150 Series Sealed (BK)

Connector Part Information

  • OEM: 15326806
  • Service: 15306166
  • Description: 2-Way M GT 150 Series Sealed (BK)

Terminal Part Information

  • Terminal/Tray: 12191819/8
  • Core/Insulation Crimp: E/A
  • Release Tool/Test Probe: 15315247/J-35616-2A (GY)

Terminal Part Information

  • Terminal: See Terminal Repair Kit
  • Core/Insulation Crimp: See Terminal Repair Kit
  • Release Tool/Test Probe: See Terminal Repair Kit

X408 Chassis Harness to Rear Bumper Harness (without E52 or UD7)

Pin

Wire

Circuit

Function

Pin

Wire

Circuit

Function

A

0.5 BN

2509

Left Rear Park Lamps Control

A

0.5 BN

2509

Left Rear Park Lamps Control

B

0.35 BK

1750

Ground

B

0.5 BK

1750

Ground

X408 Body Harness to Rear Object Detection Harness (UD7 without E52)


Object Number: 646400  Size: CH

Object Number: 684916  Size: CH

Connector Part Information

  • OEM: 15326835
  • Service: 88986452
  • Description: 8-Way F GT 150 Series Sealed (BK)

Connector Part Information

  • OEM: 15326840
  • Service: 15326840
  • Description: 8-Way M GT 150 Series Sealed (BK)

Terminal Part Information

  • Terminal/Tray: 12191819/8
  • Core/Insulation Crimp: E/A
  • Release Tool/Test Probe: 15315247/J-35616-2A (GY)

Terminal Part Information

  • Terminal: See Terminal Repair Kit
  • Core/Insulation Crimp: See Terminal Repair Kit
  • Release Tool/Test Probe: See Terminal Repair Kit

X408 Chassis Harness to Rear Object Detection Harness (UD7 without E52)

Pin

Wire

Circuit

Function

Pin

Wire

Circuit

Function

A

0.5 D-BU

2374

Object Sensor Control

A

0.5 D-BU

2374

Object Sensor Control

B

0.5 YE

2375

Left Rear Corner Object Sensor Signal

B

0.5 YE

2375

Left Rear Corner Object Sensor Signal

C

0.5 GY

2379

Low Reference

C

0.5 GY

2379

Low Reference

D

0.5 OG

2376

Left Rear Middle Object Sensor Signal

D

0.5 OG

2376

Left Rear Middle Object Sensor Signal

E

0.5 D-GN

2377

Right Rear Middle Object Sensor Signal

E

0.5 D-GN

2377

Right Rear Middle Object Sensor Signal

F

0.5 PU

2378

Right Rear Corner Object Sensor Signal

F

0.5 PU

2378

Right Rear Corner Object Sensor Signal

G

0.5 BN

2509

License Lamp Feed

G

0.5 BN

2509

License Lamp Feed

H

0.5 BK

1750

Ground

H

0.5 BK

1750

Ground

X409 Chassis Harness to Endgate Harness (without E52 or UD7)


Object Number: 523630  Size: CH

Object Number: 632349  Size: CH

Connector Part Information

  • OEM: 15326801
  • Service: 15306156
  • Description: 2-Way F GT 150 Series Sealed (BK)

Connector Part Information

  • OEM: 15326806
  • Service: 15306166
  • Description: 2-Way M GT 150 Series Sealed (BK)

Terminal Part Information

  • Terminal: 12191819/8
  • Core/Insulation Crimp: 2/A
  • Release Tool/Test Probe: 15315247/J-35616-2A (GY)

Terminal Part Information

  • Terminal: 15326269/19
  • Core/Insulation Crimp: E/1
  • Release Tool/Test Probe: 15315247/J-35616-3 (GY)

X409 Chassis Harness to Endgate Harness (without E52 or UD7)

Pin

Wire

Circuit

Function

Pin

Wire

Circuit

Function

A

0.8 TN

294

Door Lock Actuator Unlock Control

A

0.8 TN

294

Door Lock Actuator Unlock Control

B

0.8 GY

295

Door Lock Actuator Lock Control

B

0.8 GY

295

Door Lock Actuator Lock Control

X409 Endgate Harness to Chassis Harness (UVC without E52 or TB7)


Object Number: 831368  Size: CH

Object Number: 684916  Size: CH

Connector Part Information

  • OEM: 15326836
  • Service: 88986255
  • Description: 8-Way F GT 150 Series Sealed (BK)

Connector Part Information

  • OEM: 15326840
  • Service: See Catalog
  • Description: 8-Way M GT 150 Series Sealed 4.0 (BK)

Terminal Part Information

  • Terminal/Tray: 12191819/8
  • Core/Insulation Crimp: Pins A-B, H: 2/1
  • Core/Insulation Crimp: Pins C-G: E/A
  • Release Tool/Test Probe: 15315247/J-35616-2A (GY)

Terminal Part Information

  • Terminal/Tray: 15326269/19
  • Core/Insulation Crimp: Pins A, B: E/1
  • Core/Insulation Crimp: Pins C-F: E/4
  • Release Tool/Test Probe: 15315247/J-35616-3 (GY)

X409 Endgate Harness to Chassis Harness (UVC without E52 or TB7)

Pin

Wire

Circuit

Function

Pin

Wire

Circuit

Function

A

0.8 TN

294

Door Lock Actuator Unlock Control

A

0.8 TN

294

Door Lock Actuator Unlock Control

B

0.8 GY

295

Door Lock Actuator Lock Control

B

0.8 GY

295

Door Lock Actuator Lock Control

C

0.35 BK

2751

Ground

C

0.5 BK/WH

2751

Ground

D

0.35 PK

239

Ignition Voltage

D

0.5 PK

239

Ignition Voltage

E

0.35 L-BU

7642

Camera Signal (-)

E

0.35 L-BU

7642

Camera Signal (-)

F

0.35 WH

7641

Camera Signal (+)

F

0.35 WH

7641

Camera Signal (+)

G

0.5 GY

6799

Drain Wire

G

0.5 GY

6799

Drain Wire

H

0.8 D-BU

38

Backup Lamp Signal

H

0.5 D-BU

38

Backup Lamp Signal

X411 Left Rear Lamp Harness to Chassis Harness (X88 or Z88, with E52)


Object Number: 647974  Size: CH

Object Number: 1334521  Size: CH

Connector Part Information

  • OEM: 15326822
  • Service: 19151498
  • Description: 5-Way F GT 150 Series Sealed (BK)

Connector Part Information

  • OEM: 13519053 (HP2)
  • OEM: 15326827 (except HP2)
  • Service: 15326827
  • Description: 5-Way M GT 150 Series Sealed (BK)

Terminal Part Information

  • Terminal: See Terminal Repair Kit
  • Core/Insulation Crimp: See Terminal Repair Kit
  • Release Tool/Test Probe: See Terminal Repair Kit

Terminal Part Information

  • Terminal/Tray: 15326269/19
  • Core/Insulation Crimp: Pins A-B, D-E: E/4
  • Core/Insulation Crimp: Pins C: E/1
  • Release Tool/Test Probe: 15315247/J-35616-3 (GY)

X411 Left Rear Lamp Harness to Chassis Harness (X88 or Z88, with E52)

Pin

Wire

Circuit

Function

Pin

Wire

Circuit

Function

A

0.8 YE

1334

Left Rear Turn Signal Lamp Control

A

0.5 YE/BK

1334

Left Rear Turn Signal Lamp Control

B

0.8 L-BU

20

Stop Lamp Control

B

0.5 L-BU

20

Stop Lamp Control

C

0.8 BK

1750

Ground

C

0.8 BK

1750

Ground

D

0.8 BN

2509

Left Rear Park Lamps Control

D

0.5 BN

2509

Left Rear Park Lamps Control

E

0.8 L-GN

24

Backup Lamp Control

E

0.5 L-GN

24

Backup Lamp Control

X411 Left Rear Lamp Harness to Chassis Harness (Z75 with E52)


Object Number: 632357  Size: CH

Object Number: 646396  Size: CH

Connector Part Information

  • OEM: 15326829
  • Service: 88953153
  • Description: 6-Way F GT 150 Series Sealed (BK)

Connector Part Information

  • OEM: 15326833
  • Service: 15326833
  • Description: 6-Way M GT 150 Series Sealed (BK)

Terminal Part Information

  • Terminal: See Terminal Repair Kit
  • Core/Insulation Crimp: See Terminal Repair Kit
  • Release Tool/Test Probe: See Terminal Repair Kit

Terminal Part Information

  • Terminal/Tray: 15326269/19
  • Core/Insulation Crimp: Pins A-B, D-F: E/4
  • Core/Insulation Crimp: Pins C: E/1
  • Release Tool/Test Probe: 15315247/J-35616-3 (GY)

X411 Left Rear Lamp Harness to Chassis Harness (Z75 with E52)

Pin

Wire

Circuit

Function

Pin

Wire

Circuit

Function

A

0.5 YE/BK

1334

Left Rear Turn Signal Lamp Control (EXP)

A

0.5 YE/BK

1334

Left Rear Turn Signal Lamp Control (EXP)

0.5 YE/BK

1334

Not Used (without EXP)

A

--

--

Not Used (without EXP)

B

0.5 L-BU

18

Left Rear Stop/Turn Lamp Control (except EXP)

B

0.5 YE

18

Left Rear Stop/Turn Lamp Control (except EXP)

0.5 L-BU

20

Left Rear Stop Lamp Control (EXP)

0.5 L-BU

20

Stop Lamp Control (EXP)

C

0.5 BK

1750

Ground

C

0.8 BK

1750

Ground

D

0.5 BN

2509

Left Rear Park Lamps Control

D

0.35 BN

2509

Left Rear Park Lamps Control

E

0.5 D-GN/OG

122

Rear Fog Lamp Control (EXP)

E

0.5 OG

122

Rear Fog Lamp Control (EXP)

0.5 D-GN/OG

24

Backup Lamp Control (without EXP)

0.5 L-GN

24

Backup Lamp Control (without EXP)

F

0.5 PK/BK

5356

Left Tail Lamp Outage Detection Signal

F

0.5 YE

5356

Left Tail Lamp Outage Detection Signal

X411 Left Rear Lamp Harness to Chassis Harness (without E52)


Object Number: 646430  Size: CH

Object Number: 806431  Size: CH

Connector Part Information

  • OEM: 15326815
  • Service: 15306396
  • Description: 4-Way F GT 150 Series Sealed (BK)

Connector Part Information

  • OEM: 15326820
  • Service: 15326820
  • Description: 4-Way M GT 150 Series Sealed (BK)

Terminal Part Information

  • Terminal: See Terminal Repair Kit
  • Core/Insulation Crimp: See Terminal Repair Kit
  • Release Tool/Test Probe: See Terminal Repair Kit

Terminal Part Information

  • Terminal: 15326269/19
  • Core/Insulation Crimp: E/4
  • Release Tool/Test Probe: 15315247/J-35616-3 (GY)

X411 Left Rear Lamp Harness to Chassis Harness (without E52)

Pin

Wire

Circuit

Function

Pin

Wire

Circuit

Function

A

0.8 YE

18

Left Rear Stop/Turn Lamp Control

A

0.8 YE

18

Left Rear Stop/Turn Lamp Control

B

0.8 BK

1750

Ground

B

0.8 BK

1750

Ground

C

0.8 BN

2509

Left Rear Park Lamps Control

C

0.5 BN

2509

Left Rear Park Lamps Control

D

0.8 L-GN

24

Backup Lamp Control

D

0.5 L-GN

24

Backup Lamp Control

X412 Right Rear Lamp Harness to Chassis Harness (X88 or Z88, with E52)


Object Number: 647974  Size: CH

Object Number: 1334521  Size: CH

Connector Part Information

  • OEM: 15326822
  • Service: 88987186
  • Description: 5-Way F GT 150 Series Sealed (BK)

Connector Part Information

  • OEM: 15326827
  • Service: 15326827
  • Description: 5-Way M GT 150 Series Sealed (BK)

Terminal Part Information

  • Terminal: See Terminal Repair Kit
  • Core/Insulation Crimp: See Terminal Repair Kit
  • Release Tool/Test Probe: See Terminal Repair Kit

Terminal Part Information

  • Terminal: 15326269/19
  • Core/Insulation Crimp: E/4
  • Release Tool/Test Probe: 15315247/J-35616-3 (GY)

X412 Right Rear Lamp Harness to Chassis Harness (X88 or Z88, with E52)

Pin

Wire

Circuit

Function

Pin

Wire

Circuit

Function

A

0.8 YE

1335

Right Rear Turn Signal Lamp Control

A

0.5 D-GN/WH

1335

Right Rear Turn Signal Lamp Control

B

0.8 L-BU

20

Stop Lamp Control

B

0.5 L-BU/BK

20

Stop Lamp Control

C

0.8 BK

1750

Ground

C

0.5 BK

1750

Ground

D

0.8 BN

2609

Right Rear Park Lamps Control

D

0.5 BN

2609

Right Rear Park Lamps Control

E

0.8 L-GN

24

Backup Lamp Control

E

0.5 L-GN

24

Backup Lamp Control

X412 Right Rear Lamp Harness to Chassis Harness (Z75 with E52)


Object Number: 632357  Size: CH

Object Number: 646396  Size: CH

Connector Part Information

  • OEM: 15326829
  • Service: 88953153
  • Description: 6-Way F GT 150 Series Sealed (BK)

Connector Part Information

  • OEM: 15326833
  • Service: 15326833
  • Description: 6-Way M GT 150 Series Sealed (BK)

Terminal Part Information

  • Terminal: See Terminal Repair Kit
  • Core/Insulation Crimp: See Terminal Repair Kit
  • Release Tool/Test Probe: See Terminal Repair Kit

Terminal Part Information

  • Terminal: 15326269/19
  • Core/Insulation Crimp: E/4
  • Release Tool/Test Probe: 15315247/J-35616-3 (GY)

X412 Right Rear Lamp Harness to Chassis Harness (Z75 with E52)

Pin

Wire

Circuit

Function

Pin

Wire

Circuit

Function

A

0.5 YE/BK

1335

Right Rear Turn Signal Lamp Control (EXP)

A

0.5 D-GN/WH

1335

Right Rear Turn Signal Lamp Control (EXP)

0.5 YE/BK

1335

Not Used (without EXP)

--

--

Not Used (without EXP)

B

0.5 L-BU

19

Right Rear Stop/Turn Lamp Control (without EXP)

B

0.5 D-GN

19

Right Rear Stop/Turn Lamp Control (without EXP)

0.5 L-BU

20

Stop Lamp Control (EXP)

0.5 L-BU/BK

20

Stop Lamp Control (EXP)

C

0.5 BK

1750

Ground

C

0.5 BK

1750

Ground

D

0.5 BN

2609

Right Rear Park Lamps Control

D

0.5 BN

2609

Right Rear Park Lamps Control

E

0.5 D-GN/OG

24

Backup Lamp Control

E

0.5 L-GN

24

Backup Lamp Control

F

0.5 PK/BK

5357

Right Tail Lamp Outage Detection Signal

F

0.5 PU

5357

Right Tail Lamp Outage Detection Signal

X413 Liftgate Harness to Body Harness (UVC with E52 or TB7)


Object Number: 831380  Size: CH

Object Number: 1464340  Size: CH

Connector Part Information

  • OEM: 15332141
  • Service: 88986249
  • Description: 6-Way F GT 150 Series, Sealed(BK)

Connector Part Information

  • OEM: 15332142
  • Service: 89046638
  • Description: 6-Way M GT 150 Series, Sealed (BK)

Terminal Part Information

  • Terminal: 12191812/19
  • Core/Insulation Crimp: Pins: A-E: E/C
  • Core/Insulation Crimp: Pins: F: C/A
  • Release Tool/Test Probe: 15315247/J-35616-2A (GY)

Terminal Part Information

  • Terminal: 15304702/19
  • Core/Insulation Crimp: E/C
  • Release Tool/Test Probe: 15315247/J-35616-3 (GY)

X413 Liftgate Harness to Body Harness (UVC with E52 or TB7)

Pin

Wire

Circuit

Function

Pin

Wire

Circuit

Function

A

0.35 BK/WH

2751

Ground

A

0.35 BK/WH

2751

Ground

B

0.35 PK

239

Ignition Voltage

B

0.35 PK

239

Ignition Voltage

C

0.35 L-BU

7642

Camera Video Signal (-)

C

0.35 D-BU

7642

Camera Video Signal (-)

D

0.35 WH

7641

Camera Video Signal (+)

D

0.35 WH

7641

Camera Video Signal (+)

E

0.5 BARE

6799

Drain Wire

E

0.35 BARE

6799

Drain Wire

F

0.8 D-BU

38

Backup Lamp Signal

F

0.35 D-BU

38

Backup Lamp Signal

X421 Body Harness to Headliner Harness (UVC without UVB, with E52 or TB7)


Object Number: 646384  Size: CH

Object Number: 646388  Size: CH

Connector Part Information

  • OEM: 15332153
  • Service: 88986440
  • Description: 10-Way F GT 150 Series (BK)

Connector Part Information

  • OEM: 15332158
  • Service: 88953270
  • Description: 10-Way M GT 150 Series (BK)

Terminal Part Information

  • Terminal: 12191812/19
  • Core/Insulation Crimp: E/C
  • Release Tool/Test Probe: 15315247/J-35616-2A (GY)

Terminal Part Information

  • Terminal: 15304702/19
  • Core/Insulation Crimp: E/C
  • Release Tool/Test Probe: 15315247/J-35616-3 (GY)

X421 Body Harness to Headliner Harness (UVC without UVB, with E52 or TB7)

Pin

Wire

Circuit

Function

Pin

Wire

Circuit

Function

A-D

--

--

Not Used

A-D

--

--

Not Used

E

0.35 WH

7641

Camera Video Signal (+)

E

0.35 WH

7641

Camera Video Signal (+)

F-H

--

--

Not Used

F-H

--

--

Not Used

J

0.35 BARE

6799

Drain Wire

J

0.5 BARE

6799

Drain Wire

K

0.35 D-BU

7642

Camera Video Signal (-)

K

0.35 D-BU

7642

Camera Video Signal (-)

X450 Power Tonneau Cover Assembly Harness to Power Tonneau Cover Jumper (Z75 without E52)


Object Number: 1856791  Size: CH

Object Number: 1856784  Size: CH

Connector Part Information

  • OEM: 7283-5576-10
  • Service: See Catalog
  • Description: 3-Way F YESC/USCAR Series (D-GY)

Connector Part Information

  • OEM: 7282-5576-10
  • Service: See Catalog
  • Description: 3-Way M YESC/USCAR Series (D-GY)

Terminal Part Information

  • Terminal: See Terminal Repair Kit
  • Core/Insulation Crimp: See Terminal Repair Kit
  • Release Tool/Test Probe: See Terminal Repair Kit

Terminal Part Information

  • Terminal: 7114-4152-02/9
  • Core/Insulation Crimp: A/5
  • Release Tool/Test Probe: 12094430/J-35616-5 (PU)

X450 Power Tonneau Cover Assembly Harness to Power Tonneau Cover Jumper (Z75 without E52)

Pin

Wire

Circuit

Function

Pin

Wire

Circuit

Function

1

3.0 RD

--

Battery Positive Voltage

1

3.0 RD

--

Battery Positive Voltage

2

3.0 BK

--

Ground

2

3.0 BK

--

Ground

3

0.35 BN

--

Not Used

3

0.5 BN

--

Right Rear Park Lamps Control

X451 Body Ground Jumper Harness to Rear Axle Ground Jumper Harness (HP2)


Object Number: 523630  Size: CH

Object Number: 632349  Size: CH

Connector Part Information

  • OEM: 13510085
  • Service: 15306156
  • Description: 2-Way F GT 150 Series Sealed (BK)

Connector Part Information

  • OEM: 13510099
  • Service: 15306166
  • Description: 2-Way M GT 150 Series Sealed (BK)

Terminal Part Information

  • Terminal: 12191819/8
  • Core/Insulation Crimp: 2/A
  • Release Tool/Test Probe: 15315247/J-35616-2A (GY)

Terminal Part Information

  • Terminal/Tray: 15326269/19
  • Core/Insulation Crimp: E/1
  • Release Tool/Test Probe: 15315247/J-35616-3 (GY)

X451 Body Ground Jumper Harness to Rear Axle Ground Jumper Harness (HP2)

Pin

Wire

Circuit

Function

Pin

Wire

Circuit

Function

A

1 BK

2850

Ground

A

1 BK

2850

Ground

B

1 BK

2850

Ground

B

1 BK

2850

Ground

X452 Liftgate Jumper Harness to Body Jumper Harness (SPO Rear Vision Camera)


Object Number: 831380  Size: CH

Object Number: 1464340  Size: CH

Connector Part Information

  • OEM: 15332141
  • Service: 88986249
  • Description: 6-Way F GT 150 Series Sealed (BK)

Connector Part Information

  • OEM: 15332142
  • Service: 89046638
  • Description: 6-Way M GT 150/250 Series, Sealed (BK)

Terminal Part Information

  • Terminal: 12191812/19
  • Core/Insulation Crimp: E/C
  • Release Tool/Test Probe: 15315247/J-35616-2A (GY)

Terminal Part Information

  • Terminal/Tray: 15304702/19
  • Core/Insulation Crimp:Pins A, B, F: E/4
  • Core/Insulation Crimp:Pins C, D: E/C
  • Core/Insulation Crimp:Pins E: 2/4
  • Release Tool/Test Probe: 15315247/J-35616-3 (GY)

X452 Liftgate Jumper Harness to Body Jumper Harness (SPO Rear Vision Camera)

Pin

Wire

Circuit

Function

Pin

Wire

Circuit

Function

A

0.5 BK/WH

1851

Ground

A

0.5 BK/WH

1851

Ground

B

0.5 PK

239

Ignition Voltage

B

0.5 PK

239

Ignition Voltage

B

0.35 BK

7642

Camera Video Signal (-)

C

0.35 BK

7642

Camera Video Signal (-)

B

0.35 RD

7641

Camera Video Signal (+)

D

0.35 RD

7641

Camera Video Signal (+)

B

0.5 GY

6799

Ground

E

0.8 GY

6799

Drain Wire

B

0.5 D-BU

38

Reverse Signal

F

0.5 D-BU

38

Reverse Signal

X500 Driver Door Harness to Body Harness (ASF)


Object Number: 1385747  Size: CH

Object Number: 872877  Size: CH

Connector Part Information

  • OEM: 15332129
  • Service: 15306425
  • Description: 2-Way F GT 150 Series (BK)

Connector Part Information

  • OEM: 15332130
  • Service: 88986459
  • Description: 2-Way M GT 150 Series (BK)

Terminal Part Information

  • Terminal: 12191812/19
  • Core/Insulation Crimp: E/C
  • Release Tool/Test Probe: 15315247/J-35616-2A (GY)

Terminal Part Information

  • Terminal: 15304702/19
  • Core/Insulation Crimp: E/4
  • Release Tool/Test Probe: 15315247/J-35616-3 (GY)

X500 Driver Door Harness to Body Harness (ASF)

Pin

Wire

Circuit

Function

Pin

Wire

Circuit

Function

A

0.5 PU/WH

6628

Low Reference

A

0.5 PU/WH

6628

Low Reference

B

0.5 WH

2132

Side Impact Sensing Module - Left - Signal

B

0.5 WH

2132

Side Impact Sensing Module - Left - Signal

X600 Passenger Door Harness to Body Harness (ASF)


Object Number: 1385747  Size: CH

Object Number: 872877  Size: CH

Connector Part Information

  • OEM: 15332129
  • Service: 15306425
  • Description: 2-Way F GT 150 Series (BK)

Connector Part Information

  • OEM: 15332130
  • Service: 88986459
  • Description: 2-Way M GT 150 Series (BK)

Terminal Part Information

  • Terminal: 12191812/19
  • Core/Insulation Crimp: E/C
  • Release Tool/Test Probe: 15315247/J-35616-2A (GY)

Terminal Part Information

  • Terminal: 15304702/19
  • Core/Insulation Crimp: E/4
  • Release Tool/Test Probe: 15315247/J-35616-3 (GY)

X600 Passenger Door Harness to Body Harness (ASF)

Pin

Wire

Circuit

Function

Pin

Wire

Circuit

Function

A

0.5 WH/BK

6629

Low Reference

A

0.5 WH/BK

6629

Low Reference

B

0.5 D-GN

2134

Side Impact Sensing Module - Right - Signal

B

0.5 D-GN

2134

Side Impact Sensing Module - Right - Signal

X700 Body Harness to Left Rear Door Harness


Object Number: 1710980  Size: CH

Object Number: 1710969  Size: CH

Connector Part Information

  • OEM: 13539998
  • Service: 19149306
  • Description: 16-Way F GT 150 280 Series, Sealed (BK)

Connector Part Information

  • OEM: 13540002
  • Service: 19115742
  • Description: 16-Way M GT 150 280 Series (WH)

Terminal Part Information

  • Pins: B-G, K-R
  • Terminal/Tray: 12191812/19
  • Core/Insulation Crimp: Pins: B-G, M, R: E/C
  • Core/Insulation Crimp: Pins: K-L, N, P: C/A
  • Release Tool/Test Probe: 15315247/J-35616-2A (GY)
  • Pins: A, H
  • Terminal/Tray: 15304713/19
  • Core/Insulation Crimp: 4/4
  • Release Tool/Test Probe: 15315247/J-35616-4A (PU)
  • Pins: S
  • Terminal/Tray: 15304711/8
  • Core/Insulation Crimp: E/A
  • Release Tool/Test Probe: 15315247/J-35616-4A (PU)

Terminal Part Information

  • Pins: B-G, K-R
  • Terminal/Tray: 15304702/19
  • Core/Insulation Crimp: Pins: B-G, K-L (UQ3), M, R: E/4
  • Core/Insulation Crimp: Pins: K-L (UQA/UQS), N, P: 2/4
  • Release Tool/Test Probe: 15315247/J-35616-3 (GY)
  • Pins: A, H
  • Terminal/Tray: 15304724/8
  • Core/Insulation Crimp: A/D
  • Release Tool/Test Probe: 15315247/J-35616-5 (PU)
  • Pins: S
  • Terminal/Tray: 15304722/8
  • Core/Insulation Crimp: E/C
  • Release Tool/Test Probe: 15315247/J-35616-5 (PU)

X700 Body Harness to Left Rear Door Harness

Pin

Wire

Circuit

Function

Pin

Wire

Circuit

Function

A

2 BK

1150

Ground (HP2)

A

3 BK

1150

Ground

3 BK

1150

Ground (except HP2)

B

0.35 PU

169

Power Window Master Switch Left Rear Down Signal

B

0.35 PU

169

Power Window Master Switch Left Rear Down Signal

C

0.35 D-BU

1307

Power Window Master Switch Lockout Signal

C

0.35 D-BU

1307

Power Window Master Switch Lockout Signal

D

0.35 D-GN

168

Power Window Master Switch Left Rear Up Signal

D

0.35 D-GN

168

Power Window Master Switch Left Rear Up Signal

E

0.35 BN/WH

230

Instrument Panel Lamp Dimming Control

E

0.5 BN/WH

230

Instrument Panel Lamp Dimming Control

F

0.35 L-BU/BK

747

Left Rear Door Ajar Switch Signal

F

0.35 L-BU/BK

747

Left Rear Door Ajar Switch Signal

G

0.5 L-GN/BK

6623

Low Reference (ASF)

G

0.5 L-GN/BK

6623

Low Reference (ASF)

H

2 RD/WH

1240

Battery Positive Voltage

H

3 RD/WH

1240

Battery Positive Voltage

J

--

--

Not Used

J

--

--

Not Used

K

0.8 YE

116

Left Rear Speaker Output (-)

K

0.5 YE

116

Left Rear Speaker Output (-) (UQ3)

0.8 YE

116

Left Rear Speaker Output (-) (UQA/UQS)

L

0.8 BN

199

Left Rear Speaker Output (+)

L

0.5 BN

199

Left Rear Speaker Output (+) (UQ3)

0.8 BN

199

Left Rear Speaker Output (+) (UQA/UQS)

M

0.5 BK

1150

Ground

M

0.35 BK

1150

Ground

0.35 BK

1150

Ground (5W4 or PPV)

N

0.8 TN

294

Door Lock Actuator Unlock Control

N

0.8 TN

294

Door Lock Actuator Unlock Control

P

0.8 GY

295

Door Lock Actuator Lock Control

P

0.8 GY

295

Door Lock Actuator Lock Control

R

0.5 L-BU

6622

Left Rear Side Impact Sensing Module Signal (ASF)

R

0.5 L-BU

6622

Left Rear Side Impact Sensing Module Signal (ASF)l

S

0.35 OG

5922

Non-Driver Door Open Switch Signal

S

--

--

Not Used

0.35 OG

5922

Non-Driver Door Open Switch Signal

X800 Body Harness to Right Rear Door Harness


Object Number: 1710980  Size: CH

Object Number: 1710969  Size: CH

Connector Part Information

  • OEM: 13539998
  • Service: 19149306
  • Description: 16-Way F GT 150 280 Series (BK)

Connector Part Information

  • OEM: 13540002
  • Service: 19115742
  • Description: 16-Way M GT 150 280 Series (NA)

Terminal Part Information

  • Pins: B-G, K-R
  • Terminal/Tray: 12191812/19
  • Core/Insulation Crimp: Pins: B-G, M, R: E/C
  • Core/Insulation Crimp: Pins: K-L, N, P: C/A
  • Release Tool/Test Probe: 15315247/J-35616-2A (GY)
  • Pins: A, H
  • Terminal/Tray: 15304713/19
  • Core/Insulation Crimp: 4/4
  • Release Tool/Test Probe: 15315247/J-35616-4A (PU)
  • Pins: S
  • Terminal/Tray: 15304711/8
  • Core/Insulation Crimp: E/A
  • Release Tool/Test Probe: 15315247/J-35616-4A (PU)

Terminal Part Information

  • Pins: B-G, K-R
  • Terminal/Tray: 15304702/19
  • Core/Insulation Crimp: Pins: B-G, K-L (UQ3), M, R: E/4
  • Core/Insulation Crimp: Pins: K-L (UQA/UQS), N, P: 2/4
  • Release Tool/Test Probe: 15315247/J-35616-3 (GY)
  • Pins: A, H
  • Terminal/Tray: 15304724/8
  • Core/Insulation Crimp: A/D
  • Release Tool/Test Probe: 15315247/J-35616-5 (PU)
  • Pins: S
  • Terminal/Tray: 15304722/8
  • Core/Insulation Crimp: E/C
  • Release Tool/Test Probe: 15315247/J-35616-5 (PU)

X800 Body Harness to Right Rear Door Harness

Pin

Wire

Circuit

Function

Pin

Wire

Circuit

Function

A

2 BK

1250

Ground (HP2)

A

3 BK

1250

Ground

3 BK

1250

Ground (except HP2)

B

0.35 PU

171

Power Window Master Switch Right Rear Down Signal

B

0.35 PU

171

Power Window Master Switch Right Rear Down Signal

C

0.35 L-BU/WH

280

Power Window Master Switch Lockout Right Rear Signal

C

0.35 L-BU/WH

280

Power Window Master Switch Lockout Right Rear Signal

D

0.35 L-GN

170

Power Window Master Switch Right Rear Up Signal

D

0.35 L-GN

170

Power Window Master Switch Right Rear Up Signal

E

0.5 BN/WH

230

Instrument Panel Lamp Dimming Control

E

0.5 BN/WH

230

Instrument Panel Lamp Dimming Control

F

0.35 L-GN/BK

748

Right Rear Door Ajar Switch Signal

F

0.35 L-GN/BK

748

Right Rear Door Ajar Switch Signal

G

0.5 PK/BK

6627

Low Reference (ASF)

G

0.5 PK/BK

6627

Low Reference (ASF)

H

2 RD/WH

1340

Battery Positive Voltage

H

3 RD/WH

1340

Battery Positive Voltage

J

--

--

Not Used

J

--

--

Not Used

K

0.8 L-BU

115

Right Rear Speaker Output (-)

K

0.5 L-BU

115

Right Rear Speaker Output (-) (UQ3)

0.8 L-BU

115

Right Rear Speaker Output (-) (UQA/UQS)

L

0.8 D-BU

46

Right Rear Speaker Output (+)

L

0.5 D-BU

46

Right Rear Speaker Output (+) (UQ3)

0.8 D-BU

46

Right Rear Speaker Output (+) (UQA/UQS)

M

0.35 BK

1250

Ground

M

0.35 BK

1250

Ground

N

0.8 TN

294

Door Lock Actuator Unlock Control

N

0.8 TN

294

Door Lock Actuator Unlock Control

P

0.8 GY

295

Door Lock Actuator Lock Control

P

0.8 GY

295

Door Lock Actuator Lock Control

R

0.5 L-BU/WH

6626

Right Rear Side Impact Sensing Module Signal (ASF)

R

0.5 L-BU/WH

6626

Right Rear Side Impact Sensing Module Signal (ASF)

S

--

--

Not Used

S

--

--

Not Used

X900 Liftgate Harness to License Lamp Harness (E52 or TB7 with UVC)


Object Number: 646430  Size: CH

Object Number: 806431  Size: CH

Connector Part Information

  • OEM: 15326815
  • Service: 15306396
  • Description: 4-Way F GT 150 Series Sealed (BK)

Connector Part Information

  • OEM: 15326820
  • Service: 15326820
  • Description: 4-Way M GT 150 Series Sealed (BK)

Terminal Part Information

  • Terminal/Tray: 12191819/8
  • Core/Insulation Crimp: E/A
  • Release Tool/Test Probe: 15315247/J-35616-2A (GY)

Terminal Part Information

  • Terminal/Tray: 15326269/19
  • Core/Insulation Crimp: Pin A: E/1
  • Core/Insulation Crimp: Pins B-D: E/4
  • Release Tool/Test Probe: 15315247/J-35616-3 (GY)

X900 Liftgate Harness to License Lamp Harness (E52 or TB7 with UVC)

Pin

Wire

Circuit

Function

Pin

Wire

Circuit

Function

A

0.35 L-BU

7642

Camera Signal (-)

A

0.35 L-BU

7642

Camera Signal (-)

B

0.35 WH

7641

Camera Signal (+)

B

0.35 WH

7641

Camera Signal (+)

C

0.35 GY

7069

Drain Wire

C

0.5 GY

6799

Drain Wire

D

0.8 D-BU

38

Backup Lamp Signal

D

0.5 D-BU

38

Backup Lamp Signal

X901 Liftgate Harness to License Lamp Harness (E52 or TB7)


Object Number: 646415  Size: CH

Object Number: 632353  Size: CH

Connector Part Information

  • OEM: 15326808
  • Service: 15326808
  • Description: 3-Way F GT 150 Series Sealed (BK)

Connector Part Information

  • OEM: 15326813
  • Service: 15306377
  • Description: 3-Way M GT 150 Series Sealed (BK)

Terminal Part Information

  • Terminal/Tray: 12191819/8
  • Core/Insulation Crimp: E/A
  • Release Tool/Test Probe: 15315247/J-35616-2A (GY)

Terminal Part Information

  • Terminal: 15326269/19
  • Core/Insulation Crimp: E/4
  • Release Tool/Test Probe: 15315247/J-35616-3 (GY)

X901 Liftgate Harness to License Lamp Harness (E52 or TB7)

Pin

Wire

Circuit

Function

Pin

Wire

Circuit

Function

A

0.35 PK

6190

Liftglass/Trunk Exterior Release Signal (E52)

A

0.35 PK/BK

6190

Liftglass/Trunk Exterior Release Signal (E52)

B

0.5 BK

1450

Ground

B

0.5 BK

1450

Ground

C

0.5 BN

2509

Left Rear Park Lamps Control

C

0.5 BN

2509

Left Rear Park Lamps Control

X902 Liftgate Harness to License Lamp Harness (E52 or TB7)


Object Number: 523630  Size: CH

Object Number: 681875  Size: CH

Connector Part Information

  • OEM: 15326801
  • Service: 15306156
  • Description: 2-Way F GT 150 Series Sealed (BK)

Connector Part Information

  • OEM: 15326806
  • Service: 19151499
  • Description: 2-Way M GT 150 Series Sealed (BK)

Terminal Part Information

  • Terminal/Tray: 12191819/8
  • Core/Insulation Crimp: E/A
  • Release Tool/Test Probe: 15315247/J-35616-2A (GY)

Terminal Part Information

  • Terminal: 15326269/19
  • Core/Insulation Crimp: E/4
  • Release Tool/Test Probe: 15315247/J-35616-3 (GY)

X902 Liftgate Harness to License Lamp Harness (E52 or TB7)

Pin

Wire

Circuit

Function

Pin

Wire

Circuit

Function

A

0.35 BK/WH

1851

Ground

A

0.35 BK/WH

2751

Ground

B

0.35 PK

239

Ignition Voltage

B

0.35 PK

239

Ignition Voltage