GM Service Manual Online
For 1990-2009 cars only
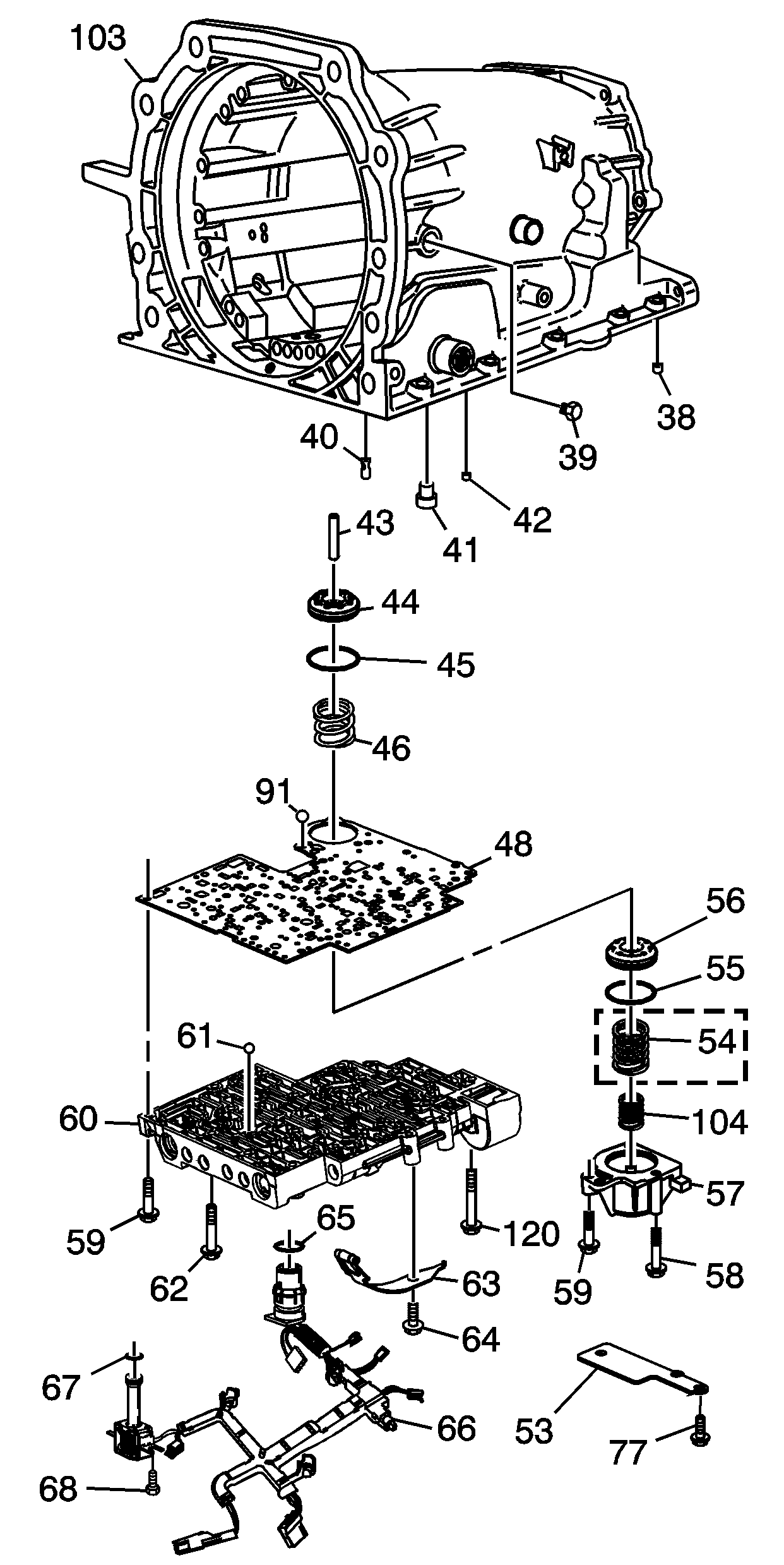
Figure 1:

Case and Associated Parts (1 of 2)


Object Number: 2035522  Size: LF
(1)Torque Converter Assembly -  Size Model Dependent
(2)Pump to Case Bolt
(3)Pump to Case Bolt O-Ring
(4)Oil Pump Assembly
(5)A/T Fluid Pump Seal - Pump to Case
(6)Pump Cover to Case Gasket
(7)Case Bushing
(9)Transmission Vent Assembly
(11)Case Servo Plug
(12)Servo Return Spring
(13)2nd Apply Piston Pin
(14)Retainer Ring - 2nd Apply Piston
(15)Servo Cushion Spring Retainer
(16)Servo Cushion Spring - Outer
(17)2nd Apply Piston
(18)Oil Seal Ring - 2nd Apply Piston - Outer
(19)Oil Seal Ring - 2nd Apply Piston - Inner
(20)Servo Piston Housing - Inner
(21)O-Ring Seal
(22)Servo Apply Pin Spring
(23)Servo Apply Pin Washer
(24)Retainer Ring - Apply Pin
(25)4th Apply Piston
(26)Oil Seal Ring - 4th Apply Piston - Outer
(27)O-Ring Seal - 2-4 Servo Cover
(28)2-4 Servo Cover
(29)Servo Cover Retaining Ring
(30)Case Extension to Case Seal
(31)Case Extension - Model Dependent
(32)Case Extension to Case Bolt
(33)Case Extension Bushing
(34)Case Extension Oil Seal Assembly - Model Dependent
(34)Case Extension Oil Seal Assembly - Model Dependent
(35)Speed Sensor Retaining Bolt
(36)Vehicle Speed Sensor (VSS)
(37)O-Ring Seal - VSS to Case Extension
(71)Filter Seal
(72)Transmission Oil Filter Assembly - Model Dependent
(73)Transmission Oil Pan Gasket
(74)Chip Collector Magnet
(75)Transmission Oil Pan - Model Dependent
(76)Transmission Oil Pan Screw
(94)Converter Housing to Case Bolt
(95)Oil Cooler Quick Connector
(96)Oil Cooler Quick Connect Clip
(97)Converter Housing Access Hole Plug - Model Dependent
(98)Converter Bolt Inspection Plate - Model Dependent
(99)Cup D4 Orifice Plug
(102)Converter Housing - Model Dependent
(103)Main Section Case - Model Dependent
(105)Servo Cushion Spring - Inner - Model Dependent
Figure 2:

Case and Associated Parts (2 of 2)


Object Number: 2035523  Size: LH
(38)Transmission Case Plug - Accumulator Bleed
(39)Pressure Plug
(40)Third Accumulator (#7) Retainer and Ball Assembly
(41)Band Anchor Pin
(42)Retainer and Ball Assembly - Double Orifice (#10)
(43)Accumulator Piston Pin
(44)3-4 Accumulator Piston
(45)Oil Seal Ring - 3-4 Accumulator Piston
(46)3-4 Accumulator Spring - Model Dependent
(48)Valve Body Spacer Plate w/Gasket - Bonded
(53)Spacer Plate Support Plate
(54)1-2 Accumulator Spring - Outer - Model Dependent
(55)Oil Seal Ring - 1-2 Accumulator
(56)1-2 Accumulator Piston
(57)1-2 Accumulator Cover and Pin Assembly - Model Dependent
(58)Accumulator Cover Bolt
(59)Accumulator Cover Bolt
(60)Control Body Valve Assembly - Model Dependent
(61)Checkball (#2, 3, 4, 5, 6, 8, 12)
(62)Valve Body Bolt
(63)Manual Detent Spring Assembly
(64)Manual Detent Spring Bolt
(65)Wiring Harness Pass-Through Connector O-Ring Seal
(66)Wiring Harness Solenoid Assembly - Model Dependent
(67)O-Ring Seal - Solenoid
(68)Hex Washer Head Bolt - Solenoid
(77)Spacer Plate Support Bolt
(77)Spacer Plate Support Bolt
(91)Number 1 Checkball
(103)Main Section Case - Model Dependent
(104)1-2 Accumulator Spring - Inner
(120)Valve Body Bolt
Figure 3:

Oil Pump Assembly


Object Number: 1887594  Size: LF
(200)Pump Body
(201)Oil Seal Ring - Slide to Wear Plate
(202)O-Ring Seal - Slide Seal Back-Up
(203)Pump Slide
(204)Pivot Pin Spring
(205)Pivot Slide Pin
(208)Pump Slide Seal Support
(209)Pump Slide Seal
(210)Pump Vane Ring
(210)Pump Vane Ring
(211)Rotor Guide
(212)Oil Pump Rotor
(213)Pump Vane
(214)Stator Shaft
(215)Pump Cover
(216)Pressure Regulator Valve
(217)Pressure Regulator Valve Spring
(218)Pressure Regulator Isolator Spring
(219)Reverse Boost Valve
(220)Reverse Boost Valve Sleeve
(221)Oil Pump Reverse Boost Valve Retaining Ring
(222)Oil Pump Converter Clutch Valve Retaining Ring
(223)Stop Valve
(224)Converter Clutch Valve - Model Dependent
(227)Pressure Relief Bolt Rivet
(228)Pressure Relief Ball
(229)Pressure Relief Spring
(230)Oil Seal Ring - Stator Shaft
(231)Oil Pump Cover Screen Seal
(232)Oil Pump Cover Screen
(233)Bolt M8 X 1.25 X 40 - Cover to Body
(234)Stator Shaft Bushing - Front
(235)Oil Pump Cover Plug - FWD Clutch Feed
(236)Oil Pump Cover Plug
(236)Oil Pump Cover Plug
(236)Oil Pump Cover Plug
(236)Oil Pump Cover Plug
(236)Oil Pump Cover Plug
(236)Oil Pump Cover Plug
(237)Check Valve Retainer and Ball Assembly
(237)Check Valve Retainer and Ball Assembly
(238)Converter Clutch Signal Orifice - Cup Plug
(240)Cup Orifice Plug
(241)Stator Shaft Bushing - Rear
(242)Pump Body Bushing
(243)Oil Seal Assembly
(244)Fluid Seal Retainer
(245)A/T Fluid Pump Slide Outer Spring
(246)Converter Clutch Valve Spring
(247)A/T ISS Attaching Bolt - Model Dependent
(249)O-ring
(250)A/T Input Speed Sensor (ISS) Assembly
Figure 4:

Control Valve Body Assembly (1 of 2)


Object Number: 1239557  Size: MF
(350)Control Valve Body Assembly
(353)Forward Accumulator Oil Seal
(354)Forward Accumulator Piston
(355)Forward Accumulator Pin
(356)Forward Accumulator Spring
(357)Forward Abuse Valve
(358)Forward Abuse Valve Spring
(359)Bore Plug
(360)Coiled Spring Pin
(360)Coiled Spring Pin
(361)Low Overrun Valve
(362)Low Overrun Valve Spring
(363)Forward Accumulator Cover
(364)Forward Accumulator Cover Bolt
(364a)Pressure Control Solenoid Retainer Bolt
(365)1-2 Shift Valve Spring - Model Dependent
(366)1-2 Shift Valve - Model Dependent
(367a)1-2 Shift Solenoid Valve
(367b)2-3 Shift Solenoid Valve
(368)2-3 Shift Valve
(369)2-3 Shuttle Valve
(370)1-2 Accumulator Valve Spring
(371)1-2 Accumulator Valve
(372)1-2 Accumulator Valve Sleeve
(374)Actuator Feed Limit Valve
(375)Actuator Feed Limit Valve Spring
(376)Bore Plug
(377)Pressure Control Solenoid Valve
(378)Pressure Control Solenoid Retainer
(395)Bore Plug and Solenoid Retainer
(395)Bore Plug and Solenoid Retainer
(395)Bore Plug and Solenoid Retainer
Figure 5:

Control Valve Body Assembly (2 of 2)


Object Number: 2035524  Size: MF
(340)Manual Valve
(350)Control Valve Body Assembly
(359)Bore Plug
(360)Coiled Spring Pin
(380)Regulator Apply Valve
(381)Bore Plug
(381)Bore Plug
(381)Bore Plug
(381)Bore Plug
(382)4-3 Sequence Valve Spring
(383)4-3 Sequence Valve
(384)3-4 Relay Valve
(385)3-4 Shift Valve
(386)3-4 Shift Valve Spring
(387)Reverse Abuse Valve
(388)Reverse Abuse Valve Spring
(389)3-2 Downshift Valve
(390)3-2 Downshift Valve Spring
(395)Bore Plug and Solenoid Retainer
(395)Bore Plug and Solenoid Retainer
(395)Bore Plug and Solenoid Retainer
(395)Bore Plug and Solenoid Retainer
(395)Bore Plug and Solenoid Retainer
(395)Bore Plug and Solenoid Retainer
(396)TCC PWM Solenoid Valve
(397)Regulator Apply Spring
(398)Isolator Valve
(399)Pump Ball Check Valve - M33 Only
Figure 6:

Internal Parts (1 of 2)


Object Number: 1552903  Size: LF
(600)3-4 Clutch Boost (5) Spring Assembly
(601)Thrust Washer - Pump to Drum
(602)2-4 Band Assembly - Model Dependent
(603)Reverse Input Clutch Bushing - Front
(605)Reverse Input Clutch Housing and Drum Assembly
(606)Reverse Input Clutch Bushing - Rear
(607)Reverse Input Clutch Piston Assembly
(608a)Reverse Input Clutch Seal - Inner
(608b)Reverse Input Clutch Seal - Outer
(609)Reverse Input Clutch Spring Assembly
(610)Reverse Input Clutch Spring Retainer Ring
(611)Reverse Input Clutch Plate - Belleville
(612a)Reverse Input Clutch Turbulator Plate - Steel
(612b)Reverse Input Clutch Plate Assembly - Fiber
(613)Reverse Input Clutch Backing Plate - Selective
(614)Reverse Input Clutch Retaining Ring
(615)Stator Shaft/Selective Washer Bearing Assembly
(616)Thrust Washer - Selective
(617)Check Valve Retainer and Ball Assembly
(618)O-Ring Seal  - Location Model Dependent
(619)Oil Seal Ring - Solid
(620)Retainer and Checkball Assembly
(621)Input Housing and Shaft Assembly - Model Dependent
(622)O-Ring Input to Forward Clutch Housing Seal
(623)3rd and 4th Clutch Piston
(625)3rd and 4th Clutch Ring - Apply
(626)3rd and 4th Clutch Spring Assembly
(627)Forward Clutch Housing Retainer and Ball Assembly
(628)Forward Clutch Housing
(630)Forward Clutch Piston
(632)Overrun Clutch Piston
(633)Overrun Clutch Ball
(634)Overrun Clutch Spring Assembly
(635)Overrun Clutch Spring Retainer Snap Ring
(636)Input Housing to Output Shaft Seal
(637)Input Sun Gear Bearing Assembly
(638)Overrun Clutch Hub Retaining Snap Ring
(639)Overrun Clutch Hub
(640)Forward Sprag Clutch Inner Race and Input Sun Gear Assembly
(642)Forward Sprag Assembly
(643)Sprag Assembly Retainer Ring
(643)Sprag Assembly Retainer Ring
(644)Forward Clutch Race - Outer
(645a)Overrun Clutch Plate - Steel
(645b)Overrun Clutch Plate Assembly - Fiber
(646)Forward Clutch Plate - Apply
(648)Forward Clutch Plate - Waved
(649a)Forward Clutch Plate - Steel
(649b)Forward Clutch Plate Assembly - Fiber
(650)Forward Clutch Backing Plate - Selective
(651)Forward Clutch Backing Plate Retainer Ring
(653)3rd and 4th Clutch Apply Plate - Stepped
(653)3rd and 4th Clutch Apply Plate - Stepped
(653)3rd and 4th Clutch Apply Plate - Stepped
(654a)3rd and 4th Clutch Plate Assembly - Fiber - Quantity Model Dependent 5, 6 or 7 Plates
(654b)3rd and 4th Clutch Plate - Steel - Quantity Model Dependent
(655)3rd and 4th Clutch Backing Plate - Selective - Model Dependent
(655)3rd and 4th Clutch Backing Plate - Selective - Model Dependent
(655)3rd and 4th Clutch Backing Plate - Selective - Model Dependent
(656)3rd and 4th Clutch Backing Plate Retainer Ring
(657)Input Sun Gear Front Bushing
(659)Input Sun Gear Rear Bushing
(688)Cup Plug
(698)Orificed Cup Plug
Figure 7:

Internal Parts (2 of 2)


Object Number: 1960163  Size: LF
(661)Output Shaft to Input Carrier Retainer
(662)Input Carrier Assembly - 4 or 5 Pinion-Model Dependent
(662)Input Carrier Assembly
(663)Thrust Bearing Assembly - Input Carrier to Reaction Shaft
(664)Input Internal Gear
(665)Reaction Carrier Shaft Front Bushing
(666)Reaction Carrier Shaft
(667)Reaction Carrier Shaft Rear Bushing
(668)Reaction Shaft/Internal Gear Retainer Ring
(669)Thrust Bearing Assembly - Reaction Shaft Shell
(670)Reaction Sun Shell
(671)Reaction Sun Gear Retainer Ring
(672)Reaction Sun Bushing
(673)Reaction Sun Gear
(674)Thrust Washer - Race/Reaction Shell
(675)Low and Reverse Roller Clutch Race
(676)Low and Reverse Support to Case Retainer Ring
(677)Low and Reverse Roller Assembly Retainer Ring - Cam
(677)Low and Reverse Roller Assembly Retainer Ring - Cam
(678)Low and Reverse Roller Clutch Assembly
(679)Low and Reverse Clutch Support Assembly
(680)Low and Reverse Clutch Support Retainer Spring
(681)Reaction Carrier Assembly - 4 or 5 Pinion-Model Dependent
(681)Reaction Carrier Assembly - 4 or 5 Pinion-Model Dependent
(682a)Low and Reverse Clutch Plate - Waved
(682b)Spacer Low and Reverse Clutch Plate - Selective
(682c)Low and Reverse Clutch Plate Assembly - Fiber
(682d)Low and Reverse Clutch Turbulator Plate - Steel
(683)Thrust Bearing Assembly - Reaction Carrier/Support
(684)Internal Reaction Gear - Model Dependent
(685)Internal Reaction Gear Support - Model Dependent
(686)Reaction Gear/Support Retainer Ring
(687)Output Shaft - Model Dependent
(690)Output Shaft Sleeve - Model Dependent 2WD only
(691)Output Shaft Seal - Model Dependent 2WD only
(692)Reaction Gear Support to Case Bearing
(693)Low and Reverse Clutch Retainer Ring
(694)Low and Reverse Clutch Spring Assembly
(695)Low and Reverse Clutch Piston
(696a)Low and Reverse Clutch Seal - Outer
(696b)Low and Reverse Clutch Seal - Center
(696c)Low and Reverse Clutch Seal - Inner
(697)Oil Deflector - High Output Models Only
(699)Internal Transmission Speed Sensor Rotor
Figure 8:

Parking Lock and Manual Shift Detent Lever with Shaft Position Switch Assembly


Object Number: 2035527  Size: MH
(78)Steel Cup Plug
(79)Parking Brake Pawl Shaft
(80)Parking Pawl Return Spring
(81)Parking Brake Pawl
(82)Manual Shaft Seal
(84)Manual Shaft - Model Dependent
(85)Parking Lock Actuator Assembly
(86)Parking Lock Bracket
(87)Parking Lock Bracket Bolt
(88)Manual Shift Detent Lever with Shaft Position Switch Assembly
(89)Manual Valve Link
(92)Manual Shift Detent Lever Hub Pin