GM Service Manual Online
For 1990-2009 cars only
Figure 1:

Driver Seat Components (without KB6)


Object Number: 2105494  Size: LF
(1)Driver Seat Cushion
(2)Driver Seat Back Cushion
(3)Heated Seat Element - Driver Back (AN3 - KB6)
(4)Heated Seat Element - Driver Cushion (AN3 - KB6)
(5)Seat Recline Motor - Driver (AN3)
(6)Seat Lumbar Adjuster Assembly - Driver (AN3)
(7)Seat Recline Postion Sensor - Driver (AN3)
(8)Seat Lumbar Switch - Driver (AN3)
(9)Seat Adjuster Switch - Driver
(10)Memory Seat Module (MSM) (AN3)
(11)Inflatable Restraint Seat Position Sensor - Driver
(12)Seat Adjuster Motor Assembly - Driver (except HP2)
(13)Inflatable Restraint Seat Belt Tension Sensor - Driver
(14)Seat Belt Switch - Driver
Figure 2:

Passenger Seat Components (without KB6)


Object Number: 2048324  Size: LF
(1)Heated Seat Element - Passenger Back (AN3)
(2)Passenger Seat Back Cushion
(3)Passenger Seat Cushion
(4)Heated Seat Element - Passenger Cushion (AN3)
(5)Seat Belt Switch - Passenger
(6)Inflatable Restraint Passenger Presence System (PPS) Sensor
(7)Inflatable Restraint Seat Belt Tension Sensor - Passenger
(8)Inflatable Restraint Passenger Presence System (PPS) Module
(9)Seat Adjuster Assembly - Passenger
(10)Seat Adjuster Switch - Passenger
(11)Seat Lumbar Switch - Passenger (AN3)
(12)Seat Recline Motor - Passenger (AN3)
(13)Seat Lumbar Assembly - Passenger (AN3)
Figure 3:

Driver and Passenger Seat Components (KB6 Only)


Object Number: 2048554  Size: LF
(1)Seat Cushion Ventilation Heating and Cooling Module - Passenger (KB6)
(2)Seat Back Ventilation Heating and Cooling Module - Passenger (KB6)
(3)Seat Back Ventilation Heating and Cooling Module - Driver (KB6)
(4)Seat Cushion Ventilation Heating and Cooling Module - Driver (KB6)
Figure 4:

Below the Passenger Seat


Object Number: 1750323  Size: LF
(1)Front Driver Seat
(2)Yaw and Lateral Accelerometer Sensor
(3)Object Alarm Module (UD7)
Figure 5:

Rear Seat Components (ARS


Object Number: 2048643  Size: LF
(1)Folding Seat Switch - Right Rear (ARS)
(2)Folding Seat Switch - Left Rear (ARS)
(3)Rear Seats - 2nd Row
Figure 6:

Rear Seat Components (KA6)


Object Number: 1714189  Size: LF
(1)Heated Seat Element - Right Rear Cushion (KA6)
(2)Heated Seat Element - Left Rear Cushion (KA6)
(3)Heated Seat Control Module - Rear (KA6)
Figure 7:

Lower Right Side of Floor Console (HP2)


Object Number: 2111557  Size: LF
(1)Data Link Resistor 2 (HP2)
Figure 8:

Headliner Components


Object Number: 2048826  Size: LF
(1)Inside Rearview Mirror (ISRVM)
(2)Onstar® Button Assembly
(3)Windshield Outside Moisture Sensor (CE1)
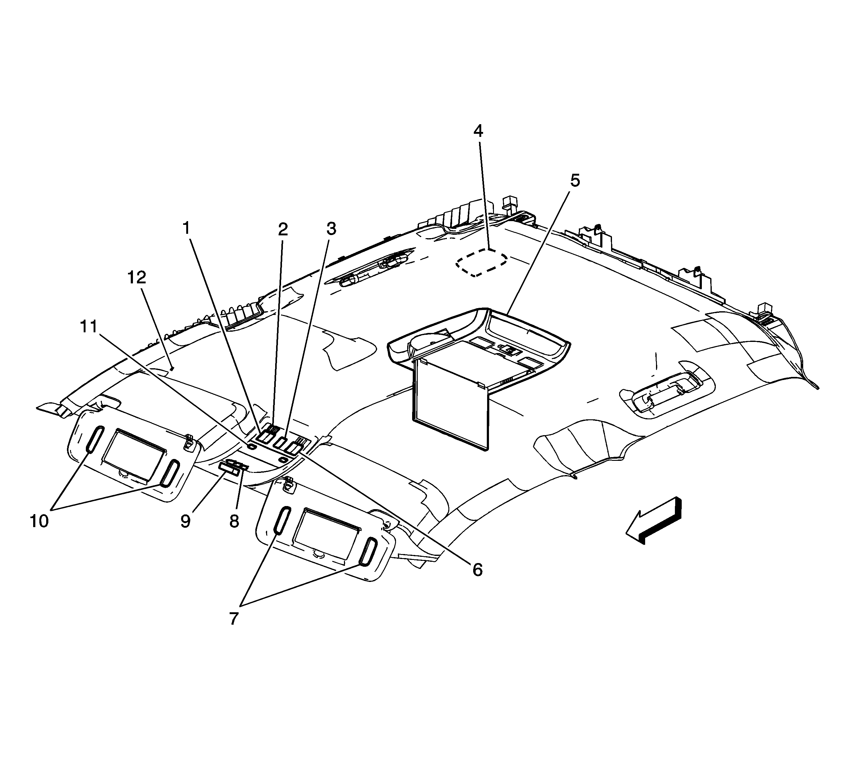
Figure 9:

Headliner Components (X88 or Z88, with Y91)


Object Number: 2049027  Size: LF
(1)Sunroof Switch (CF5)
(2)Cellular Telephone Microphone (UE1)
(3)Liftgate Control Switch - Interior (E61)
(4)Electronic Compass Module (YE9)
(5)Digital Video Disc (DVD) Display - Front (U42)
(6)Folding Seat Switch - Front (ARS)
(7)Sunshade - Right
(8)Garage Door Opener (GDO) (UG1)
(9)Inflatable Restraint Passenger Air Bag On/Off Indicator
(10)Sunshade - Left
(11)Dome/Reading Lamps - Front
(12)Inside Air Temperature Sensor - Rear (CJ2 with C69)
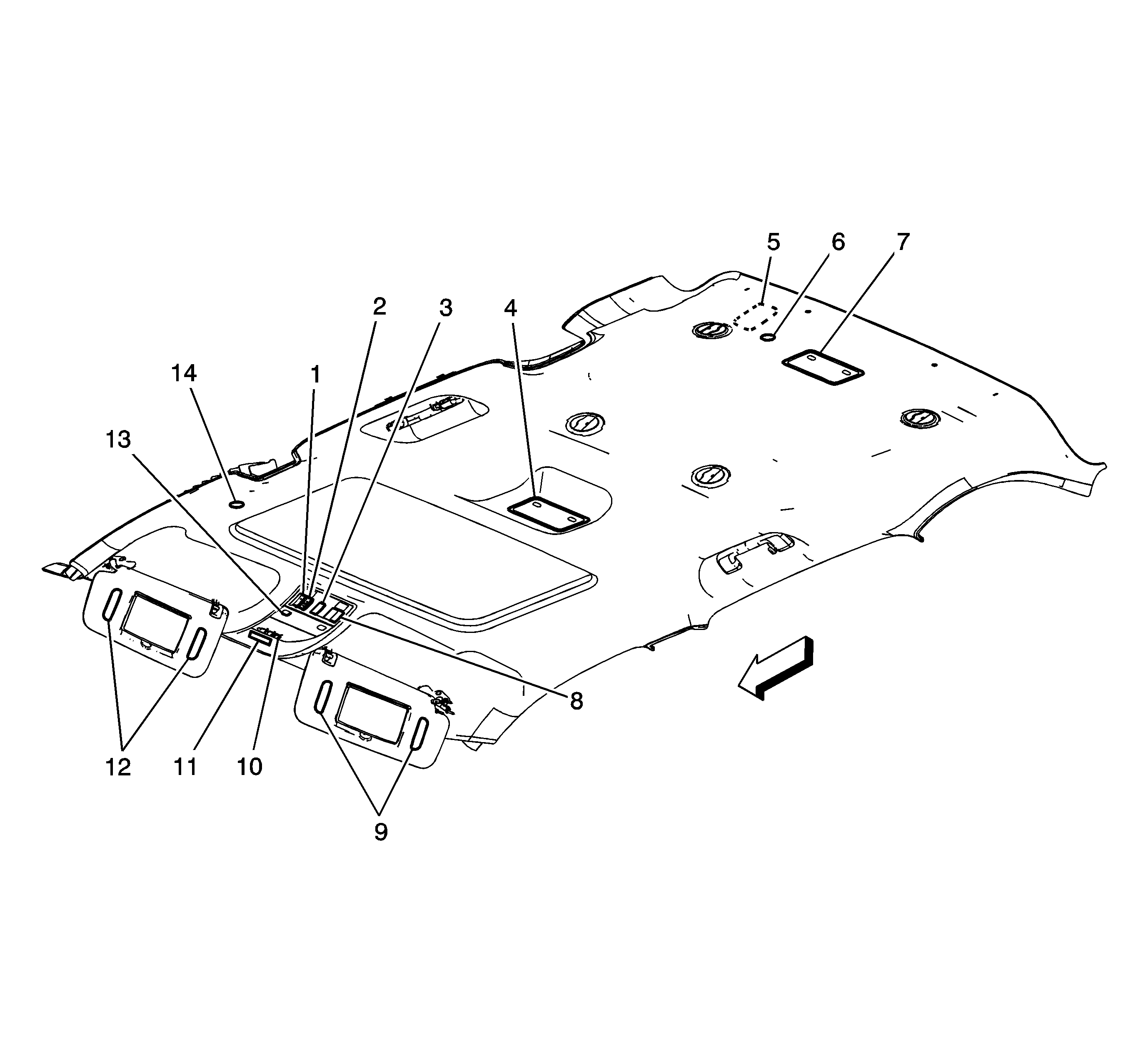
Figure 10:

Headliner Components


Object Number: 2048829  Size: LF
(1)Sunroof Switch (CF5)
(2)Cellular Telephone Microphone (UE1)
(3)Liftgate Control Switch - Interior (E61)
(4)Courtesy/Reading Lamps - 2nd Row
(5)Electronic Compass Module (YE9)
(6)Inside Air Temperature Sensor - Rear (CJ2 with C69)
(7)Courtesy/Reading Lamps - 3rd Row (E52)
(8)Folding Seat Switch - Front (ARS)
(9)Sunshade - Right
(10)Garage Door Opener (GDO) (UG1)
(11)Inflatable Restraint Passenger Air Bag On/Off Indicator
(12)Sunshade - Left
(13)Dome/Reading Lamps - Front
(14)Inside Air Temperature Sensor - Front (CJ2)
Figure 11:

Headliner Components (Z75)


Object Number: 2048865  Size: LF
(1)Sunroof Switch (CF5)
(2)Cellular Telephone Microphone (UE1)
(3)Liftgate Control Switch - Interior (E61)
(4)Digital Video Disc (DVD) Display - Front (U42)
(5)Electronic Compass Module (YE9)
(6)Inside Air Temperature Sensor - Rear (CJ2 with C69)
(7)Digital Video Disc (DVD) Display - Rear (DNU)
(8)Folding Seat Switch - Front (ARS)
(9)Sunshade - Right
(10)Garage Door Opener (GDO) (UG1)
(11)Inflatable Restraint Passenger Air Bag On/Off Indicator
(12)Sunshade - Left
(13)Dome/Reading Lamps - Front
(14)Inside Air Temperature Sensor - Front (CJ2)
Figure 12:

Headliner Components (CF5)


Object Number: 2049029  Size: LF
(1)Sunroof Control Module (CF5)
(2)Electronic Compass Module (YE9)
(3)Inside Air Temperature Sensor - Rear (CJ2 with C69)
(4)Inside Air Temperature Sensor - Front (CJ2)
Figure 13:

Drive Motor Battery Components


Object Number: 1869639  Size: LF
(1)Battery Case Upper Cover Assembly
(2)Battery Upper Cover Nut
(3)Bar Code Label
(4)Battery Danger Label
(5)Drive Motor Battery Case Upper Cover Bolt
(6)Battery Side Cover Nut
(7)Drive Motor Battery Right Side Cover
(8)Drive Motor Battery Side Cover Bolt
(9)Battery Caution Label
(10)Drive Motor Battery Cable Assembly Nut
(11)Drive Motor Battery Positive Relay Cable Assembly
(12)Drive Motor Battery Current Sensor Assembly
(13)Drive Motor Generator Battery Current Sensor Bracket
(14)Drive Motor Battery Current Sensor Bolt
(15)Drive Motor Generator Battery Control Module Assembly
(16)Drive Motor Battery Control Module Bracket
(17)Drive Motor Battery Control Module Bracket Bolt
(18)Battery Cable Clip
(19)Drive Motor Battery Control Module Bracket Bolt
(20)Drive Motor Battery Control Module Bracket
(21)Drive Motor Battery Positive and Negative Cable Bolt
(22)Drive Motor Battery Positive and Negative Cable Assembly
(23)Battery Front Cover Retainer
(24)Drive Motor Battery Front Cover Assembly
(25)Drive Motor Battery Front Cover Bolt
(26)Battery Terminal Cover
(27)Battery Terminal Cover
(28)Battery Terminal Cover
(29)Drive Motor Battery Cooling Air Outlet Duct Seal
(30)Drive Motor Battery with Case
(31)Drive Motor Battery Cooling Air Outlet Duct Seal
(32)Drive Motor Battery Current Limit Resistor Nut
(33)Drive Motor Battery Inverter Current Limit Resistor
(34)Drive Motor Battery Cable Terminal Nut
(35)Drive Motor Battery Positive High Voltage Contactor Relay Assembly
(36)Drive Motor Battery Wire Harness Connector Retainer
(37)Drive Motor Battery Power Inverter Current Limit Relay Assembly
(38)Drive Motor Battery Positive High Voltage Contactor Relay Nut
(39)Drive Motor Battery Positive Relay Nut
(40)Drive Motor Generator Battery Positive Relay Insulator Nut
(41)Drive Motor Generator Battery Positive Relay Insulator Assembly
(42)Drive Motor Battery Sensor Bracket Bolt
(43)Drive Motor Battery Cable Terminal Extension Cover
(44)Drive Motor Battery Terminal Block Cover Nut
(45)Drive Motor Battery Terminal Extension Cable Bolt
(46)Drive Motor Battery Terminal Block Nut
(47)Drive Motor Battery Cable Terminal Extension
(48)Drive Motor Battery High Voltage Manual Disconnect Knob Housing
(49)Drive Motor Battery Cover Terminal Bolt
(50)Battery Cable Terminal Retainer
(51)Drive Motor Battery High Voltage Manual Disconnect Lever Assembly
(52)Drive Motor Battery Disconnect Switch Nut
(53)Battery Disconnect Switch Cable Assembly
(54)Drive Motor Battery Cable Nut
(55)Battery Positive and Negative Cable Cover
(56)Drive Motor Battery Cooling Air Outlet Duct Seal
(57)Drive Motor Generator Battery Ground Bolt
(58)Drive Motor Generator Battery Mounting Nut
(59)Battery Terminal Cover
(60)Battery Terminal Cover
(61)Drive Motor Battery Rear Cover Bolt
(62)Drive Motor Battery Rear Cover Assembly
(63)Drive Motor Generator Battery Ground Nut
(64)Drive Motor Battery Cooling Air Outlet Duct Seal
(65)Drive Motor Generator Battery Retainer Nut
(66)Drive Motor Generator Battery Negative Relay Bracket Nut
(67)Drive Motor Generator Battery Negative Relay Bracket
(68)Drive Motor Battery Negative Relay Bracket Bolt
(69)Drive Motor Battery Negative High Voltage Contactor Relay Assembly
(70)Drive Motor Battery Negative Relay Cable Assembly
(71)Drive Motor Battery Cable Assembly Nut
(72)Drive Motor Battery Cable Terminal Nut
(73)Drive Motor Battery Housing Relay Nut