GM Service Manual Online
For 1990-2009 cars only
Figure 1:

Rear Lighting (Z75 without E52)


Object Number: 2049221  Size: LF
(1)License Lamp - Left
(2)Rearview Camera (UVC)
(3)License Lamp - Right
(4)Tail/Stop and Turn Signal Lamp - Upper Right
(5)Tail/Stop and Turn Signal Lamp - Lower Right
(6)Marker Lamp - Right Rear
(7)Backup Lamp - Right
(8)Object Alarm Sensor - Right Rear Corner (UD7)
(9)Object Alarm Sensor - Right Rear Middle (UD7)
(10)Object Alarm Sensor - Left Rear Middle (UD7)
(11)Object Alarm Sensor - Left Rear Corner (UD7)
(12)Backup Lamp - Left
(13)Marker Lamp - Left Rear
(14)Tail/Stop and Turn Signal Lamp - Lower Left
(15)Tail/Stop and Turn Signal Lamp - Upper Left
(16)Center High Mounted Stop Lamp (CHMSL)
Figure 2:

Rear Lighting (X88 without E52)


Object Number: 2049218  Size: LF
(1)License Lamp - Left
(2)Rearview Camera (UVC)
(3)License Lamp - Right
(4)Tail/Stop and Turn Signal Lamp - Upper Right
(5)Tail/Stop and Turn Signal Lamp - Lower Right
(6)Marker Lamp - Right Rear
(7)Backup Lamp - Right
(8)Object Alarm Sensor - Right Rear Corner (UD7)
(9)Object Alarm Sensor - Right Rear Middle (UD7)
(10)Object Alarm Sensor - Left Rear Middle (UD7)
(11)Object Alarm Sensor - Left Rear Corner (UD7)
(12)Tail/Turn Signal Lamp - Left
(13)Marker Lamp - Left Rear
(14)Tail/Stop and Turn Signal Lamp - Lower Left
(15)Tail/Stop and Turn Signal Lamp - Upper Left
(16)Center High Mounted Stop Lamp (CHMSL)
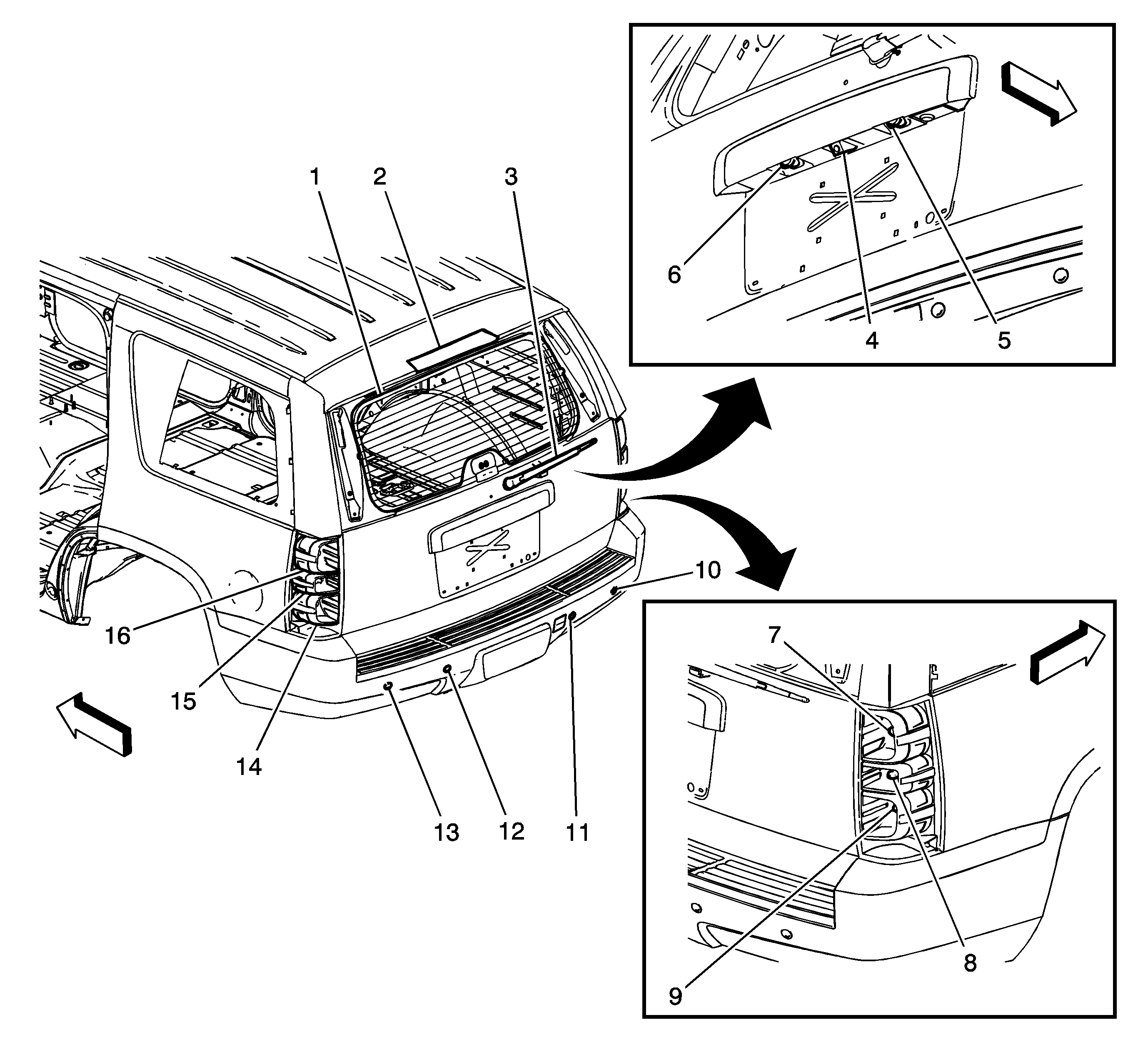
Figure 3:

Rear of Vehicle Components (X88 or Z88 with E52 or TB7)


Object Number: 2051426  Size: LF
(1)Rear Window Defogger Grid
(2)Center High Mounted Stop Lamp (CHMSL)
(3)Rear Window Wiper
(4)Rearview Camera (UVC with E52)
(5)License Lamp - Left
(6)License Lamp - Right
(7)Tail/Stop Lamp - Right (X88 or Z88, with E52)
(8)Backup Lamp - Right
(9)Tail/Turn Signal Lamp - Right (X88 or Z88, with E52)
(10)Object Alarm Sensor - Right Rear Corner (UD7)
(11)Object Alarm Sensor - Right Rear Middle (UD7)
(12)Object Alarm Sensor - Left Rear Middle (UD7)
(13)Object Alarm Sensor - Left Rear Corner (UD7)
(14)Tail/Turn Signal Lamp - Left (X88 or Z88, with E52)
(15)Backup Lamp - Left
(16)Tail/Stop Lamp - Left (X88 or Z88, with E52)
Figure 4:

Rear Lighting (Z75 with E52)


Object Number: 2049227  Size: LF
(1)Rear Window Defogger Grid
(2)Center High Mounted Stop Lamp (CHMSL)
(3)Rear Window Wiper
(4)Rearview Camera (UVC)
(5)License Plate Lamp - Left
(6)License Plate Lamp - Right
(7)Tail Lamp Circuit Board - Right
(8)Marker Lamp - Right Rear
(9)Backup Lamp - Right
(10)Tail Lamp Circuit Board - Right
(11)Object Alarm Sensor - Right Rear Corner (UD7)
(12)Object Alarm Sensor - Right Rear Middle (UD7)
(13)Object Alarm Sensor - Left Rear Middle (UD7)
(14)Object Alarm Sensor - Left Rear Corner (UD7)
(15)Tail Lamp Circuit Board - Left
(16)Backup Lamp - Left
(17)Tail Lamp Circuit Board - Left
(18)Marker Lamp - Left Rear
Figure 5:

Liftgate Components (E52)


Object Number: 1755826  Size: LF
(1)Liftgate Window Latch Assembly (E52)
(2)Liftgate Object Sensor - Left (E61)
(3)Liftgate Handle Switch (E52)
(4)Liftgate Window Ajar Switch (E52)
(5)Rear Window Wiper Motor (E52)
(6)Liftgate Close Switch (E61)
(7)Liftgate Object Sensor - Right (E61)
Figure 6:

Rear Cargo Area (-E52)


Object Number: 2060003  Size: LF
(1)Information Center Telltale Assembly (UD7 without E52)
(2)Remote Control Door Lock Receiver (RCDLR) (AP3 or AP8, without E52)
Figure 7:

Rear Window Antenna Module (U84)


Object Number: 2060253  Size: LF
(1)Antenna Module (U84)
Figure 8:

Auxiliary HVAC Components (Short Wheel Base with C69)


Object Number: 2062111  Size: LF
(1)Air Temperature Sensor - Upper Auxiliary (C69 with CJ2)
(2)Mode Actuator - Auxiliary (C69)
(3)Blower Motor - Auxiliary (C69)
(4)Blower Motor Control Module - Auxiliary (C69)
(5)Air Temperature Sensor - Lower Auxiliary (SWB with C69 or with CJ2)
(6)Air Temperature Sensor - Upper Auxiliary (SWB with C69 or with CJ2)
Figure 9:

Auxiliary HVAC Components (Long Wheel Base with C69)


Object Number: 2062034  Size: LF
(1)Mode Actuator - Auxiliary (C69)
(2)Air Temperature Sensor - Upper Auxiliary (C69 with CJ2)
(3)Air Temperature Actuator - Auxiliary (LWB with C69
(4)Blower Motor - Auxiliary (C69)
(5)Blower Motor Control Module - Auxiliary (C69)
(6)Air Temperature Sensor - Lower Auxiliary (LWB with C69 or with CJ2)
Figure 10:

Left Rear Cargo Area (HP2)


Object Number: 2062326  Size: LF
(1)Accessory AC/DC Power Control Module (HP2)
(2)Accessory Power Outlet - 110V AC (HP2)
Figure 11:

Left Rear of the Cargo Area Components (E52)


Object Number: 2099834  Size: LF
(1)Remote Control Door Lock Receiver (RCDLR) (AP3 or AP8)
(2)Inflatable Restraint Roof Rail Module - Left Rear (E52 with ASF)
(3)Speaker - Left D-Pillar
(4)Liftgate Module
(5)Liftgate Motor Assembly
(6)Liftgate Object Sensor - Left
Figure 12:

Right Rear of the Cargo Area Components (E52)


Object Number: 2100590  Size: LF
(1)Speaker - Right D-Pillar
(2)Inflatable Restraint Roof Rail Module - Right Rear (E52 with ASF)
(3)Information Center Telltale Assembly (UD7)
(4)Liftgate Object Sensor - Right
(5)Accessory Power Outlet - Rear