GM Service Manual Online
For 1990-2009 cars only

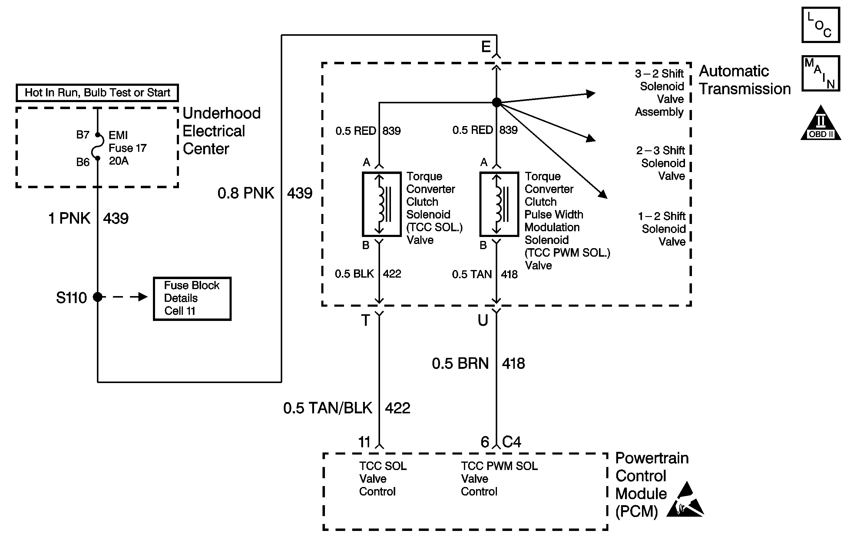
Object Number: 1552887  Size: MF
OBD II Symbol Description Notice
Handling ESD Sensitive Parts Notice

Circuit Description

In conjunction with the TCC PWM Solenoid Valve, the TCC Solenoid Valve controls fluid acting on the TCC Valve. The TCC Valve controls the application and release of the TCC. The TCC solenoid is a normally-open, ON/OFF device. The solenoid attaches to the transmission case assembly extending into the pump cover. The PCM monitors the TP voltage, the vehicle speed, and other inputs in order to determine when to energize the TCC Solenoid Valve. Circuit 439 supplies ignition voltage directly to the TCC Solenoid Valve. The PCM controls the solenoid by providing the ground path through circuit 422.

When the PCM detects a continuous open or a short to ground in the TCC Solenoid Valve circuit or the TCC Solenoid Valve, then DTC P1864 sets. DTC P1864 is a type A DTC.

Conditions for Setting the DTC

    • The system voltage is 10-17 volts.
    • The ignition is ON.
    • The PCM commands the solenoid ON and the voltage remains high (B+).
    • The PCM commands the solenoid OFF and the voltage remains low (0 volts).
    • All conditions met for 5 seconds.

Action Taken When the DTC Sets

    • The PCM inhibits TCC engagement.
    • The PCM inhibits 4th gear if in hot mode.
    • The PCM freezes shift adapts from being updated.
    • The PCM illuminates the Malfunction Indicator Lamp (MIL).

Conditions for Clearing the MIL/DTC

    • The PCM turns OFF the MIL after three consecutive ignition cycles without a failure reported.
    • A scan tool can clear the DTC from the PCM history. The PCM clears the DTC from the PCM history if the vehicle completes 40 warm-up cycles without a failure reported.
    • The PCM cancels the DTC default actions when the fault no longer exists and the ignition is OFF long enough in order to power down the PCM.

Diagnostic Aids

    • Inspect the wiring for any poor electrical connections at the PCM. Inspect the wiring at the TCC brake switch. Look for the following conditions:
       - A bent terminal
       - A backed out terminal
       - A damaged terminal
       - Poor terminal tension
       - A chafed wire
       - A broken wire inside the insulation
    • When diagnosing for an intermittent short or an open condition, massage the wiring harness while watching the test equipment for changes.
    • With the TCC engaged, the TCC slip speed should be between -20 and +20 RPM.
    • A short to ground in the TCC Solenoid Valve circuit may also set a TCC Stuck On DTC P0742.

Test Description

The numbers below refer to the step numbers on the diagnostic chart.

  1. This step verifies that the solenoid receives current.

  2. This step verifies the ability of the PCM and the wiring to control the ground circuit.

  3. This step measures the resistance of the TCC Sol. Valve and the Automatic Transmission Wiring Harness.

DTC P1864 Torque Converter Clutch Solenoid Valve (TCC Sol Valve) -- Electrical

Step

Action

Value(s)

Yes

No

1

Was the Powertrain On-Board Diagnostic (OBD) System Check performed?

--

Go to Step 2

Go to Powertrain On Board Diagnostic (OBD) System Check , Section 6

2

  1. Install the scan tool (tech 1) ®.
  2. With the engine OFF, turn the ignition switch to the RUN position.
  3. Important:: Before clearing the DTCs, use the scan tool in order to record the Freeze Frame and the Failure Records for reference. The Clear Info function will erase the data.

  4. Record the DTC Freeze Frame and the Failure Records.

Are DTCs P0753, P0758, P1860, P1864 or P1886 set?

--

Go to Step 3

Go to Step 4

3

Inspect circuit 439, the solenoid, the emissions fuse, and the Automatic Transmission Wiring Harness for an open or a short to ground.

Refer to Electrical Diagnosis, Section 8.

Did you find and correct a problem?

--

Go to Step 15

--

4

  1. Turn the ignition switch to the OFF position.
  2. Disconnect the transmission 20-way connector (additional DTCs may set).
  3. Install the J 39775 Jumper Harness on the engine harness connector .
  4. With the engine OFF, turn the ignition switch to the RUN position.
  5. Connect a test tamp from cavity E of the J 39775 Jumper Harness connector to a known good ground.

Does the test lamp illuminate?

--

Go to Step 6

Go to Step 5

5

Repair the open or short to ground in the ignition feed circuit 439 to the TCC Sol. Valve.

Refer to Electrical Diagnosis, Section 8.

Is the repair complete?

--

Go to Step 15

--

6

  1. Install the test lamp between the cavities E and T of the J 39775 Jumper Harness.
  2. Using the scan tool, command the TCC Sol. Valve ON and OFF 3 times.

Does the test lamp illuminate when you command the TCC Sol. Valve ON, and turn OFF when you command OFF?

--

Go to Step 8

Go to Step 7

7

  1. Inspect circuit 422 for an open.
  2. Inspect circuit 422 for a short to ground.
  3. Repair the circuit if necessary.

Refer to Electrical Diagnosis, Section 8.

Did you find and correct a problem?

--

Go to Step 15

Go to Step 9

8

Inspect the PCM connector terminals for the following conditions:

    • Damaged connector pins
    • Backed out connector pins
    • Weak terminal tension
    • Repair the connectors if necessary.

Did you find and correct a problem?

--

Go to Step 15

Go to Step 14

9

  1. Install the J 39775 Jumper Harness on the Connector End View 20-way connector.
  2. Using the J 39200 DMM and the J 35616-A Connector Test Adapter Kit, measure the resistance between the terminal E and the transmission case (ground) then measure the resistance between the terminal T and the transmission case (ground).

Are both readings greater than the specified value?

250kohms

Go to Step 11

Go to Step 10

10

  1. Inspect the Automatic Transmission Wiring Harness for a short to ground.
  2. Repair the harness if necessary.

Refer to Electrical Diagnosis, Section 8.

Did you find and correct a problem?

--

Go to Step 15

--

11

  1. Install the J 39775 Jumper Harness on the Connector End View 20-way connector.
  2. Using the J 39200 DMM and the J 35616-A Connector Test Adapter Kit, measure the resistance between the terminals T and E.

Is the resistance within the range shown?

21-33ohms

Go to Diagnostic Aids

Go to Step 12

12

  1. Inspect the Automatic Transmission Wiring Harness for an open.
  2. Repair the harness if necessary.

Refer to Electrical Diagnosis, Section 8.

Did you find and correct a problem?

--

Go to Step 15

Go to Step 13

13

Replace the TCC Sol. Valve.

Refer to Torque Converter Clutch Solenoid Valve Replacement, in On-Vehicle Service.

Is the replacement complete?

--

Go to Step 15

--

14

Replace the PCM.

Refer to Powertrain Control Module Replacement/Programming , Section 6.

Is the replacement complete?

--

Go to Step 15

--

15

  1. After the repair is complete, select DTC.
  2. Select Clear Info.
  3. Operate the vehicle. Ensure the following conditions:
  4. • Commanding the TCC Sol. Valve ON causes the voltage to decrease to zero.
    • Commanding the TCC Sol. Valve OFF causes the voltage to increase to Battery Positive.
    • All conditions met for 5 seconds.
  5. Select Specific DTC and enter DTC P1864.

Has the test run and passed?

--

System OK

Begin the diagnosis again. Go to Step 1