GM Service Manual Online
For 1990-2009 cars only

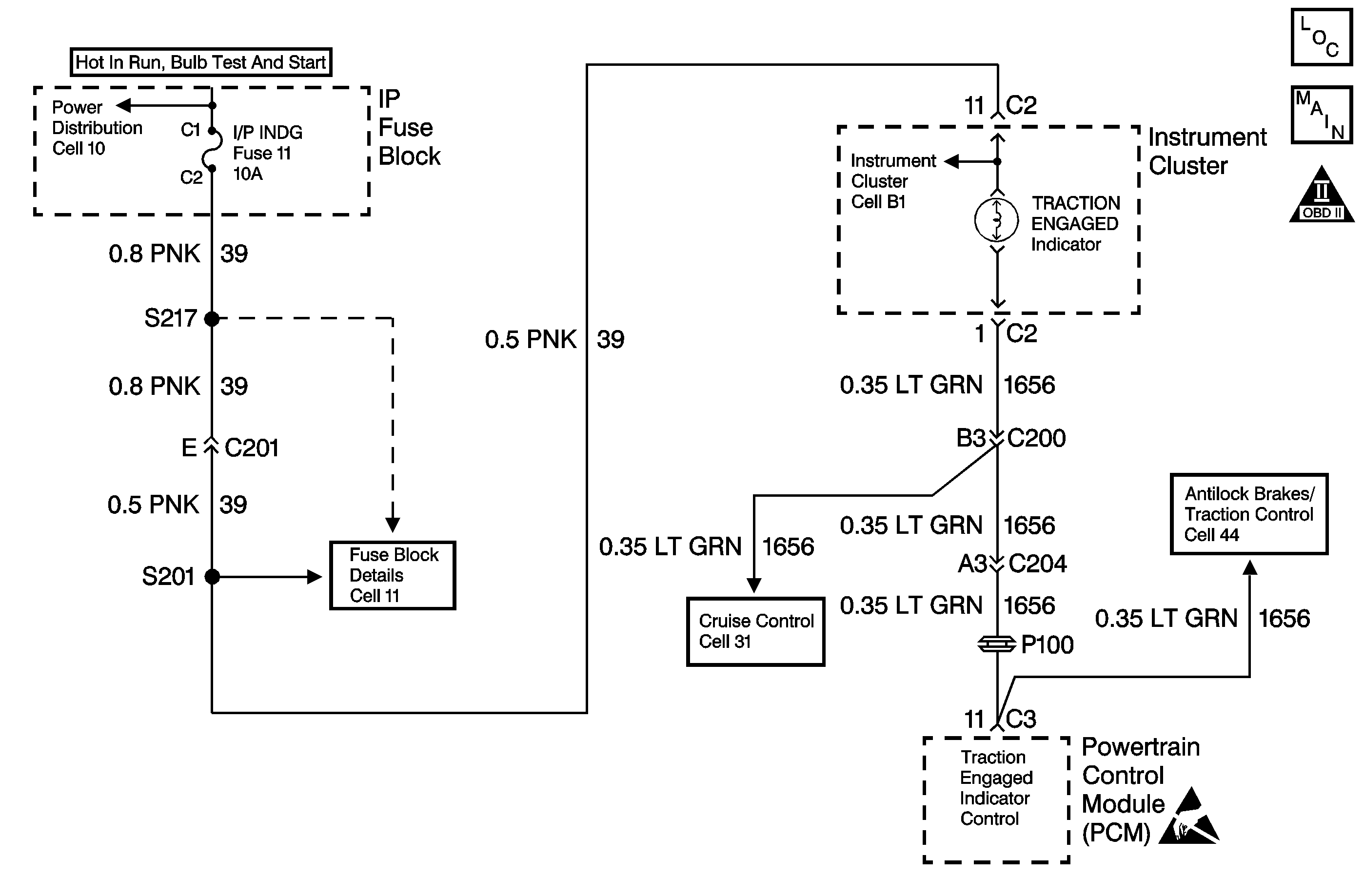
Object Number: 1552884  Size: MF
OBD II Symbol Description Notice
Handling ESD Sensitive Parts Notice

Circuit Description

The PCM receives an input signal from the traction control system (TCS) indicating that a traction control event is occurring. The Battery Positive signal during normal operation becomes zero volts during the traction control event. The PCM inhibits upshifts, downshifts, and TCC operation during a traction control event.

If the PCM detects an active traction control circuit in Park and Neutral, in 2 consecutive ignition cycles, then DTC P1572 sets. DTC P1572 is a type A DTC.

Conditions for Setting the DTC

    • No TFP Val Position Sw DTC P1810
    • The transmission is in Park or Neutral.
    • The traction control is active.
    • All conditions are satisfied for 6.4 seconds.

Action Taken When the DTC Sets

    • If the TCS is active, then the TCC is OFF.
    • The PCM inhibits 4th gear if in hot mode.
    • The PCM freezes shift adapts.
    • The PCM illuminates the Malfunction Indicator Lamp (MIL).

Conditions for Clearing the MIL/DTC

    • The PCM turns OFF the MIL after three consecutive ignition cycles without a failure reported.
    • A scan tool can clear the DTC from the PCM history. The PCM clears the DTC from the PCM history if the vehicle completes 40 warm-up cycles without a failure reported.
    • The PCM cancels the DTC default actions when the fault no longer exists and the ignition is OFF long enough in order to power down the PCM.

Diagnostic Aids

    • Inspect the wiring for any poor electrical connections at the PCM. Inspect the wiring at the TCC brake switch. Look for the following conditions:
       - A bent terminal
       - A backed out terminal
       - A damaged terminal
       - Poor terminal tension
       - A chafed wire
       - A broken wire inside the insulation
    • When diagnosing for an intermittent short or an open condition, massage the wiring harness while watching the test equipment for a change.

Test Description

The item number below refers to the step number on the diagnostic table.

  1. Disconnecting the C3 PCM connector isolates the PCM from the traction control system.

DTC P1572

Step

Action

Value(s)

Yes

No

1

Was the Powertrain On-Board Diagnostic (OBD) System Check performed?

--

Go to Step 2

Go to Powertrain On Board Diagnostic (OBD) System Check , Section 6.

2

  1. Install the Scan Tool ®.
  2. With the engine OFF, turn the ignition switch to the RUN position.
  3. Important: Before clearing the DTCs, use the scan tool in order to record the Freeze Frame and Failure Records for reference. The Clear Info function will erase the data.

  4. Record the DTC Freeze Frame and Failure Records.

Does the scan tool display the Traction Control as Active?

--

Go to Step 3

Go to Diagnostic Aids

3

  1. Turn the ignition switch to the OFF position.
  2. Disconnect the C3 (clear) PCM connector.
  3. Turn the ignition switch to the RUN position.

Does the scan tool still display the Traction Control as Active?

--

Refer to ABS/TCS Diagnostic System Check, Section 5

Go to Step 4

4

Replace the PCM.

Refer to Powertrain Control Module Replacement/Programming , Section 6.

Is the replacement complete?

--

Go to Step 5

--

5

  1. After the repair is complete, select DTC.
  2. Select Clear Info.
  3. Ensure that the traction control is not active for 6.4 seconds.
  4. Select Specific DTC. Enter DTC P1572.

Has the test run and passed?

--

System OK

Begin the diagnosis again. Go to Step 1