GM Service Manual Online
For 1990-2009 cars only
Makes
🢒
Cadillac
🢒
2008
🢒
SLS
🢒
Engine
🢒
Engine Controls and Fuel - 2.8L, 3.0L, 3.2L, or 3.6L
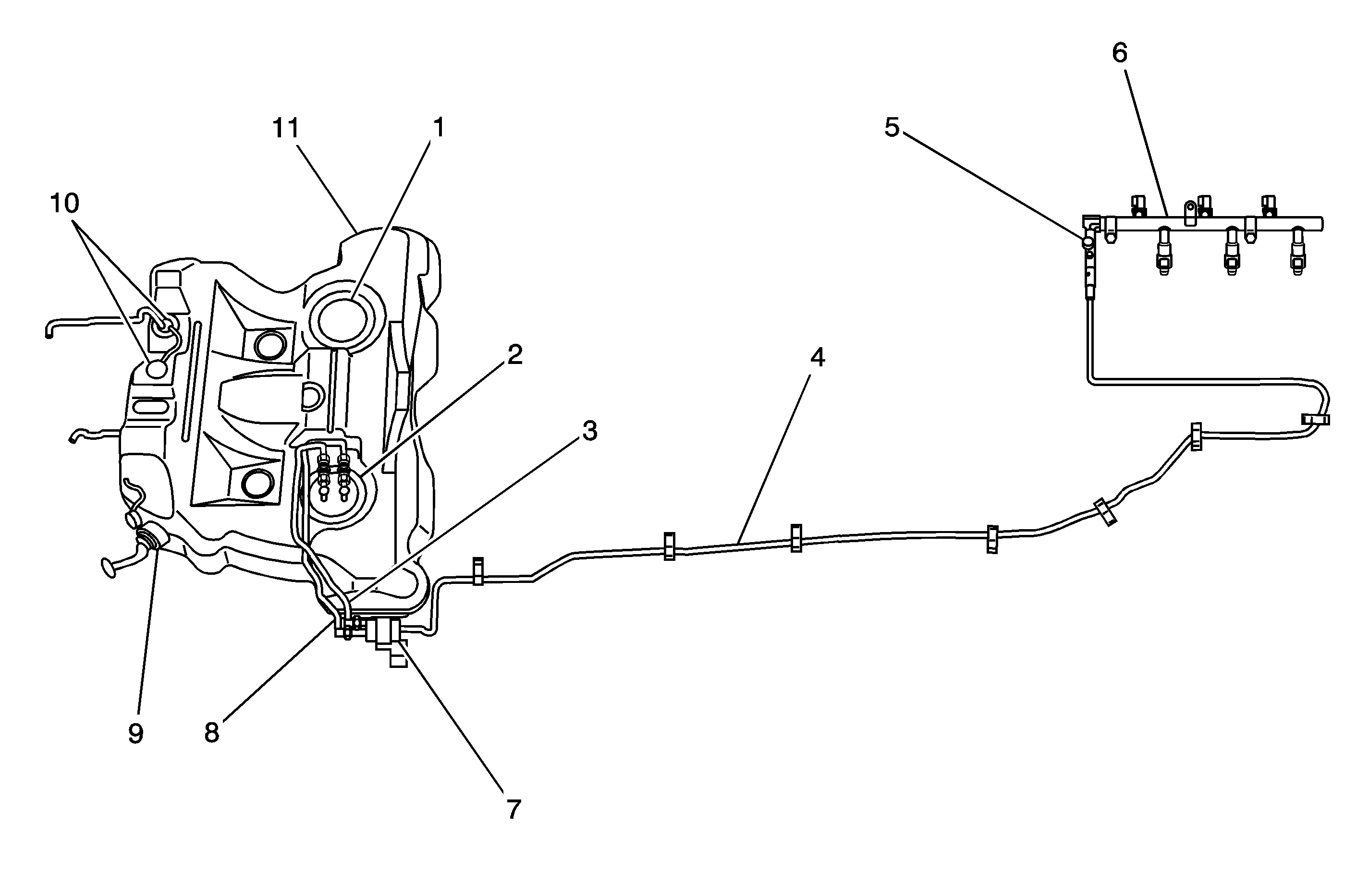
🢒 Fuel Hose/Pipes Routing Diagram
(1)
Secondary Fuel Sender Assembly - Left
(2)
Primary Fuel Sender Assembly - Right
(3)
Fuel Feed Hose
(4)
Fuel Feed Pipe
(5)
Fuel Pressure Test Connection
(6)
Fuel Rail and Injectors
(7)
Fuel Filter
(8)
Fuel Return Hose
(9)
Fuel Filler Tube
(10)
Fill Limit Vent Valve (FLVV)
(11)
Fuel Tank