GM Service Manual Online
For 1990-2009 cars only
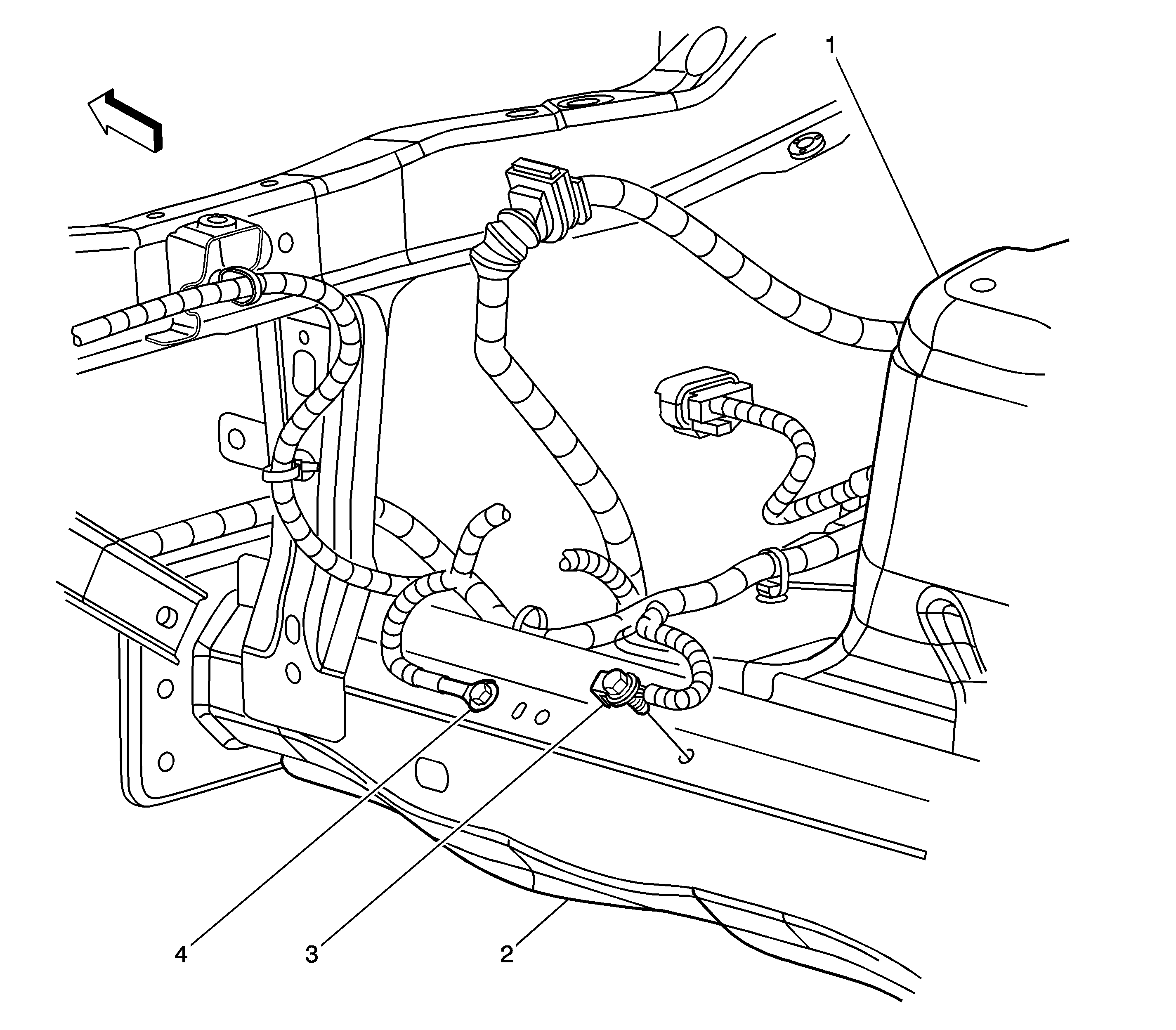
Figure 1:

Body Harness - Front


Object Number: 1419817  Size: LF
(1)Fuse Block - RR
(2)G306
(3)Fuse Block - LR
(4)C302 (KA6)
(5)C700
(6)C300
(7)C301
(8)G307
(9)C205
(10)C205
(11)S207
(12)C500
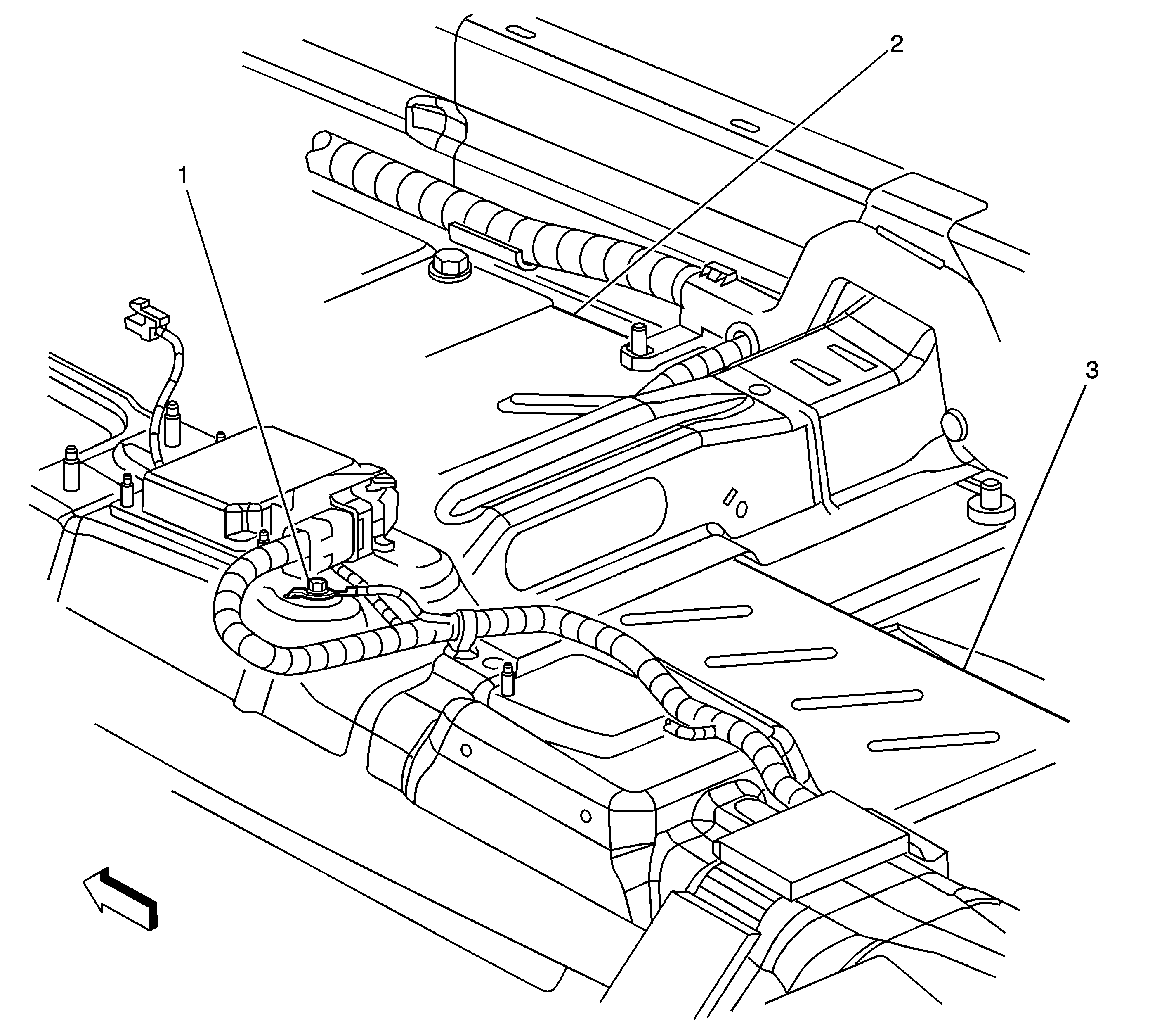
(13)G200
(14)S205
(15)C204
(16)C206
(17)C201
(18)Fuse Block - Underhood C3
(19)Fuse Block - Underhood C2
(20)C213
(21)C212
(22)C101
(23)S208
(24)G201
(25)S209
(26)C600
(27)C200
(28)SP303
(29)S303
(30)S302
(31)S306
(32)C800
(33)S317
Figure 2:

Forward Lamp Harness


Object Number: 2012953  Size: LF
(1)Headlamp Leveling Actuator - Left Connector
(2)Headlamp Assembly - Left
(3)Hood Ajar Switch Connector
(4)Cruise Control Module Connector
(5)Ambient Air Temperature Sensor Connector
(6)Air Quality Sensor Connector
(7)Headlamp Level Controller
(8)Fuse Block - Underhood C1
(9)C112
(10)C108
(11)C111 (w/K59, TT6)
(12)S116
(13)C113 (LH2)
(14)G110
(15)G104
(16)Cooling Fan - Right Connector
(17)S110
(18)S111
(19)Cooling Fan - Left Connector
(20)Horn Assembly Connector
(21)C107
Figure 3:

G100, G106 and G107


Object Number: 1488380  Size: LF
(1)Right Cylinder Head
(2)G106
(3)G100 (LH2)
(4)G107 (LH2)
Figure 4:

G101


Object Number: 1488382  Size: LF
(1)LF Strut Tower
(2)G101
Figure 5:

G103, G109 and G113 (LY7)


Object Number: 1530183  Size: LF
(1)G109
(2)G103
(3)C106
(4)G113
(5)Right Cylinder Block
Figure 6:

G104 and G110


Object Number: 1488402  Size: LF
(1)RF Strut Tower
(2)RF Frame Rail
(3)G110
(4)G104
Figure 7:

G112 (LY7)


Object Number: 1530182  Size: LF
(1)Valve Cover
(2)G112
(3)Starter
Figure 8:

G200


Object Number: 1488390  Size: LF
(1)Body Harness
(2)LF Floor Panel
(3)G200
Figure 9:

G201


Object Number: 1488384  Size: LF
(1)Body Harness
(2)RF Kick Panel
(3)G201
Figure 10:

G306


Object Number: 1488392  Size: LF
(1)G306
(2)RF Floor Pan
(3)RR Floor Pan
Figure 11:

G307 and Splice Pack SP300


Object Number: 1488399  Size: LF
(1)Splice Pack SP300
(2)G307
(3)LF Floor Panel
Figure 12:

G401


Object Number: 1488394  Size: LF
(1)RR Fender
(2)G401
(3)Trunk Compartment Floor Panel
Figure 13:

G402


Object Number: 1488396  Size: LF
(1)G402
(2)LR Fender
Figure 14:

G403


Object Number: 1488404  Size: LF
(1)Right Side C Pillar
(2)G403
(3)Defogger Connector
Figure 15:

G404


Object Number: 1488403  Size: LF
(1)G404
(2)Left Side C Pillar
(3)Body Harness
Figure 16:

Rear Fuse Blocks


Object Number: 1488407  Size: LF
(1)Fuse Block - Right Rear
(2)Fuse Block - Left Rear
(3)Floor Panel
Figure 17:

Right Front of the Engine Compartment


Object Number: 1488512  Size: LF
(1)Battery
(2)Battery Current Sensor
(3)G105
(4)Fuse Block - Underhood
(5)Transmission Control Module (TCM)
(6)Suspension Damper - RF (F55)