GM Service Manual Online
For 1990-2009 cars only

Special Tools

    • J 8062 Valve Spring Compressor
    • J 38820 Valve Stem Seal Installer
    • J 38821 Valve Spring Compressor Adapter
    • J-43059-A Valve Retainer Remover/Installer

    Object Number: 1750847  Size: SH
  1. Apply sealant GM P/N 12345382 (Canadian P/N 10953489) to the threads (1) of the core hole threaded plugs.
  2. Notice: Refer to Fastener Notice in the Preface section.


    Object Number: 1750844  Size: SH
  3. Install the core hole threaded plugs.
  4. Tighten
    Tighten the core hole threaded plugs to 80 N·m (60 lb ft).


    Object Number: 1750848  Size: SH
  5. Apply sealant GM P/N 12345382 (Canadian P/N 10953489) to the threads (1) of the oil gallery threaded plugs.

  6. Object Number: 1750841  Size: SH
  7. Install the oil gallery threaded plugs.
  8. Tighten
    Tighten the oil gallery threaded plugs to 60 N·m (44 lb ft).


    Object Number: 1750849  Size: SH
  9. Apply sealant GM P/N 12345382 (Canadian P/N 10953489) to the outside diameter (1) of the NEW engine coolant expansion plugs.

  10. Object Number: 1750839  Size: SH
  11. Install the NEW engine coolant expansion plugs.

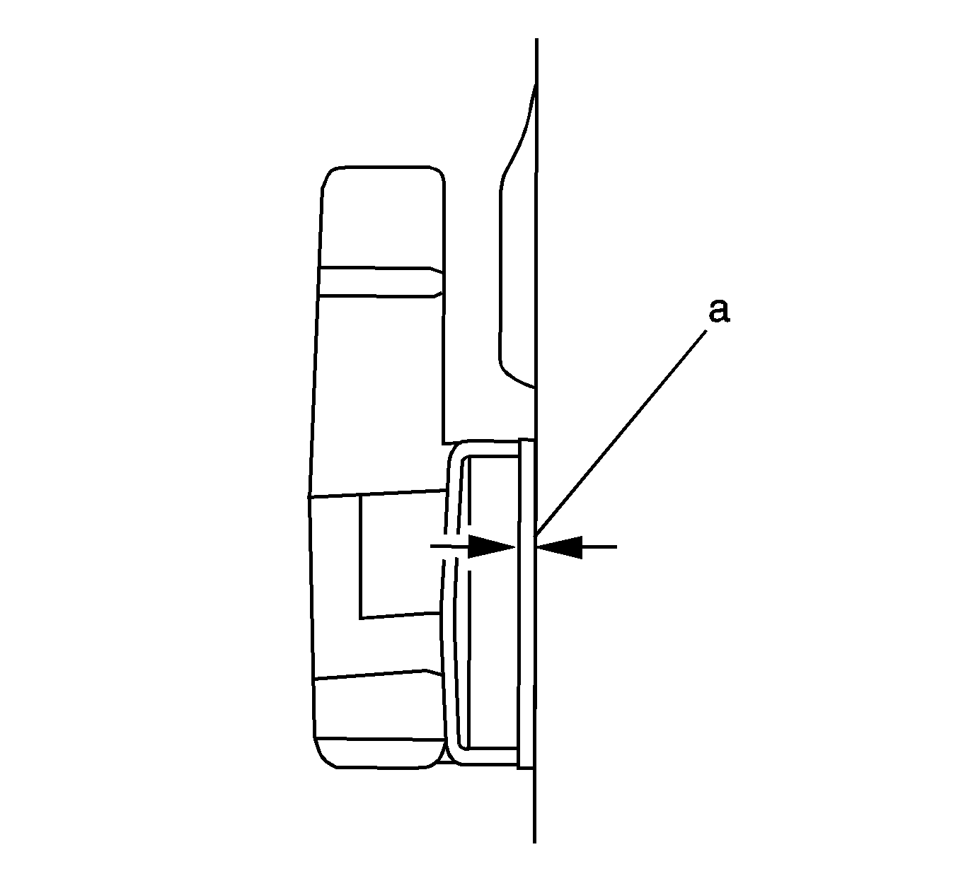
  12. Object Number: 1750850  Size: SH
  13. Ensure the engine coolant expansion plugs are installed to the proper depth (a) of 0.00-0.50 mm (0.00-0.020 in) deep.

  14. Object Number: 1039619  Size: SH
  15. Lubricate the valve stem with clean engine oil.
  16. Insert the valve into the valve guide until it bottoms on the valve seat.
  17. Lubricate the new valve seal with engine oil.
  18. Using the J 38820 , install the new valve seal using the following procedure:
  19. 11.1. Place the valve lifter bore protector into the lifter bore.
    11.2. Mount the new valve seal in the J 38820 .
    11.3. Push and twist the new valve seal into position on the valve guide until the seal positively locks on the guide.

    Object Number: 1039617  Size: SH
  20. Position the valve spring on the spring seat.

  21. Object Number: 1039574  Size: SH

    Caution: Compressed valve springs have high tension against the valve spring compressor. Valve springs that are not properly compressed by or released from the valve spring compressor can be ejected from the valve spring compressor with intense force. Use care when compressing or releasing the valve spring with the valve spring compressor and when removing or installing the valve stem keys. Failing to use care may cause personal injury.

    Notice: Do not compress the valve springs to less than 24.0 mm (0.943 in). Contact between the valve spring retainer and the valve stem oil seal can cause potential valve stem oil seal damage.

  22. Compress the valve spring using the J 8062 (2) and the J 38821 (1).

  23. Object Number: 1210911  Size: SH
  24. With the spring compressed, install the valve keepers into the J-43059-A .

  25. Object Number: 1039627  Size: SH
  26. Place the keepers into position by pushing the tool downward.
  27. Release the tension on the spring compressor and remove the J 38821 .
  28. Verify that the valve keepers are installed by placing a rag over the valve tip and tapping with a dead-blow hammer. The valve keepers and the spring should remain in place.
  29. Repeat this procedure for the remaining valves.