GM Service Manual Online
For 1990-2009 cars only

Special Tools

    • J 42385-2000 Thread Insert Kit
    • J 42385-2030 M11 x 2.0 Cylinder Head Bolt - Northstar/Premium V8 Thread Repair Kit
    • J 43965 Thread Repair Extension Kit

The thread repair process involves a solid, thin walled, self-locking, carbon steel, bushing type insert. During the insert installation process, the installation driver tool cold-rolls the bottom internal threads and expands the bottom external threads of the insert into the base material. This action mechanically locks the insert into place.


Object Number: 613176  Size: SH

The drill bit and counter bore tool from the tool kit J 42385-2000 and J 42385-2030 is designed for use with either a suitable tap wrench or drill motor. Limited access and larger hole repair may process better using a tap wrench. An extension from kit J 43965 may also be necessary to drive the thread repair tooling dependent on access to the hole being repaired. Use only a tap wrench when tapping the hole and during installation of the insert.


Object Number: 623356  Size: SH

It is critical that the drilling, counterboring and tapping of the hole to be repaired follows the same centerline as the original hole.


Object Number: 623359  Size: SH

During the drilling and tapping of the hole being repaired, ensure the tooling is consistently machining perpendicular to the surface of the base material.


Object Number: 1447992  Size: SH

If the threaded hole being repaired has a base surface perpendicular to the hole centerline, tapping guides are available to aid in tapping the hole.

Tap Size

Tap Guide

Tape Size

Tape Guide

Tap Size

Tape Guide

--

J 42385-

--

J 42385-

--

J 42385-

6 x 1.0

729

10 x 1.5

731

14 x 1.5

736

8 x 1.25

730

12 x 1.5

732

20 x 1.5

737

Standard Thread Repair - Flush Hole


Object Number: 320675  Size: SH

Caution: Refer to Safety Glasses Caution in the Preface section.

Important: The use of a cutting type fluid GM P/N 1052864 (Canadian P/N 992881), WD 40® or equivalent is recommended when performing the drilling, counterboring and tapping procedures.

When installed to the proper depth, the flange (1) of the insert will be seated against the counterbore of the drilled/tapped hole and just below the surface (2) of the base material.


    Object Number: 607388  Size: SH

    Important: 

       • During the drilling process, it is necessary to repeatedly remove the drill and clean chips from the hole and the flutes of the drill.
       • DO NOT drill any further than the original hole depth.

  1. Drill out the threads of the damaged hole.
  2. • M6 inserts require a minimum drill depth of 15 mm (0.59 in).
    • M8 inserts require a minimum drill depth of 20 mm (0.79 in).
    • M10 inserts require a minimum drill depth of 23.5 mm (0.93 in).

    Object Number: 623361  Size: SH

    Important: All chips must be removed from the drilled hole prior to tapping.

  3. Using compressed air, clean out any chips.

  4. Object Number: 320672  Size: SH

    Important: A properly counterbored hole will show a slight burnishing on the surface of the base material for 360 degrees around the drilled hole.

  5. Counterbore the drilled hole to the full depth permitted by the tool (1).

  6. Object Number: 623361  Size: SH

    Important: All chips must be removed from the drilled hole prior to tapping.

  7. Using compressed air, clean out any chips.

  8. Object Number: 607400  Size: SH

    Important: 

       • During the tapping process, it is necessary to repeatedly remove the tap and clean chips from the hole and the flutes of the tap.
       • Ensure the tap has created full threads at least to the depth equal to the insert length.

  9. Using a suitable tapping wrench, tap the threads of the drilled hole by hand only.
  10. • M6 inserts require a minimum tap depth of 15 mm (0.59 in).
    • M8 inserts require a minimum tap depth of 20 mm (0.79 in).
    • M10 inserts require a minimum tap depth of 23.5 mm (0.93 in).

    Object Number: 623361  Size: SH

    Important: All chips must be removed from the tapped hole prior to insert installation.

  11. Using compressed air, clean out any chips.

  12. Object Number: 623364  Size: SH
  13. Spray cleaner GM P/N 12346139, GM P/N 12377981 (Canadian P/N 10953463) or equivalent into the tapped hole.

  14. Object Number: 623361  Size: SH

    Important: All chips must be removed from the tapped hole prior to insert installation.

  15. Using compressed air, clean out any chips.

  16. Object Number: 313562  Size: SH

    Important: Do not allow oil or other foreign material to contact the outside diameter (OD) of the insert.

  17. Lubricate the threads of the driver installation tool (2) with the driver oil J 42385-110 (1).

  18. Object Number: 313567  Size: SH
  19. Install the insert (2) onto the driver installation tool (1).

  20. Object Number: 313572  Size: SH
  21. Apply threadlock sealant GM P/N 12345493, (Canadian P/N 10953488), J 42385-109, LOCTITE 277® or equivalent (1) to the insert OD threads (2).

  22. Object Number: 320673  Size: SH
  23. Install the insert (2) into the tapped hole by hand only.

  24. Object Number: 613178  Size: SH

    Important: If the insert will not thread down until the flange contacts the counterbored surface, remove the insert immediately with a screw extracting tool and inspect the tapped hole for any remaining chips and/or improper tapping.

  25. Install the insert until the flange (2) of the insert contacts the counterbored surface.

  26. Object Number: 613181  Size: SH

    Important: The driver installation tool will tighten up before screwing completely through the insert. This is acceptable. The threads at the bottom of the insert are being formed and the insert is mechanically locking the insert into the base material threads.

  27. Continue to rotate the driver installation tool (1) through the insert (2).

  28. Object Number: 320675  Size: SH
  29. Inspect the insert for proper installation into the tapped hole. A properly installed insert (1) will be either flush or slightly below flush with the surface of the base material (2).

  30. Object Number: 613183  Size: SH
  31. Any installed insert that restricts or blocks an oil or engine coolant passage (3) will need to have the oil or engine coolant passage drilled out (4) to the original size of the oil or engine coolant passage. After drilling the restriction or blockage, clean out any chips and thread the installation driver tool through the insert again to remove any burrs caused by the drilling of the oil or engine coolant passage.

Recessed Thread Repair


Object Number: 613187  Size: SH

Caution: Refer to Safety Glasses Caution in the Preface section.

Important: 

   • The use of a cutting type fluid GM P/N 1052864, (Canadian P/N 992881), WD 40® or equivalent is recommended when performing the drilling, counterboring and tapping procedures.
   • Do NOT remove the original stop collar from a counterbore drill.

When installed to the proper depth, the flange of the insert (1) will be seated against the counterbore (2) of the drilled/tapped hole.


    Object Number: 313570  Size: SH
  1. Install a stop collar (2) on the counterbore drill (1), if required.

  2. Object Number: 607388  Size: SH

    Important: 

       • During the drilling process, it is necessary to repeatedly remove the drill and clean chips from the hole and the flutes of the drill.
       • Drill the hole until the stop collar contacts the surface of the base material.

  3. Drill out the threads of the damaged hole.

  4. Object Number: 623361  Size: SH

    Important: All chips must be removed from the drilled hole prior to tapping.

  5. Using compressed air, clean out any chips.

  6. Object Number: 607400  Size: SH

    Important: 

       • During the tapping process, it is necessary to repeatedly remove the tap and clean chips from the hole and the flutes of the tap.
       • Ensure the tap has created full threads at least to the depth equal to the insert length.

  7. Using a suitable tapping wrench, tap the threads of the drilled hole by hand only.

  8. Object Number: 623361  Size: SH

    Important: All chips must be removed from the tapped hole prior to insert installation.

  9. Using compressed air, clean out any chips.

  10. Object Number: 623364  Size: SH
  11. Spray cleaner GM P/N 12346139, GM P/N 12377981 (Canadian P/N 10953463) or equivalent into the tapped hole.

  12. Object Number: 623361  Size: SH

    Important: All chips must be removed from the tapped hole prior to insert installation.

  13. Using compressed air, clean out any chips.

  14. Object Number: 313562  Size: SH

    Important: Do not allow oil or other foreign material to contact the OD of the insert.

  15. Lubricate the threads of the driver installation tool (2) with the driver oil J 42385-110 (1).

  16. Object Number: 313567  Size: SH
  17. Install the insert (2) onto the driver installation tool (1).

  18. Object Number: 313572  Size: SH
  19. Apply threadlock sealant GM P/N 12345493, (Canadian P/N 10953488), J 42385-109, LOCTITE 277® or equivalent (1) to the insert OD threads (2).

  20. Object Number: 613190  Size: SH
  21. Install the insert (2) into the tapped hole by hand only.

  22. Object Number: 613196  Size: SH

    Important: If the insert will not thread down until the flange contacts the counterbored surface, remove the insert immediately with a screw extracting tool and inspect the tapped hole for any remaining chips and/or improper tapping.

  23. Install the insert until the flange (2) of the insert contacts the counterbored surface.

  24. Object Number: 613197  Size: SH

    Important: The driver installation tool will tighten up before screwing completely through the insert. This is acceptable. The threads at the bottom of the insert are being formed and the insert is mechanically locking the insert into the base material threads.

  25. Continue to rotate the driver installation tool (1) through the insert (2).

  26. Object Number: 613187  Size: SH
  27. Inspect the insert (1) for proper installation (2) into the tapped hole.

  28. Object Number: 613201  Size: SH
  29. Any installed insert that restricts or blocks an oil or engine coolant passage (3) will need to have the oil or engine coolant passage drilled out (4) to the original size of the oil or engine coolant passage. After drilling the restriction or blockage, clean out any chips and thread the installation driver tool through the insert again to remove any burrs caused by the drilling of the oil or engine coolant passage.

Tapered Pipe Thread Repair

The thread repair insert for tapered pipe threads is coated with a clear silver zinc coating.


Object Number: 613203  Size: SH

Caution: Refer to Safety Glasses Caution in the Preface section.

Important: The use of a cutting type fluid GM P/N 1052864, (Canadian P/N 992881), WD 40® or equivalent is recommended when performing the drilling, counterboring and tapping procedures.

When installed to the proper depth, the flange (1) of the insert will be seated against surface (2) of the base material of the drilled/tapped hole.


    Object Number: 607388  Size: SH

    Important: 

       • During the drilling process, it is necessary to repeatedly remove the drill and clean chips from the hole and the flutes of the drill.
       • Drill the hole until the stop collar contacts the surface of the base material.

  1. Drill out the threads of the damaged hole.

  2. Object Number: 623361  Size: SH

    Important: All chips must be removed from the drilled hole prior to tapping.

  3. Using compressed air, clean out any chips.

  4. Object Number: 607400  Size: SH

    Important: 

       • During the tapping process, it is necessary to repeatedly remove the tap and clean chips from the hole and the flutes of the tap.
       • Ensure the tap has created full threads at least to the depth equal to the insert length.

  5. Using a suitable tapping wrench, tap the threads of the drilled hole by hand only.

  6. Object Number: 613206  Size: SH
  7. Tap the drilled hole until the threads at the top of the tap (2) are down to the surface of the base material.

  8. Object Number: 623361  Size: SH

    Important: All chips must be removed from the tapped hole prior to insert installation.

  9. Using compressed air, clean out any chips.

  10. Object Number: 623364  Size: SH
  11. Spray cleaner GM P/N 12346139, GM P/N 12377981 (Canadian P/N 10953463) or equivalent into the tapped hole.

  12. Object Number: 623361  Size: SH

    Important: All chips must be removed from the tapped hole prior to insert installation.

  13. Using compressed air, clean out any chips.

  14. Object Number: 313562  Size: SH

    Important: Do not allow oil or other foreign material to contact the OD of the insert.

  15. Lubricate the threads of the driver installation tool (2) with the driver oil J 42385-110 (1).

  16. Object Number: 313567  Size: SH
  17. Install the insert (2) onto the driver installation tool (1).

  18. Object Number: 313572  Size: SH
  19. Apply threadlock sealant GM P/N 12345493, (Canadian P/N 10953488), J 42385-109, LOCTITE 277® or equivalent (1) to the insert OD threads (2).

  20. Object Number: 613209  Size: SH
  21. Install the insert (2) into the tapped hole by hand only.

  22. Object Number: 613211  Size: SH

    Important: If the insert will not thread down until the flange contacts the surface of the base material, remove the insert immediately with a screw extracting tool and inspect the tapped hole for any remaining chips and/or improper tapping.

  23. Install the insert until the flange (2) of the insert contacts the surface of the base material.

  24. Object Number: 613214  Size: SH

    Important: The driver installation tool will tighten up before screwing completely through the insert. This is acceptable. The threads at the bottom of the insert are being formed and the insert is mechanically locking the insert into the base material threads.

  25. Continue to rotate the driver installation tool (1) until the top of the threaded section (2) is level with the top of the insert (3).

  26. Object Number: 613203  Size: SH
  27. Inspect the insert (1) for proper installation (2) into the tapped hole.

  28. Object Number: 613218  Size: SH
  29. Any installed insert that restricts or blocks an oil or engine coolant passage (3) will need to have the oil or engine coolant passage drilled out (4) to the original size of the oil or engine coolant passage. After drilling the restriction or blockage, clean out any chips and thread the installation driver tool through the insert again to remove any burrs caused by the drilling of the oil or engine coolant passage.

Cylinder Head Bolt Hole Thread Repair

Special Tools

J 42385-2030 M11 x 2.0 Cylinder Head Bolt - Northstar/Premium V8 Thread Insert Kit


Object Number: 313560  Size: MH

The cylinder head bolt hole thread repair kit J 42385-2030 components consist of the following:

    • Drill (1) J 42385-2031
    • Tap (2) J 42385-2032
    • Installation driver (3) J 42385-2033
    • Stop collar (4) for inboard holes J 42385-2034
    • Alignment pin (5) J 42385-303
    • Bushing (6) J 42385-302
    • Bolts (7) J 42385-2035 and J 42385-2036
    • Fixture plate (8) J 42385-301

Notice: Ensure the cylinder head bolts, tools and inserts that are being used are the proper pitch or engine damage will occur. The thread pitch on the M11 cylinder head bolts and the engine block cylinder head bolt holes have been revised. In order to install the proper pitch insert it is important to identify which thread pitch is being used. Cylinder head bolts with a pitch of 1.5 mm have a thread length of about 48 mm (1.890 in) long. Cylinder head bolts with a pitch of 2.0 mm have a thread length of about 67 mm (2.638 in) long.

Important: 

   • Cylinder head bolt holes with a pitch of 2.0 mm (0.08 in) use the tooling from the J 42385-2030 . Cylinder head bolt holes with a pitch of 1.5 mm (5.90 in) use the tooling from the J 42385-2000 .
   • Verify the depth of the cylinder head bolt hole and the pitch of the cylinder head bolt threads. Measure the depth from the deck surface of the block to the bottom of the cylinder head hole. All cylinder head holes should use only one of the bushings. Never use both bushings to repair a block.

With M11 bolts with a 1.5 mm pitch:

    • Use the bushing J 42385-2022 for inboard holes that measure 73 mm (2.874 in) deep and outboard holes that measure 89.5 mm (3.524 in) deep.
    • Use the bushing J 42385-302 for inboard holes that measure 80 mm (3.150 in) deep and outboard holes that measure 96.5 mm (3.799 in) deep.

With M11 bolts with 2.0 mm pitch:

Use the bushing J 42385-302 for inboard holes that measure 73 mm (2.874 in) deep and outboard holes that measure 89.5 mm (3.524 in) deep.

Inboard Bolt Holes

Caution: Refer to Safety Glasses Caution in the Preface section.

Important: 

   • Remove the fixture plate prior to installing the insert with the installer tool.
   • The use of a cutting type fluid GM P/N 1052864, (Canadian P/N 992881), WD 40® or equivalent is recommended when performing the drilling, counterboring and tapping procedures.

When installed to the proper depth, the flange of the insert will be seated against the counterbore of the drilled/tapped hole.


    Object Number: 440269  Size: SH
  1. Position the fixture plate (3) with the bushing (1) installed over the cylinder head bolt hole to be repaired (4).
  2. Loosely install the fixture plate bolts (2) into the remaining cylinder head bolt holes.

  3. Object Number: 440270  Size: SH
  4. Position the alignment pin (1) through the bushing and into the cylinder head bolt hole.
  5. With the alignment pin in the desired cylinder head bolt hole, tighten the fixture retaining bolts (2).
  6. Remove the alignment pin (1) from the cylinder head bolt hole.

  7. Object Number: 313570  Size: SH
  8. Install the stop collar (2) onto the drill (1).

  9. Object Number: 440268  Size: SH

    Important: 

       • During the drilling process, it is necessary to repeatedly remove the drill and clean chips from the hole and the flutes of the drill.
       • Drill the hole until the stop collar contacts the top of the drill bushing.

  10. Drill out the threads of the damaged hole.

  11. Object Number: 623361  Size: SH

    Important: All chips must be removed from the drilled hole prior to tapping.

  12. Using compressed air, clean out any chips.

  13. Object Number: 440271  Size: SH

    Important: 

       • During the tapping process, it is necessary to repeatedly remove the tap and clean chips from the hole and the flutes of the tap.
       • Ensure the tap has created full threads at least to the depth equal to the insert length.

  14. Using a suitable tapping wrench, tap the threads of the drilled hole by hand only.

  15. Object Number: 377637  Size: SH
  16. In order to tap the new threads for the insert to the proper depth, rotate the tap into the cylinder head bolt hole until the first mark (1) on the tap aligns with the top of the drill bushing (3).

  17. Object Number: 440269  Size: SH

    Important: Remove the fixture plate prior to installing the insert with the installer tool.

  18. Remove the fixture plate bolts (2).
  19. Remove the fixture plate (3) and bushing (1).

  20. Object Number: 623361  Size: SH

    Important: All chips must be removed from the tapped hole prior to insert installation.

  21. Using compressed air, clean out any chips.

  22. Object Number: 623364  Size: SH
  23. Spray cleaner GM P/N 12346139, GM P/N 12377981 (Canadian P/N 10953463) or equivalent into the tapped hole.

  24. Object Number: 623361  Size: SH

    Important: All chips must be removed from the tapped hole prior to insert installation.

  25. Using compressed air, clean out any chips.

  26. Object Number: 313562  Size: SH

    Important: Do not allow oil or other foreign material to contact the OD of the insert.

  27. Lubricate the threads of the driver installation tool (2) with the driver oil J 42385-110 (1).

  28. Object Number: 313567  Size: SH
  29. Install the insert (2) onto the driver installation tool (1).

  30. Object Number: 313572  Size: SH
  31. Apply threadlock sealant GM P/N 12345493, (Canadian P/N 10953488), J 42385-109, LOCTITE 277®, or equivalent (1) to the insert OD threads (2).

  32. Object Number: 440272  Size: SH
  33. Install the insert and installation driver (1) into the tapped hole by hand only.
  34. Start the insert into the threaded hole.
  35. Important: If the insert will not thread down until the flange contacts the counterbored surface, remove the insert immediately with a screw extracting tool and inspect the tapped hole for any remaining chips and/or improper tapping.

  36. Install the insert until the flange of the insert contacts the counterbored surface.
  37. Important: The driver installation tool will tighten up before screwing completely through the insert. This is acceptable. The threads at the bottom of the insert are being formed and the insert is mechanically locking the insert into the base material threads.

  38. Continue to rotate the driver installation tool through the insert.
  39. Inspect the insert for proper installation into the tapped hole.

Outboard Bolt Holes

Caution: Refer to Safety Glasses Caution in the Preface section.

Important: 

   • Remove the fixture plate prior to installing the insert with the installer tool.
   • The use of a cutting type fluid GM P/N 1052864, (Canadian P/N 992881), WD 40® or equivalent is recommended when performing the drilling, counterboring and tapping procedures.

When installed to the proper depth, the flange of the insert will be seated against the counterbore of the drilled/tapped hole.


    Object Number: 622347  Size: SH
  1. Position the fixture plate (3) with the bushing (2) installed over the cylinder head bolt hole to be repaired (4).
  2. Loosely install the fixture plate bolts (1) into the remaining cylinder head bolt holes.

  3. Object Number: 622351  Size: SH
  4. Position the alignment pin (1) through the bushing and into the cylinder head bolt hole.
  5. With the alignment pin in the desired cylinder head bolt hole, tighten the fixture retaining bolts (2).
  6. Remove the alignment pin (1) from the cylinder head bolt hole.

  7. Object Number: 622354  Size: SH

    Important: 

       • During the drilling process, it is necessary to repeatedly remove the drill and clean chips from the hole and the flutes of the drill.
       • Drill the hole until the stop collar contacts the top of the drill bushing.

  8. Drill out the threads of the damaged hole.

  9. Object Number: 623361  Size: SH

    Important: All chips must be removed from the drilled hole prior to tapping.

  10. Using compressed air, clean out any chips.

  11. Object Number: 622356  Size: SH

    Important: 

       • During the tapping process, it is necessary to repeatedly remove the tap and clean chips from the hole and the flutes of the tap.
       • Ensure the tap has created full threads at least to the depth equal to the insert length.

  12. Using a suitable tapping wrench, tap the threads of the drilled hole by hand only.

  13. Object Number: 622357  Size: SH
  14. In order to tap the new threads for the insert to the proper depth, rotate the tap into the cylinder head bolt hole until the second mark (1) on the tap aligns with the top of the drill bushing (3).

  15. Object Number: 622347  Size: SH

    Important: Remove the fixture plate prior to installing the insert with the installer tool.

  16. Remove the fixture plate bolts (1).
  17. Remove the fixture plate (3) and bushing.

  18. Object Number: 623361  Size: SH

    Important: All chips must be removed from the tapped hole prior to insert installation.

  19. Using compressed air, clean out any chips.

  20. Object Number: 623364  Size: SH
  21. Spray cleaner GM P/N 12346139, GM P/N 12377981 (Canadian P/N 10953463) or equivalent into the tapped hole.

  22. Object Number: 623361  Size: SH

    Important: All chips must be removed from the tapped hole prior to insert installation.

  23. Using compressed air, clean out any chips.

  24. Object Number: 313562  Size: SH

    Important: Do not allow oil or other foreign material to contact the OD of the insert.

  25. Lubricate the threads of the driver installation tool (2) with the driver oil J 42385-110 (1).

  26. Object Number: 313567  Size: SH
  27. Install the insert (2) onto the driver installation tool (1).

  28. Object Number: 313572  Size: SH
  29. Apply threadlock sealant GM P/N 12345493, (Canadian P/N 10953488), J 42385-109, LOCTITE 277® or equivalent (1) to the insert OD threads (2).

  30. Object Number: 622358  Size: SH
  31. Install the insert and installation driver (1) into the tapped hole by hand only.
  32. Start the insert into the threaded hole.
  33. Important: If the insert will not thread down until the flange contacts the counterbored surface, remove the insert immediately with a screw extracting tool and inspect the tapped hole for any remaining chips and/or improper tapping.

  34. Install the insert until the flange of the insert contacts the counterbored surface.
  35. Important: The driver installation tool will tighten up before screwing completely through the insert. This is acceptable. The threads at the bottom of the insert are being formed and the insert is mechanically locking the insert into the base material threads.

  36. Continue to rotate the driver installation tool through the insert.
  37. Inspect the insert for proper installation into the tapped hole.

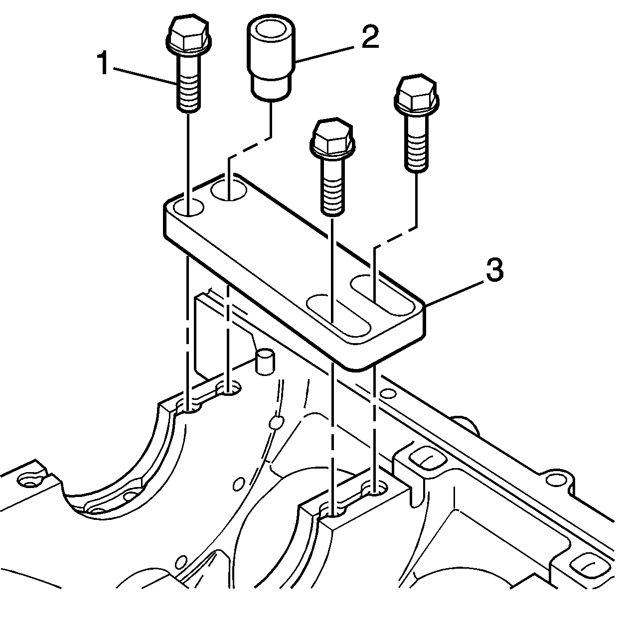
Crankshaft Main Bolt Hole Thread Repair

Special Tools

J 42385-2000 Thread Insert Kit


Object Number: 626555  Size: SH

Important: 

   • In order to repair some crankshaft main bolt holes, it will be necessary to mount the fixture plate upside down.
   • Do NOT remove the fixture plate prior to installing the insert with the installation driver. The fixture plate remains in position throughout the thread repair process.

The crankshaft main bearing bolt hole thread repair kit J 42385-2000 components consist of the following:

    • Drill (1) J 42385-511
    • Tap (2) J 42385-512
    • Installation driver (3) J 42385-513
    • Fixture plate (4) J 42385-306
    • Bushing (5) J 42385-307
    • Alignment pin (6) J 42385-308
    • Bolts (7) J 42385-510

Caution: Refer to Safety Glasses Caution in the Preface section.

Important: 

   • Ensure the fixture plate is installed during the machining and installation processes of the insert.
   • The use of a cutting type fluid GM P/N 1052864, (Canadian P/N 992881), WD 40® or equivalent is recommended when performing the drilling, counterboring and tapping procedures.

When installed to the proper depth, the flange of the insert will be seated against the counterbore of the drilled/tapped hole.


    Object Number: 626556  Size: SH
  1. Position the fixture plate (3) with the bushing (2), installed over the crankshaft main cap bolt hole to be repaired.
  2. Loosely install the fixture plate bolts (1) into the remaining crankshaft main cap bolt holes.

  3. Object Number: 626557  Size: SH
  4. Position the alignment pin (1) through the bushing and into the crankshaft main cap bolt hole.
  5. With the alignment pin in the desired crankshaft main cap bolt hole, tighten the fixture retaining bolts (2).
  6. Remove the alignment pin (1) from the crankshaft main cap bolt hole.

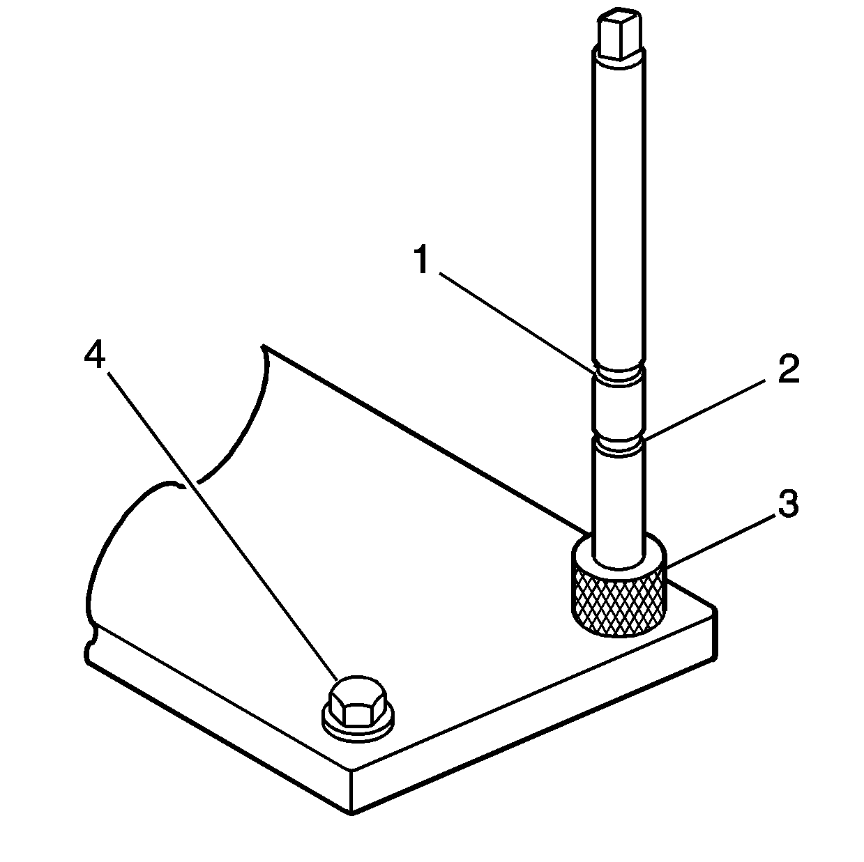
  7. Object Number: 626558  Size: SH

    Important: 

       • During the drilling process, it is necessary to repeatedly remove the drill and clean chips from the hole and the flutes of the drill.
       • Drill the crankshaft main bolt hole until the mark (1) on the drill aligns with the top of the drill bushing (2).

  8. Drill out the threads of the damaged hole.

  9. Object Number: 623361  Size: SH

    Important: All chips must be removed from the drilled hole prior to tapping.

  10. Using compressed air, clean out any chips.

  11. Object Number: 626560  Size: SH

    Important: 

       • Do not remove the fixture plate, ensure the fixture plate is installed during the machining and installation processes of the insert.
       • During the tapping process, it is necessary to repeatedly remove the tap and clean chips from the hole and the flutes of the tap.
       • Ensure the tap has created full threads at least to the depth equal to the insert length.

  12. Using a suitable tapping wrench, tap the threads of the drilled hole by hand only.

  13. Object Number: 377635  Size: SH
  14. In order to tap the new threads for the insert to the proper depth, rotate the tap into the crankshaft main cap bolt hole until the mark (3) on the tap aligns with the top of the drill bushing (2).

  15. Object Number: 623361  Size: SH

    Important: All chips must be removed from the tapped hole prior to insert installation.

  16. Using compressed air, clean out any chips.

  17. Object Number: 623364  Size: SH
  18. Spray cleaner GM P/N 12346139, GM P/N 12377981 (Canadian P/N 10953463) or equivalent into the tapped hole.

  19. Object Number: 623361  Size: SH

    Important: All chips must be removed from the tapped hole prior to insert installation.

  20. Using compressed air, clean out any chips.

  21. Object Number: 313562  Size: SH

    Important: 

       • Do not remove the fixture plate, ensure the fixture plate is installed during the installation process of the insert.
       • Do not allow oil or other foreign material to contact the OD of the insert.

  22. Lubricate the threads of the driver installation tool (2) with the driver oil J 42385-110 (1).

  23. Object Number: 313567  Size: SH
  24. Install the insert (2) onto the driver installation tool (1).

  25. Object Number: 313572  Size: SH
  26. Apply threadlock sealant GM P/N 12345493, (Canadian P/N 10953488), J 42385-109, LOCTITE 277® or equivalent (1) to the insert OD threads (2).

  27. Object Number: 626561  Size: SH
  28. Install the insert and installation driver into the tapped hole by hand only.
  29. Start the insert into the threaded hole.
  30. Important: If the insert will not thread down until the flange contacts the counterbored surface, remove the insert immediately with a screw extracting tool and inspect the tapped hole for any remaining chips and/or improper tapping.

  31. Install the insert until the flange of the insert contacts the counterbored surface.
  32. Important: The driver installation tool will tighten up before screwing completely through the insert. This is acceptable. The threads at the bottom of the insert are being formed and the insert is mechanically locking the insert into the base material threads.

  33. Continue to rotate the driver installation tool through the insert.

  34. Object Number: 377635  Size: SH
  35. Rotate the driver installation tool until the mark (3) on the driver installation tool aligns with the top of the drill bushing (2).
  36. Inspect the insert for proper installation into the tapped hole.

  37. Object Number: 626556  Size: SH
  38. Remove the fixture plate bolts (1).
  39. Remove the fixture plate (3) and bushing (2).