GM Service Manual Online
For 1990-2009 cars only

Special Tools

    • J 42841-A Rear Oil Seal Remover
    • J 45930-A Crankshaft Rear Oil Seal Installer
    • EN-48072 Sealant Applicator

Removal Procedure

  1. Remove the flywheel. Refer to Engine Flywheel Replacement .

  2. Object Number: 548455  Size: SH
  3. Using the J 42841-A remove the rear crankshaft oil seal. Refer to Crankshaft Rear Oil Seal Removal .

Installation Procedure

    Important: The EN-48072 must be used to ensure even application of the sealant in the bore and to prevent blockage of the drain back hole.

    Important: Ensure components that are being sealed with RTV sealant are assembled within 20 minutes. Components assembled after the RTV sealant has skinned-over, approximately 20 minutes, will not bond properly.


    Object Number: 1819460  Size: SH
  1. Ensure the engine block where the crankshaft rear oil seal is installed is a deep bore (1).
  2. • A deep bore of approximately 15 mm (0.5906 in) was used on engines from March 1, 1996 and later.
    • A shallow bore of approximately 8 mm (0.3150 in) was used on engines from 1993 thru February 29, 1996. This block would use a lip-style crankshaft rear oil seal and the J 38817-A for installation.

    Object Number: 1770232  Size: SH
  3. Inspect the engine block bore (1) and the crankshaft flange (2) for the damage. Repair or replace any damaged components.

  4. Object Number: 1770236  Size: SH
  5. Ensure the oil drain-back hole is clear of debris using a wire or an unbound plastic tie wrap.

  6. Object Number: 1770243  Size: SH

    Important: In order to ensure proper bonding of the sealant the bore must be clean and dry.

  7. Clean the bore in the block with cleaner solvent GM P/N 12378392 or 12346139 (Canadian P/N 88901247).

  8. Object Number: 1770165  Size: SH

    Important: Northstar engines 2005 and older have an 8 x 1.25 mm flywheel/flexplate crankshaft bolt hole thread. Northstar engines 2006 and later have an 11 x 1.5 mm flywheel/flexplate crankshaft bolt hole thread.

  9. Remove the proper sized bolts from the J 45930-A . Use the bolts (2) 8 mm or the bolts (3) 11 mm.

  10. Object Number: 1770247  Size: SH
  11. Install the EN-48072 pilot base onto the crankshaft. The hub on the crankshaft will fit into the recess on the inboard side of the EN-48072 pilot base.

  12. Object Number: 1770248  Size: SH

    Important: Northstar engines 2005 and older have an 8 x 1.25 mm flywheel/flexplate crankshaft bolt hole thread. Northstar engines 2006 and later have an 11 x 1.5 mm flywheel/flexplate crankshaft bolt hole thread.

  13. Use the proper bolts from the J 45930-A to retain the EN-48072 pilot base in place.

  14. Object Number: 1770251  Size: SH
  15. Install the EN-48072 applicator housing over the EN-48072 pilot base. Ensure the EN-48072 applicator housing bottoms in the bore of the block.

  16. Object Number: 1770256  Size: SH

    Important: The sealant must not block the drain back hole. Blockage of the drain back hole can lead to oil leakage.

  17. Apply the sealant GM P/N 12378521 (Canadian P/N 88901148) to the bore outer diameter in the block. Ensure the sealant does not block the drain hole.

  18. Object Number: 1770259  Size: SH

    Important: Apply steady even pressure to the EN-48072 applicator housing.

  19. Using a suitable tool spread the sealant within the bore to ensure an even coating across the bore.

  20. Object Number: 1770263  Size: SH

    Important: In order to apply an even coat of the sealant do not twist or turn the EN-48072 applicator housing as it is pulled away from the bottom of the bore.

  21. Using both hands, slowly and evenly, pull the EN-48072 applicator housing out of the bore and remove it from the EN-48072 pilot base.

  22. Object Number: 1770266  Size: SH
  23. Remove the J 45930-A bolts from the EN-48072 pilot base.

  24. Object Number: 1770269  Size: SH
  25. Remove the EN-48072 pilot base.

  26. Object Number: 1770290  Size: SH
  27. Ensure that the sealant (1) is evenly spread across the bore of the block.

  28. Object Number: 1770295  Size: SH
  29. Ensure the drain back hole (1) is clear of the sealant.
  30. Notice: The cassette seal is installed onto the crankshaft with a press fit that requires over 135 Nm (100 lb ft) of force to remove or install. This high force requires the use of special tools to remove and install the seal. Use of any other tools during removal or installation can lead to damage to the seal or other components. An improperly installed or damaged seal can leak oil and can lead to engine damage. Use of the J 38817-A to install the cassette seal can damage the tool and cause improper seal installation and/or seal damage.

    Important: Beginning with the model year 2006 the flywheel/flexplate crankshaft bolt hole thread was changed from 8 x 1.25 mm to 11 x 1.5 mm. The J 45930-A will service the cassette seals installed on engines from March 1, 1996 to 2006. If a J 45930 is to be used on a 2006 or later engine the update kit, J 45930-10, must be used to convert the J 45930 to a J 45930-A .

    Important: Crankshaft rear oil seal and engine flywheel installation requires adequate space for installation. If the engine stand does not allow suitable space to use the J 45930-A install the crankshaft rear oil seal and engine flywheel with the engine properly supported on the floor or on a bench.


    Object Number: 1770165  Size: SH

    Important: Northstar engines 2005 and older have an 8 x 1.25 mm flywheel/flexplate crankshaft bolt hole thread. Northstar engines 2006 and later have an 11 x 1.5 mm flywheel/flexplate crankshaft bolt hole thread.

  31. Ensure the proper size of bolt (2) 8 mm or (3) 11 mm is being installed in the J 45930-A .

  32. Object Number: 1774753  Size: SH
  33. Turn the center nut (1) of the J 45930-A until the center hub (2) protrudes approximately 15 mm (0.591 in) beyond the outer plate (3).

  34. Object Number: 1774755  Size: SH

    Important: DO NOT use any lubricant in order to install the crankshaft rear oil seal. Do not use any lubricant on the coating pre-applied to the inner diameter of the crankshaft rear oil seal. The coating is a sealant that must not be contaminated. Do not use any lubricant on the outer diameter of the crankshaft rear oil seal. The sealant applied to the bore of the engine block will not properly bond to a lubricated crankshaft rear oil seal.

  35. Do not lubricate any part of the new cassette style crankshaft rear oil seal.

  36. Object Number: 1774759  Size: SH
  37. Install the new cassette style crankshaft rear oil seal onto the center hub of the J 45930-A .

  38. Object Number: 1774780  Size: SH
  39. Thread the two J 45930-A mounting bolts into the crankshaft flywheel bolt holes.

  40. Object Number: 1774783  Size: SH
  41. Tighten the two mounting bolts until the J 45930-A is firmly mounted on the crankshaft.

  42. Object Number: 1774784  Size: SH
  43. Install the new cassette style crankshaft rear oil seal by turning the nut of the J 45930-A until the drive portion of the J 45930-A bottoms against the crankcase.

  44. Object Number: 1774786  Size: SH
  45. Loosen the center nut to release pressure on the crankcase.

  46. Object Number: 1774787  Size: SH
  47. Loosen the two mounting bolts.

  48. Object Number: 1774788  Size: SH
  49. Remove the J 45930-A from the crankshaft.
  50. Wipe off any excessive sealant from the block.

  51. Object Number: 1774773  Size: SH
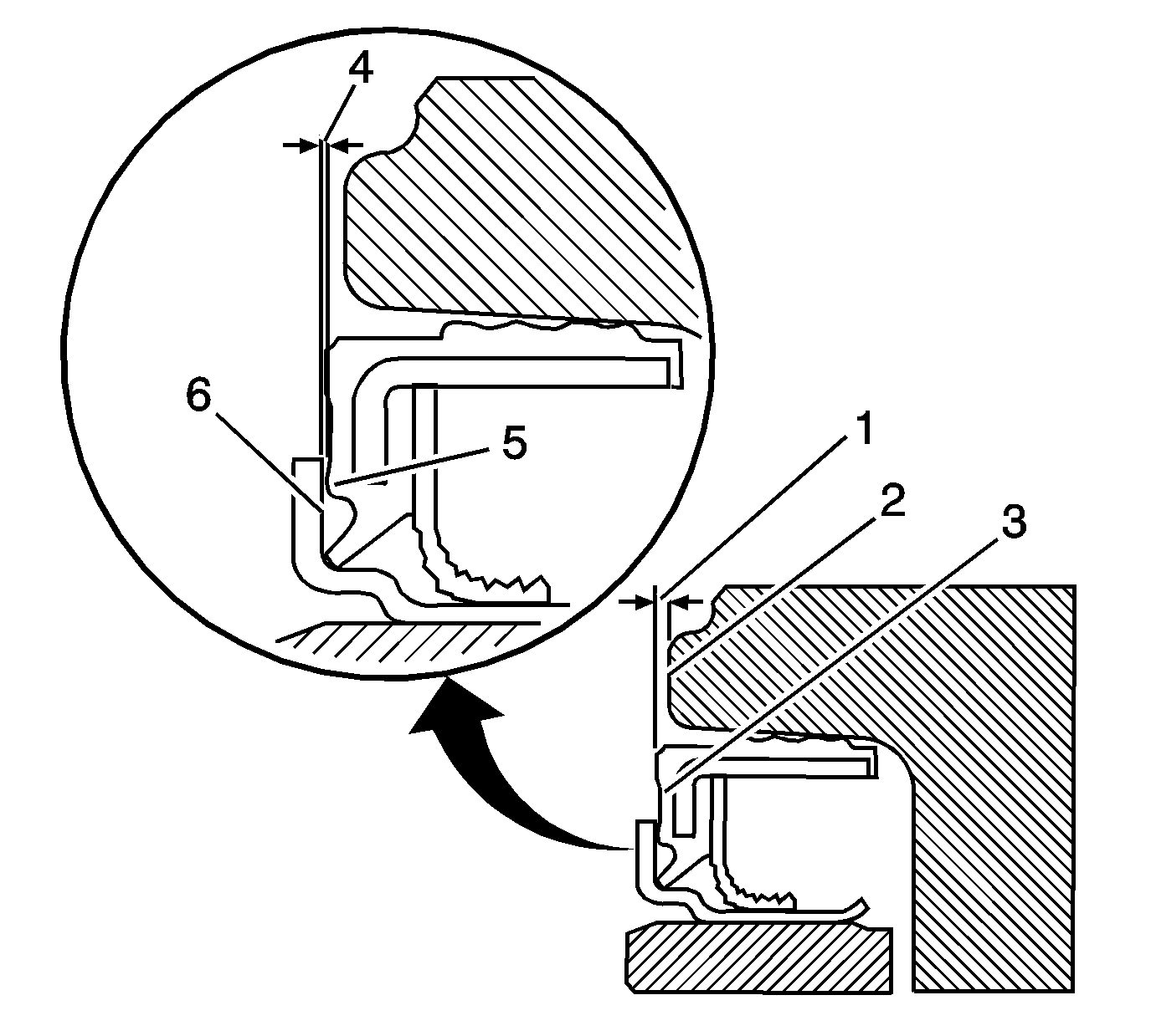
  52. Ensure the new cassette style crankshaft rear oil seal is installed properly.
  53. • The outer surface of the seal (3) should be 0.500-0.800 mm (0.0197-0.0315 in) (1) below the surface of the engine block (2).
    • The inner surface of the sleeve (6) should be 0.400-0.900 mm (0.0158-0.0354 in) (4) below the surface of the outer surface of the seal (5).
    • The installed seal and sleeve need to be parallel to the block by 0.000-0.500 mm (0.000-0.0197 in).
  54. Clean all tools to remove any residual sealant.
  55. Install the flywheel. Refer to Engine Flywheel Replacement .