GM Service Manual Online
For 1990-2009 cars only
Figure 1:

RF Tire Pressure Receiver (UH3-Japan Only)


Object Number: 1488562  Size: LF
(1)RF Fender
(2)Frame
(3)Tire Pressure Receiver (UH3)-RF (LF Similar)
Figure 2:

Right Side of the Luggage Compartment


Object Number: 2007220  Size: LF
(1)Right Side C-Pillar
(2)Electronic Suspension Control (ESC) Module (F55)
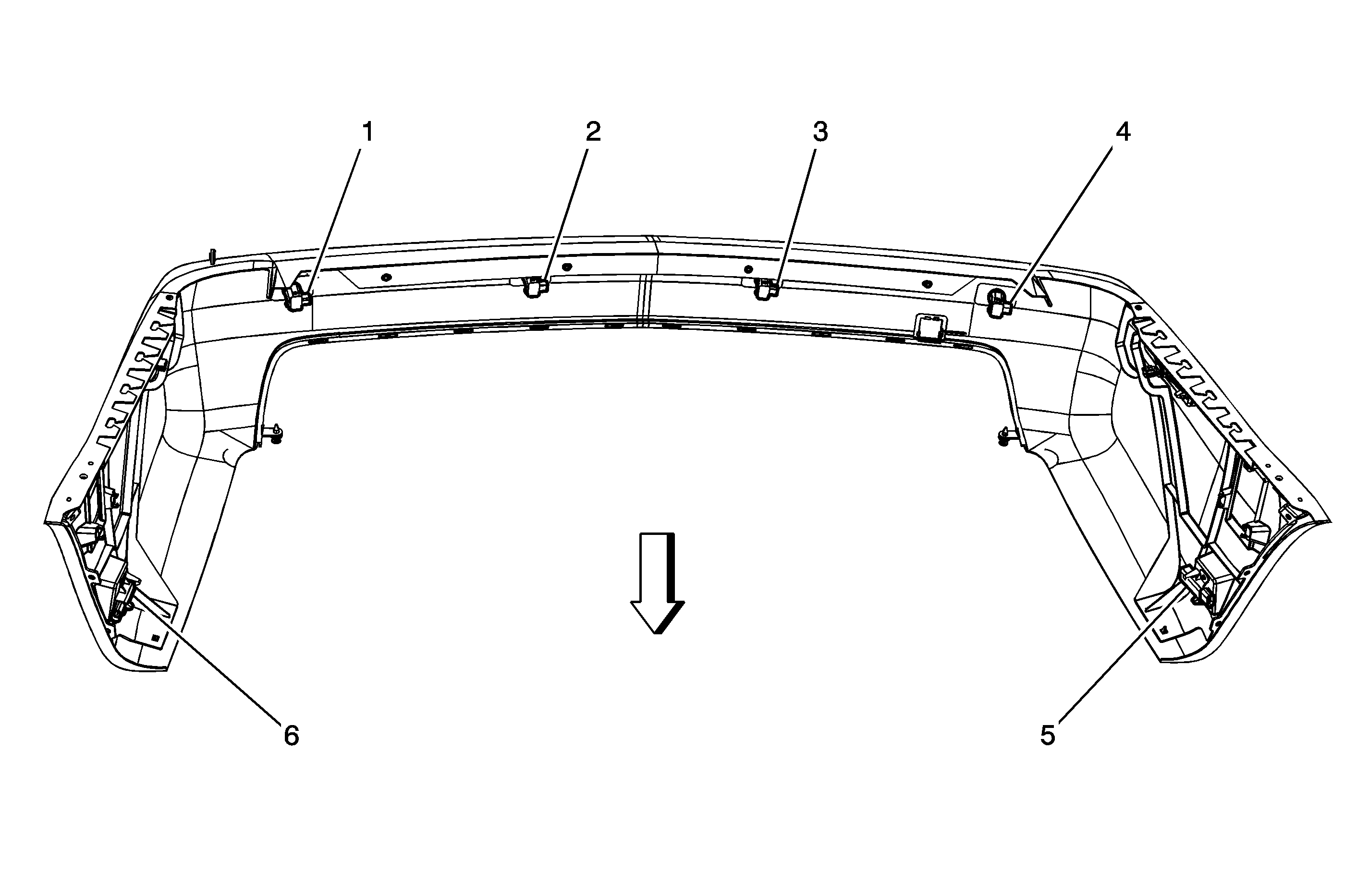
Figure 3:

Rear Fascia


Object Number: 1488566  Size: MF
(1)Object Sensor - LR Corner (UD7)
(2)Object Sensor - LR Middle (UD7)
(3)Object Sensor - RR Middle (UD7)
(4)Object Sensor - RR Corner (UD7)
(5)Tire Pressure Monitor Receiver - LR (UH3)
(6)Tire Pressure Monitor Receiver - RR (UH3)
Figure 4:

Wheel with Tire Pressure Monitor Sensor - Domestic/UH3


Object Number: 698576  Size: LF
(1)Tire Pressure Monitor Sensors - All 4