GM Service Manual Online
For 1990-2009 cars only

    Object Number: 2040440  Size: SH
  1. Bring Backlash measurement, lock it onto the cover by bolts.

  2. Object Number: 2040441  Size: SH
  3. Then take rocker rotate fixture, insert spline area into differential margin gear, before test first rotate flange several turns to ensure gear rotating smoothly, then rotate to locate position and set to zero, then measure gear three-dot anti-gap (three dots about 120 degree interval), acceptable range of gear anti-gap: 0.15-0.30 mm.

  4. Object Number: 2040442  Size: SH
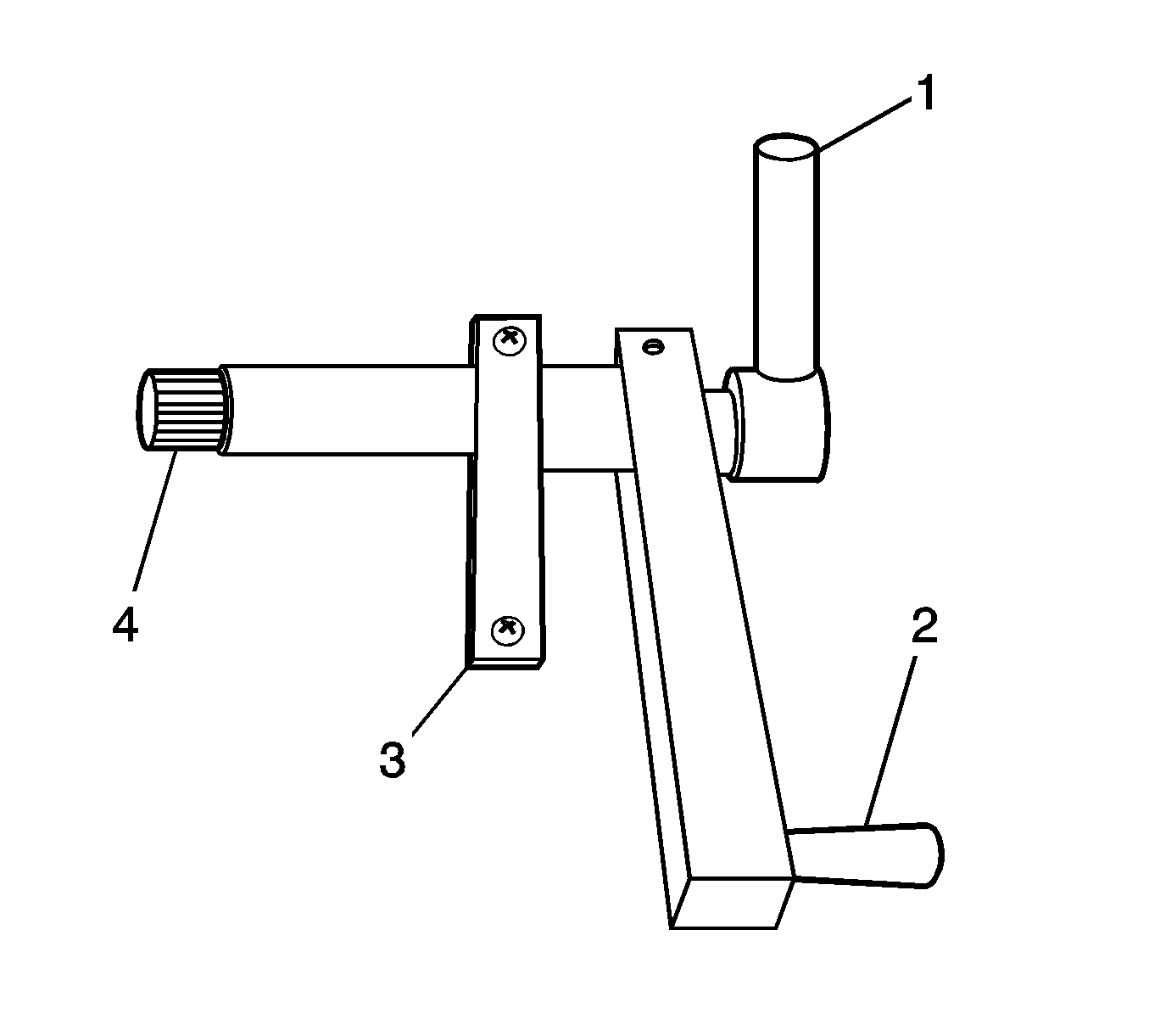
  5. The structure of rocker rotate fixture is shown as left figure, rotating arm 1 can make assist rod 3 spread in order to secure differential. Rotating arm 2 makes rod 4 contact measurement watch, and set to zero. Gently rotating arm 2, the reading of measurement watch is clearance of gear sets.

  6. Object Number: 2040444  Size: SH
  7. Structure of measurement table as shown in left figure, Attach to the differential case with bolts.

Gear Clearance Adjustment

  1. As to the measurement method, if the clearance exceeds specification 0.15-0.30 mm, the possible reason is that the shims on both ends of differential side bearings are improper, reselect shims according to operation manual. For different ratio differentials, clearance ranges are different, refer to Rear Axle Specifications.
  2. According to the existing collected data make analysis, clearance adjustment can refer to the following experience:
  3. The proportion of the adjustment value of left and right shims and variation value of clearance is 1:1 basically. As detailed in the following chart,the actual measurement value of an existing differential clearance is 0.12 mm, less than specifications.

    The thickness of right shim is increased 0.10 mm, the thickness of left shim is minimized 0.10 mm, and remeasured clearance is 0.22 mm (change 0.10 mm).

Desscription

  1. Excessive clearance will increase the thickness of left shim, minimize the thickness of right shim; too small clearance will minimize the thickness of the left shim, increase the thickness of right shim.
  2. In order to ensure preload of both bearings unchange, the increased or minimized thickness of left and right shims should be consistent.
  3. The adjustment value of shims above and variation values of differences is not 1:1 absolutely, there is a little error, it is only referred during actual service.

Former Shim Thickness

Before Adjustment Backlash (0.15-0.30)

Manual Reselect Shim

After Adjustment Backlash (0.15-0.30)

Remarks

Right Housing

Left Cover

Right Housing

Levt Cover

Shim Adjustment Value

Backlash Varies

1.65

2.30

0.12

1.75

2.20

0.22

0.10

0.10