GM Service Manual Online
For 1990-2009 cars only

Tools Required

    • J 24433 Pinion Cone and Side Bearing Installer
    • J 42168-16 Spacers
    • J 45010 Getrag Axle Bearing Race Installer
    • J 45013-1 Cover Shim Gage
    • J 45013-2 Gage Assembly
    • J 45013-4 Gage Plate
    • J 45013-6 Depth Gage

    Object Number: 1131579  Size: SH
  1. Use the J 45013-6  (2) drop rod. Loosen the thumb screw and drop the rod through the hole on J 45013-2  (1).
  2. Ensure the rod bottoms out in the bearing cup bore. Snug the thumb screw in order to record the distance.
  3. Install the differential side bearings. Refer to Differential Side Bearings Assemble .

  4. Object Number: 1131678  Size: SH
  5. Use an old ring gear bolt. Attach the J 45013-6  (2) to the differential case as shown.
  6. Ensure that the drop rod aligns with the post of J 45013-4  (1).
  7. Snug the bolts.

  8. Object Number: 1131727  Size: SH
  9. Measure the gap (1) between the rod and the post on J 45013-6  (2). Record the measurement as C1.
  10. 8. Rotate the differential case and ensure that the measurement C1 never changes.
  11. Important: The A1 and A2 values are unique to each ring gear/pinion and are determined during the manufacturers gear/pinion noise and vibration setup and testing, stamped onto the side area of the gear.

  12. Calculate the thickness value of differential right side shim, select corresponding differential case right side shim calculation table according to the A2 value stamped onto the side area of the gear. Calculating method are the following:
  13. 9.1. For the differentials gear ratio of which is 3.42, subtract the measured distance C1 from 5 mm (0.197 in) to obtain C2, and add the C2 value to the C3 value so as to obtain right shim value. Refer to Spacer and Shim Specifications
    9.2. For the differentials gear ratio of which is 2.73, subtract the measured distance C1 from 10.5 mm (0.413 in) to obtain C2, and add the C2 value to the C3 value so as to obtain right shim value. Refer to Spacer and Shim Specifications.
  14. Remove all tools

  15. Object Number: 1131535  Size: SH
  16. Remove the planetary carrier bolts.

  17. Object Number: 1237780  Size: SH
  18. It may be necessary to heat the differential case in order to remove the planetary bearing housing.
  19. Screw the slide hammer into the bolt that holds the shimming tools in the drive pinion housing.
  20. Pull the bearing housing from the differential case.
  21. Remove all of the shimming tools.

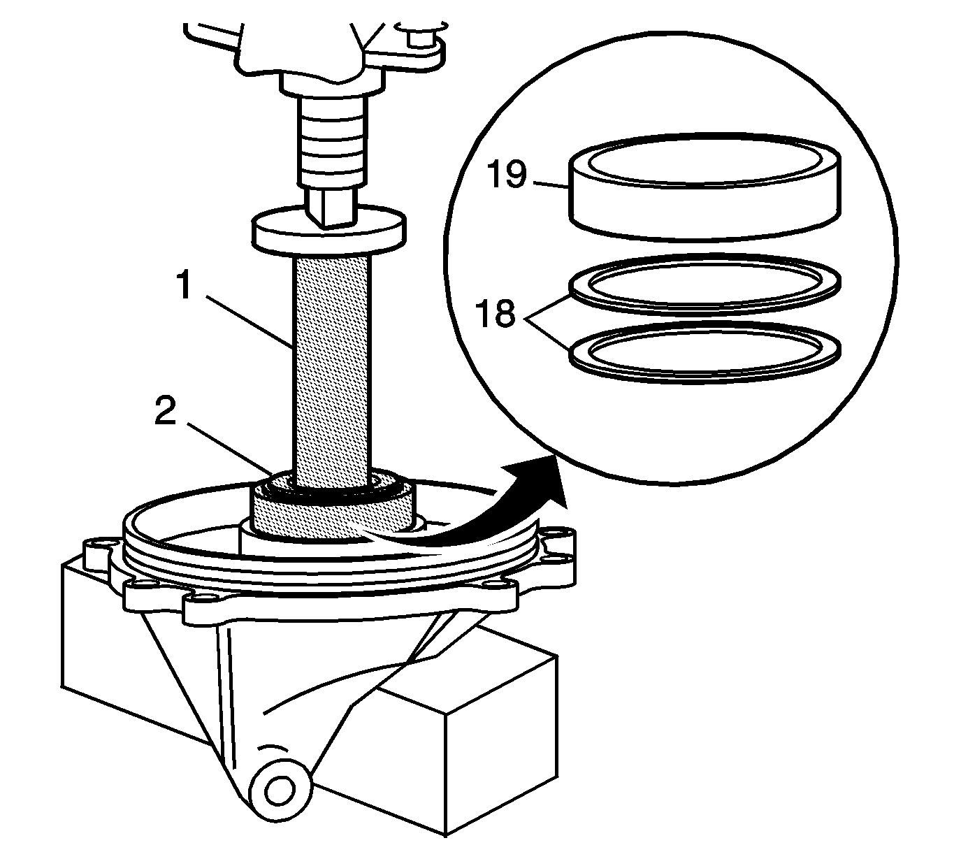
  22. Object Number: 1306511  Size: SH
  23. Install the shims (18) measured on the differential assembly side gear race (19).
  24. Lightly lubricate the cup with gear lube.
  25. Using J 24433 and J 45010 and a press, install the bearing race until it seats completely.

  26. Object Number: 1131757  Size: SH
  27. For limited slip differential, the ring gear must be properly installed in order to hold the differential case together. Refer to Ring Gear and Differential Housing Assemble .
  28. Install the differential case into the differential carrier.
  29. Install the bearing cup and J 45013-1 on top of the race as shown.

  30. Object Number: 1131822  Size: SH
  31. Using J 42168-16 , install the bolts, spacer and washer through the cover. Snug the bolts.

  32. Object Number: 1131848  Size: SH
  33. Measure the gap as shown. This is the left side differential bearing shim side.
  34. Remove the bolts, cover and tools.

  35. Object Number: 1306512  Size: SH
  36. Using J 24433 and J 45010 , install the measured shims (18) in the cup bore.
  37. Lightly coat the cup (19) with gear lube.
  38. Press the bearing race into the bore until it seats.