GM Service Manual Online
For 1990-2009 cars only

Object Number: 2030749  Size: MF

Callout

Component Name

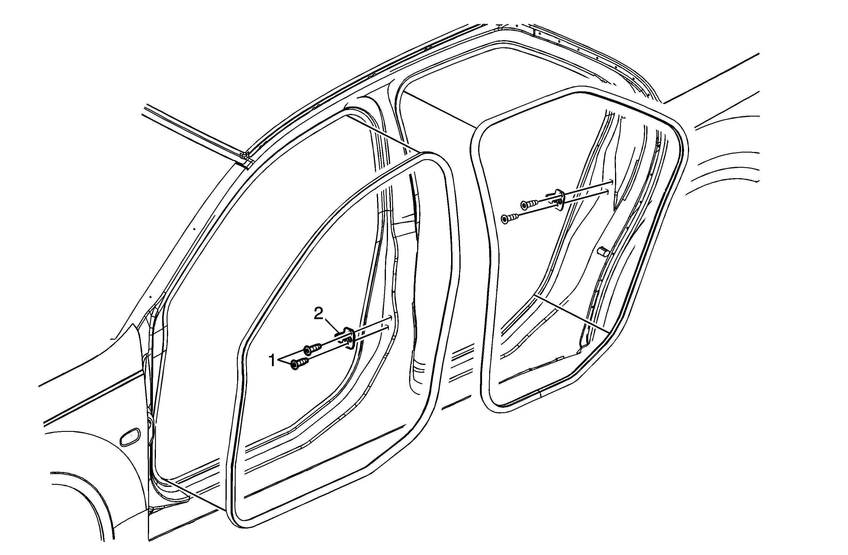
Front Side Door Lock Striker Replacement

1

Striker Cover and Front Side Door Lock Striker Screw (Qty: 2)

Notice: Refer to Fastener Notice in the Preface section.

Tighten
28 N·m (21 lb ft)

2

Front Side Door Lock Striker Assembly

Notice: Striker alignment is a crucial part of door latch operation. Do not use the door striker to adjust the door to the vehicle. Failure to properly adjust the striker can result in damage to the door latch and the striker.

Tip
Adjust striker as needed. Refer to Door Lock Striker Adjustment .