GM Service Manual Online
For 1990-2009 cars only
Makes
🢒
Cadillac
🢒
2008
🢒
SLS
🢒
Transmission/Transaxle
🢒
Automatic Transmission - 5L40-E/5L50-E
🢒 Window Systems Component Views
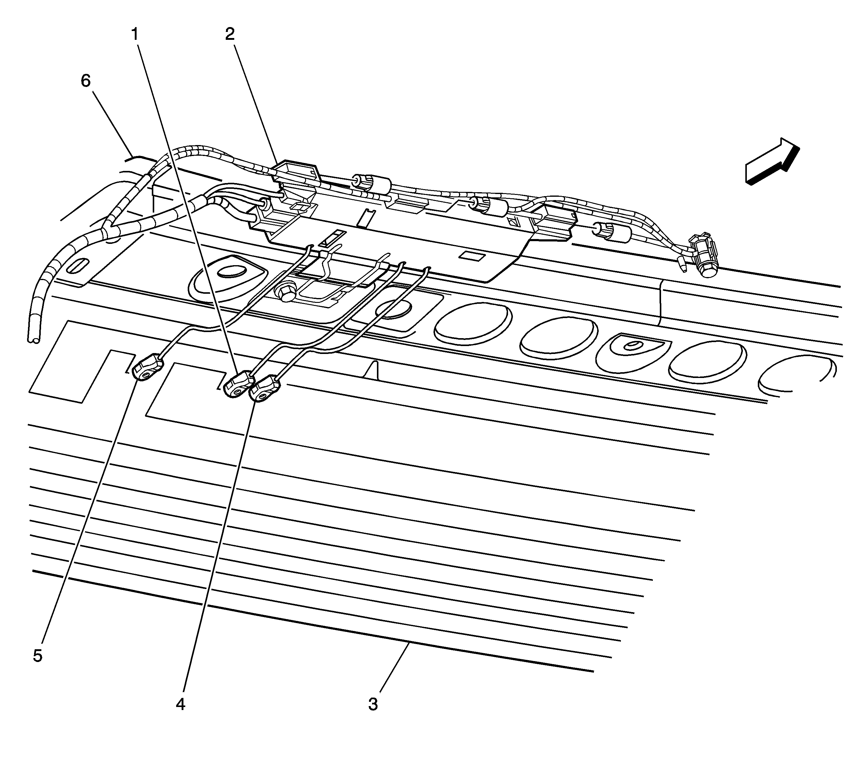
Figure
1:
Top of Rear Window
(1)
VICS-FM3 Antenna
(2)
Radio Antenna Module
(3)
Rear Window Defogger Grid
(4)
AM/FM 1 Antenna
(5)
FM 2 Antenna
(6)
Roof Rail
Figure
2:
Top of the Windshield
(1)
Sunroof Switches (CF5)
(2)
Cellular Microphone
(3)
Button Assembly
(4)
Inside Rearview Mirror