GM Service Manual Online
For 1990-2009 cars only
Connector 1: Accelerator Pedal Position Sensor
Connector 2: Camshaft Position (CMP) Actuator Solenoid Exhaust - Bank 1
Connector 3: Camshaft Position (CMP) Actuator Solenoid Exhaust - Bank 2
Connector 4: Camshaft Position (CMP) Actuator Solenoid Intake - Bank 1
Connector 5: Camshaft Position (CMP) Actuator Solenoid Intake - Bank 2
Connector 6: Camshaft Position (CMP) Sensor - Exhaust Bank 1
Connector 7: Camshaft Position (CMP) Sensor - Exhaust Bank 2
Connector 8: Camshaft Position (CMP) Sensor - Intake Bank 1
Connector 9: Camshaft Position (CMP) Sensor - Intake Bank 2
Connector 10: Crankshaft Position (CKP) Sensor
Connector 11: Engine Coolant Temperature (ECT) Sensor
Connector 12: Engine Oil Pressure (EOP) Sensor
Connector 13: Evaporative Emission (EVAP) Canister Purge Solenoid Valve
Connector 14: Evaporative Emission (EVAP) Canister Vent Solenoid
Connector 15: Fuel Injector 1
Connector 16: Fuel Injector 2
Connector 17: Fuel Injector 3
Connector 18: Fuel Injector 4
Connector 19: Fuel Injector 5
Connector 20: Fuel Injector 6
Connector 21: Fuel Injector 7
Connector 22: Fuel Injector 8
Connector 23: Fuel Pump and Sender Assembly
Connector 24: Fuel Tank Pressure (FTP) Sensor
Connector 25: Heated Oxygen Sensor (HO2S) - Bank 1 Sensor 1
Connector 26: Heated Oxygen Sensor (HO2S) - Bank 1 Sensor 2
Connector 27: Heated Oxygen Sensor (HO2S) - Bank 2 Sensor 1
Connector 28: Heated Oxygen Sensor (HO2S) - Bank 2 Sensor 2
Connector 29: Ignition Assembly/Pencil Coil 1
Connector 30: Ignition Assembly/Pencil Coil 2
Connector 31: Knock Sensor (KS) Bank 1
Connector 32: Knock Sensor (KS) Bank 2
Connector 33: Manifold Absolute Pressure (MAP) Sensor
Connector 34: MAF/IAT Sensor
Connector 35: Secondary Fuel Sender Assembly
Connector 36: Throttle Body Assembly

Accelerator Pedal Position Sensor


Object Number: 632357  Size: CH

Connector Part Information

  • OEM: 15326829
  • Service: N/A
  • Description: 6-Way F 150 Series Sealed (BK)

Accelerator Pedal Position Sensor

Pin

Wire

Circuit

Function

A

PU

1272

Low Reference

B

L-BU

1162

APP Sensor 2 Signal

C

TN

1274

5-Volt Reference

D

BN

1271

Low Reference

E

D-BU

1161

APP Sensor 1 Signal

F

WH/BK

1164

5-Volt Reference 2

Camshaft Position (CMP) Actuator Solenoid Exhaust - Bank 1


Object Number: 523630  Size: CH

Connector Part Information

  • OEM: 15326801
  • Service: N/A
  • Description: 2-Way F GT 150 Series (BK)

Camshaft Position (CMP) Actuator Solenoid Exhaust - Bank 1

Pin

Wire

Circuit

Function

A

BN/WH

6754

Ground

B

WH/BK

6396

Camshaft Position (CMP) Actuator Solenoid - Exhaust Bank 1

Camshaft Position (CMP) Actuator Solenoid Exhaust - Bank 2


Object Number: 523630  Size: CH

Connector Part Information

  • OEM: 15326801
  • Service: N/A
  • Description: 2-Way F GT 150 Series (BK)

Camshaft Position (CMP) Actuator Solenoid Exhaust - Bank 2

Pin

Wire

Circuit

Function

A

D-BU/WH

6756

Ground

B

GY/BK

6394

Camshaft Position (CMP) Actuator Solenoid - Exhaust Bank 2

Camshaft Position (CMP) Actuator Solenoid Intake - Bank 1


Object Number: 523630  Size: CH

Connector Part Information

  • OEM: 15326801
  • Service: N/A
  • Description: 2-Way F GT 150 Series (BK)

Camshaft Position (CMP) Actuator Solenoid Intake - Bank 1

Pin

Wire

Circuit

Function

A

BN

6753

Ground

B

PK/BK

6395

Camshaft Position (CMP) Actuator Solenoid Intake - Bank 1

Camshaft Position (CMP) Actuator Solenoid Intake - Bank 2


Object Number: 523630  Size: CH

Connector Part Information

  • OEM: 15326801
  • Service: N/A
  • Description: 2-Way F GT 150 Series (BK)

Camshaft Position (CMP) Actuator Solenoid Intake - Bank 2

Pin

Wire

Circuit

Function

A

D-BU

6755

Ground

B

TN/BK

6397

Camshaft Position (CMP) Actuator Solenoid Intake - Bank 2

Camshaft Position (CMP) Sensor - Exhaust Bank 1


Object Number: 2015216  Size: CH

Connector Part Information

  • OEM: 1928403870
  • Service: N/A
  • Description: 3-Way F Bosch (BK)

Camshaft Position (CMP) Sensor - Exhaust Bank 1

Pin

Wire

Circuit

Function

A

D-GN

6457

Camshaft Position Exhaust Sensor Supply Voltage

B

PU

6267

Camshaft Position Exhaust Sensor Low Reference

C

D-GN/WH

6264

Camshaft Position Exhaust Sensor

Camshaft Position (CMP) Sensor - Exhaust Bank 2


Object Number: 2015216  Size: CH

Connector Part Information

  • OEM: 1928403870
  • Service: N/A
  • Description: 3-Way F Bosch (BK)

Camshaft Position (CMP) Sensor - Exhaust Bank 2

Pin

Wire

Circuit

Function

A

PK

6261

Camshaft Position Exhaust Sensor Supply voltage

B

WH

6269

Camshaft Position Exhaust Sensor Low Reference

C

PK/BK

6262

Camshaft position Exhaust Sensor

Camshaft Position (CMP) Sensor - Intake Bank 1


Object Number: 2015216  Size: CH

Connector Part Information

  • OEM: 1928403870
  • Service: N/A
  • Description: 3-Way F Bosch (BK)

Camshaft Position (CMP) Sensor - Intake Bank 1

Pin

Wire

Circuit

Function

A

D-BU

6259

Camshaft Position Intake Sensor Supply Voltage

B

BN

6266

Camshaft Position Intake Sensor Low Reference

C

D-BU/WH

6265

Camshaft Position Intake Sensor

Camshaft Position (CMP) Sensor - Intake Bank 2


Object Number: 2015216  Size: CH

Connector Part Information

  • OEM: 1928403874
  • Service: N/A
  • Description: 3-Way F Bosch (BK)

Camshaft Position (CMP) Sensor - Intake Bank 2

Pin

Wire

Circuit

Function

A

OG

6260

Camshaft Position Intake Sensor Supply Voltage

B

TN

6268

Camshaft Position Intake Sensor Low Reference

C

OG/BK

6263

Camshaft Position Intake Sensor

Crankshaft Position (CKP) Sensor


Object Number: 1362566  Size: CH

Connector Part Information

  • OEM: 54200308
  • Service: N/A
  • Description: 3-Way F (BK)

Crankshaft Position (CKP) Sensor

Pin

Wire

Circuit

Function

A

PU/WH

6270

5-Volt Reference

B

GY/BK

6272

Low Reference

C

WH/BK

6271

CKP Sensor (1) Signal

Engine Coolant Temperature (ECT) Sensor


Object Number: 655692  Size: CH

Connector Part Information

  • OEM: 12162195
  • Service: N/A
  • Description: 2-Way F Metri-Pack 150.2 Series Sealed, Pull To Seat (BK)

Engine Coolant Temperature (ECT) Sensor

Pin

Wire

Circuit

Function

A

YE

410

ECT Sensor Signal

B

TN

2761

Low Reference

Engine Oil Pressure (EOP) Sensor


Object Number: 646409  Size: CH

Connector Part Information

  • OEM: 15336121
  • Service: N/A
  • Description: 3-Way F G 150 Series Sealed (BK)

Engine Oil Pressure (EOP) Sensor

Pin

Wire

Circuit

Function

A

BK

2755

Low Reference

B

TN/WH

331

Oil Pressure Sensor Signal

C

GY

2705

5-Volt Reference

Evaporative Emission (EVAP) Canister Purge Solenoid Valve


Object Number: 2015222  Size: CH

Connector Part Information

  • OEM: 12124037
  • Service: N/A
  • Description: 2-Way F Metri-Pack 150 Series Sealed (BK)

Evaporative Emission (EVAP) Canister Purge Solenoid Valve

Pin

Wire

Circuit

Function

A

PK/BK

5290

Ignition 1 Voltage

B

D-GN/WH

428

EVAP Canister Purge Solenoid Control

Evaporative Emission (EVAP) Canister Vent Solenoid


Object Number: 684795  Size: CH

Connector Part Information

  • OEM: 12052643
  • Service: N/A
  • Description: 2-Way F Metri-Pack 150 Series Sealed (RD)

Evaporative Emission (EVAP) Canister Vent Solenoid

Pin

Wire

Circuit

Function

A

RD/WH

1540

Battery Positive Voltage

B

WH

1310

EVAP Canister Vent Solenoid Control

Fuel Injector 1


Object Number: 2015224  Size: CH

Connector Part Information

  • OEM: 15355226
  • Service: N/A
  • Description: 2-Way F Yazaki 1.5 Series (BK)

Fuel Injector 1

Pin

Wire

Circuit

Function

1

PK/BK

5291

Ignition 1 Voltage

2

TN

1744

Fuel Injector 1 Control

Fuel Injector 2


Object Number: 2015224  Size: CH

Connector Part Information

  • OEM: 15355226
  • Service: N/A
  • Description: 2-Way F Yazaki 1.5 Series (BK)

Fuel Injector 2

Pin

Wire

Circuit

Function

1

PK/BK

5292

Ignition 1 Voltage

2

L-GN/BK

1745

Fuel Injector 2 Control

Fuel Injector 3


Object Number: 2015224  Size: CH

Connector Part Information

  • OEM: 15355226
  • Service: N/A
  • Description: 2-Way F Yazaki 1.5 Series (BK)

Fuel Injector 3

Pin

Wire

Circuit

Function

1

PK/BK

5291

Ignition 1 Voltage

2

L-BU/BK

1746

Fuel Injector 3 Control

Fuel Injector 4


Object Number: 2015224  Size: CH

Connector Part Information

  • OEM: 15355226
  • Service: N/A
  • Description: 2-Way F Yazaki 1.5 Series (BK)

Fuel Injector 4

Pin

Wire

Circuit

Function

1

PK/BK

5292

Ignition 1 Voltage

2

L-BU/BK

844

Fuel Injector 4 Control

Fuel Injector 5


Object Number: 2015224  Size: CH

Connector Part Information

  • OEM: 15355226
  • Service: N/A
  • Description: 2-Way F Yazaki 1.5 Series (BK)

Fuel Injector 5

Pin

Wire

Circuit

Function

1

PK/BK

5291

Ignition 1 Voltage

2

TN/WH

845

Fuel Injector 5 Control

Fuel Injector 6


Object Number: 2015224  Size: CH

Connector Part Information

  • OEM: 15355226
  • Service: N/A
  • Description: 2-Way F Yazaki 1.5 Series (BK)

Fuel Injector 6

Pin

Wire

Circuit

Function

1

PK/BK

5292

Ignition 1 Voltage

2

YE/BK

846

Fuel Injector 6 Control

Fuel Injector 7


Object Number: 2015224  Size: CH

Connector Part Information

  • OEM: 15355226
  • Service: N/A
  • Description: 2-Way F Yazaki 1.5 Series (BK)

Fuel Injector 7

Pin

Wire

Circuit

Function

1

PK/BK

5291

Ignition 1 Voltage

2

OG/BK

877

Fuel Injector 7 Control

Fuel Injector 8


Object Number: 2015224  Size: CH

Connector Part Information

  • OEM: 15355226
  • Service: N/A
  • Description: 2-Way F Yazaki 1.5 Series (BK)

Fuel Injector 8

Pin

Wire

Circuit

Function

1

PK/BK

5292

Ignition 1 Voltage

2

D-BU/WH

878

Fuel Injector 8 Control

Fuel Pump and Sender Assembly


Object Number: 456551  Size: CH

Connector Part Information

  • OEM: 12160482
  • Service: N/A
  • Description: 4-Way F Metri-Pack 150 Series, Sealed (BK)

Fuel Pump and Sender Assembly

Pin

Wire

Circuit

Function

A

D-BU

1936

Fuel Level Sensor Signal

B

GY

120

Fuel Pump Supply Voltage

C

BK

1050

Ground

D

TN

452

Fuel Tank Pressure Sensor Low Reference

Fuel Tank Pressure (FTP) Sensor


Object Number: 516611  Size: CH

Connector Part Information

  • OEM: 12059595
  • Service: N/A
  • Description: 3-Way F Metri-Pack 150 Series, Sealed (BK)

Fuel Tank Pressure (FTP) Sensor

Pin

Wire

Circuit

Function

A

TN

452

Low Reference

B

D-GN

890

Fuel Tank Pressure Sensor Signal

C

GY

596

5-Volt Reference

Heated Oxygen Sensor (HO2S) - Bank 1 Sensor 1


Object Number: 2015229  Size: CH

Connector Part Information

  • OEM: 12146046
  • Service: N/A
  • Description: 5-Way F Amp (GY)

Heated Oxygen Sensor (HO2S) - Bank 1 Sensor 1

Pin

Wire

Circuit

Function

A

TN/WH

3111

HO2S Low Reference - Bank 1 Sensor 1

B

PU/WH

3110

HO2S Reference - Bank 1 Sensor 1

D

PK/BK

5293

Engine Main Relay Fused Control (4)

E

GY/WH

3113

HO2S Heater Low Control - Bank 1 Sensor 1

Heated Oxygen Sensor (HO2S) - Bank 1 Sensor 2


Object Number: 280761  Size: CH

Connector Part Information

  • OEM: 12160825
  • Service: N/A
  • Description: 4-Way M Metri-Pack 150 Series (BK)

Heated Oxygen Sensor (HO2S) - Bank 1 Sensor 2

Pin

Wire

Circuit

Function

A

TN

3121

HO2S Low Signal - Bank 1 Sensor 2

B

PU

3120

HO2S High Signal - Bank 1 Sensor 2

C

BK/WH

3122

HO2S Heater Low Control - Bank 2 Sensor 1

D

PK/BK

5294

Engine Main Relay Fused Control (5)

Heated Oxygen Sensor (HO2S) - Bank 2 Sensor 1


Object Number: 2015229  Size: CH

Connector Part Information

  • OEM: 12146046
  • Service: N/A
  • Description: 5-Way F Amp (GY)

Heated Oxygen Sensor (HO2S) - Bank 2 Sensor 1

Pin

Wire

Circuit

Function

A

TN/WH

3211

HO2S Low Signal Bank 2 Sensor

B

PU/WH

3210

HO2S High Signal Bank 2 Sensor

D

PK/BK

5293

Engine Main Relay Fused Control

E

L-GN

3212

HO2S Heater Low Control Bank 2 Sensor

Heated Oxygen Sensor (HO2S) - Bank 2 Sensor 2


Object Number: 280761  Size: CH

Connector Part Information

  • OEM: 12160825
  • Service: N/A
  • Description: 4-Way M Metri-Pack 150 Series (BK)

Heated Oxygen Sensor (HO2S) - Bank 2 Sensor 2

Pin

Wire

Circuit

Function

A

TN

3221

HO2S Low Signal Bank 2 Sensor

B

PU

3220

HO2S High Signal Bank 2 Sensor

C

OG/WH

3223

HO2S Heater Low Control Bank 2 Sensor

D

PK/BK

5294

Engine Main Relay Fused Control

Ignition Assembly/Pencil Coil 1


Object Number: 2015230  Size: CH

Ignition Assembly/Pencil Coil 1

Pin

Wire

Circuit

Function

A

PK/BK

5291

Ignition 1 Voltage

B

BK/WH

1451

Ground

C

BN

2129

Low Reference

D

D-GN

2125

Ignition Coil 5

E

L-BU

2123

Ignition Coil 3

F

PU

2121

Ignition Coil 1

G

OG

2127

Ignition Coil 7

Ignition Assembly/Pencil Coil 2


Object Number: 2015230  Size: CH

Ignition Assembly/Pencil Coil 2

Pin

Wire

Circuit

Function

A

PK/BK

5292

Ignition 2 Voltage

B

BK/WH

1451

Ground

C

BN/WH

2130

Low Reference

D

D-GN/WH

2124

Ignition Coil 4

E

L-BU/WH

2126

Ignition Coil 6

F

PU/WH

2128

Ignition Coil 8

G

OG/WH

2122

Ignition Coil 2

Knock Sensor (KS) Bank 1


Object Number: 1232999  Size: CH

Connector Part Information

  • OEM: 15374222
  • Service: N/A
  • Description: 2-Way F GT 150 Series, Sealed (WH)

Knock Sensor (KS) Bank 1

Pin

Wire

Circuit

Function

A

D-BU

496

Knock Sensor Signal (1)

B

GY

1716

Knock Sensor Low Reference (1)

Knock Sensor (KS) Bank 2


Object Number: 1232999  Size: CH

Connector Part Information

  • OEM: 15374222
  • Service: N/A
  • Description: 2-Way F GT 150 Series, Sealed (WH)

Knock Sensor (KS) Bank 2

Pin

Wire

Circuit

Function

A

L-BU

1876

Knock Sensor Signal (2)

B

GY

2303

Knock Sensor Low Reference (2)

Manifold Absolute Pressure (MAP) Sensor


Object Number: 684840  Size: CH

Connector Part Information

  • OEM: 12129946
  • Service: N/A
  • Description: 3-Way Metri-Pack 150 Series, Sealed (GY)

Manifold Absolute Pressure (MAP) Sensor

Pin

Wire

Circuit

Function

A

OG/BK

469

Low Reference

B

L-GN

432

Manifold Absolute Pressure Sensor Signal

C

GY

2704

5-Volt Reference

MAF/IAT Sensor


Object Number: 2015234  Size: CH

Connector Part Information

  • OEM: 1928403112
  • Service: N/A
  • Description: 5-Way F Bosch (BK)

MAF/IAT Sensor

Pin

Wire

Circuit

Function

A

YE

492

MAF Sensor Signal

B

BK/WH

1551

Ground

C

PK/BK

5290

Feed

D

BK

2760

Low Reference

E

TN

472

IAT Sensor Signal

Secondary Fuel Sender Assembly


Object Number: 684847  Size: CH

Connector Part Information

  • OEM: 12160482
  • Service: N/A
  • Description: 4-Way F Metri-Pack 150 Series Sealed (WH)

Secondary Fuel Sender Assembly

Pin

Wire

Circuit

Function

A

L-BU

1937

Secondary Fuel Level Sender Signal

B-C

--

--

Not Used

D

TN

2759

Fuel Tank Pressure Sender Low Reference

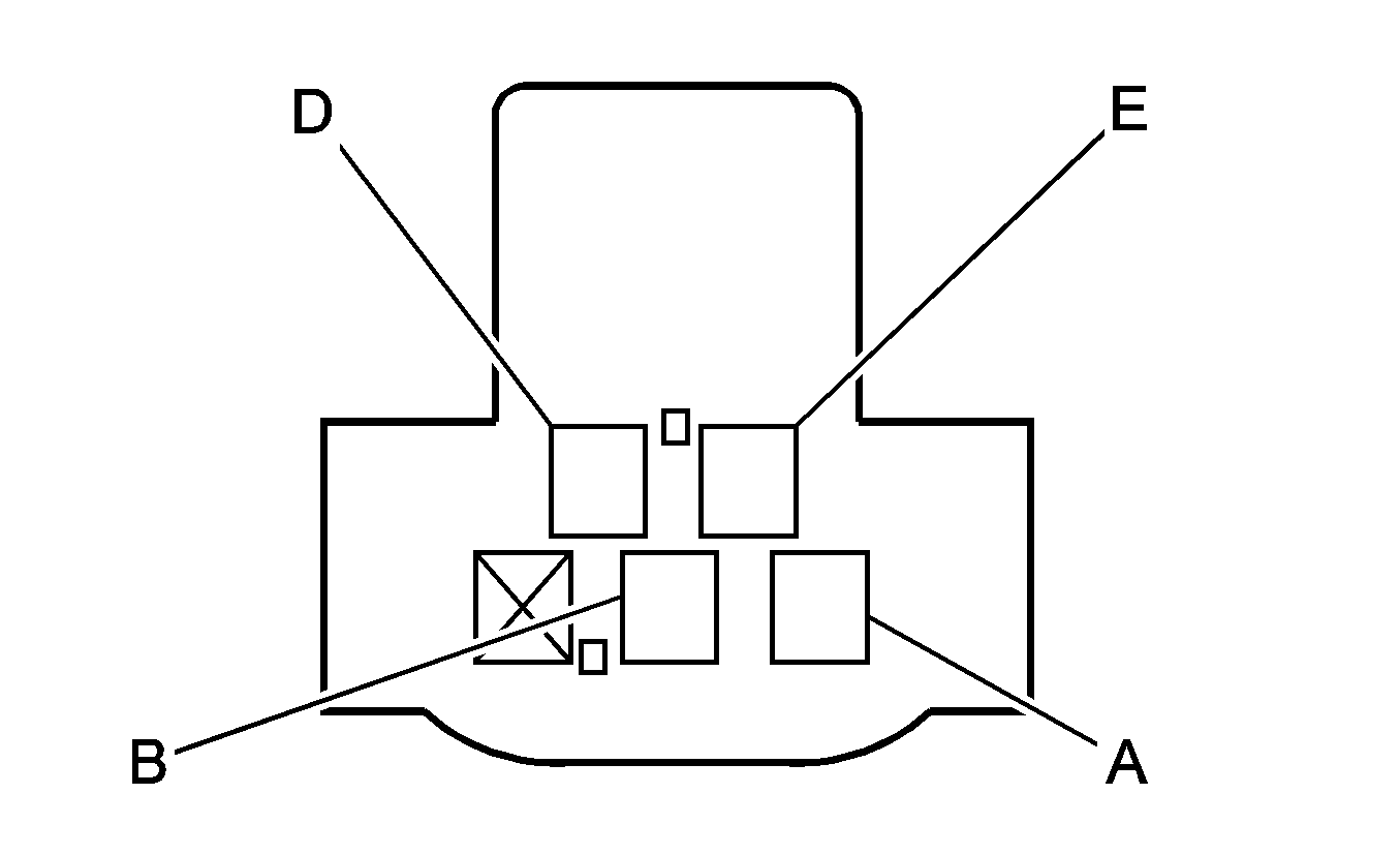
Throttle Body Assembly


Object Number: 2015236  Size: CH

Connector Part Information

  • OEM: 1-967616-1
  • Service: N/A
  • Description: 6-Way F Amp (BK)

Secondary Fuel Sender Assembly

Pin

Wire

Circuit

Function

A

BN

582

TAC Motor Control - Inverse

B

YE

581

TAC Motor Control - Obverse

C

TN

2752

Low Reference

D

D-GN

485

TP Sensor 1 Signal

E

GY

2701

5-Volt Reference

F

PU

486

TP Sensor 2 Signal