GM Service Manual Online
For 1990-2009 cars only
Table 1: Point-to-Point
Table 2: Underbody

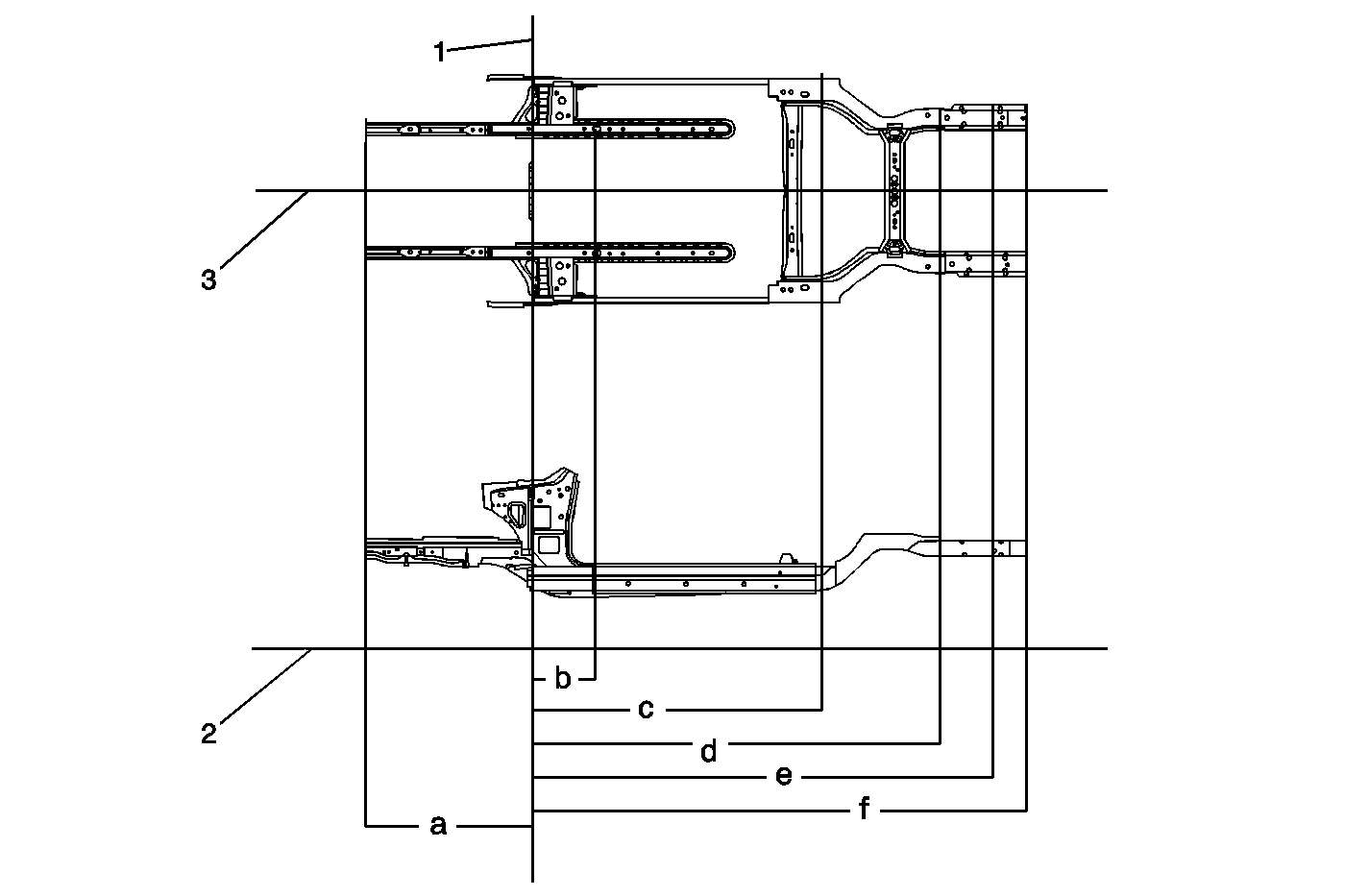
Object Number: 811130  Size: MF

Location

Description

Length

Width

Height

1

35.1 mm Gage Hole

0

829 mm

860 mm

2

Datum Line

0

0

0

a

Door Hinge Attach

78 mm

818 mm

612 mm

b

Door Hinge Attach

78 mm

807 mm

991 mm

c

Door Hinge Attach

1117 mm

826 mm

980 mm

d

Door Lock Striker Attach

1070 mm

804 mm

848 mm

e

Door Hinge Attach

1083 mm

832 mm

641 mm

f

Door Lock Striker Attach

2130 mm

808 mm

1008 mm

All dimensions are measured from a zero line, enter line, and a common datum. All dimensions are symmetrical unless otherwise specified.

Point-to-Point Measurements


Object Number: 796926  Size: MF

Point-to-Point

Location

Length

a

1053 mm

b

1082 mm

c

1365 mm

d

875 mm

e

943 mm

f

845 mm

g

1042 mm

h

898 mm

All dimensions are measured from a zero line, enter line, and a common datum. All dimensions are symmetrical unless otherwise specified.

Underbody


Object Number: 796925  Size: MF

Underbody

Location

Description

Length

Width

Height

1

35.1 mm Hole

0

829 mm

860 mm

2

Datum Line

0

0

0

a

10 mm Bumper Mounting

1272 mm

470 mm

602 mm

b

32 mm x 17 mm Gage Hole

245 mm

408 mm

334 mm

c

56 mm Cradle Attach

1815 mm

637 mm

425 mm

d

16 mm x 20 mm Gage Hole

2567 mm

495 mm

622 mm

e

16 mm x 20 mm Gage Hole

3093 mm

478 mm

6185 mm

f

18 mm Bumper Mounting

3256 mm

4785 mm

592 mm

All dimensions are measured from a zero line, enter line, and a common datum. All dimensions are symmetrical unless otherwise specified.